
FLEX 2.0™
Compact Folding Drone with HD Camera

INSTRUCTION BOOKLET
| WARNING: Never leave product charging unattended for extended periods of time. Always disconnect the battery from the charger immediately after the battery is fully charged. Please refer to the enclosed safety instructions. |
PACKAGE CONTAINS:

Colors and styles may vary slightly.
FEATURES
- The compact fold-in design allows for easy portability
- Air pressure sensor locks flight altitude for stable video footage
- Takes video and still pictures with onboard HD camera
- 6 axis gyro for extremely stable flight and maneuverability
- 3-speed settings for suit beginner to more advanced pilots
- Wide range digital radio allows flight range up to 91.44 m (300 ft)
REMOTE CONTROL BATTERY INSTALLATION
Unscrew and remove the battery cover from the back of the controller.- Install 4 fresh “AAA” alkaline batteries into the controller as shown in diagram A. Replace the battery cover.
- Turn over the controller and push the power button up.
If the power indicator turns on you have installed your batteries properly.
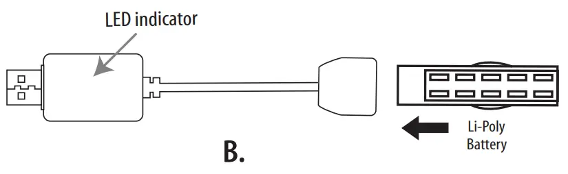
CHARGING THE FLEX 2.0™ LI-POLY BATTERY
- Insert the battery into the charger as shown (see diagram B).
- Connect the USB end of the cable to your computer’s USB port or a USB wall charger (see diagram C).
- Connect the battery to the socket on the USB charging cable, the red LED indicator will light off. When charging is completed, the red LED indicator will light on again.
- The average charging time is approximately 130-140 minutes ( via a 5.0V 2A USB wall charger). A fully
charged FLEX 2.0™ can fly for 8-10 minutes depending on environment and user input.
NOTE: You may purchase additional batteries and wall chargers at www.amaxbrands.com
IMPORTANT: ALWAYS REMEMBER TO UNPLUG YOUR CHARGING CORD WHEN NOT IN USE!
![]() | ![]() | ![]() |
INSTALL THE AIRCRAFT BATTERY
Put the battery into the battery compartment then lock the two ends with the battery locks. (see diagram D)
HOW TO EXPAND AND FOLD YOUR FLEX 2.0™
Before flying your FLEX 2.0™, you need to expand the foldable arms out. Turn your FLEX 2.0™ over, bottom side facing you, pull and expand the 4 arms as shown in the diagram below carefully. Make sure the arms are fully expanded to the position. After flying your FLEX 2.0™, it is recommended to fold all 4 arms back in. When expanding or folding your FLEX 2.0™, make sure to be gentle. (see diagram D2)

FLEX 2.0™ DIAGRAM

CONTROLLER DIAGRAM

WARNING
DO NOT FLY YOUR FLEX 2.0™ IN FOUL WEATHER!

FLIGHT PREPARATION
- Verify that there are 4 “AAA” batteries inside the remote control unit and the FLEX 2.0™ battery has been
fully charged. - Make sure to be in a large open space preferably a field or a park with an open radius of at least
60.96 m (200 ft). - Make sure to start your drone on a clean flat-level surface before take-off.
- IMPORTANT! Until you have experience in flying your FLEX 2.0™, it is not advised to use it at any rate of wind. Pick a day with zero wind or extremely light wind conditions when learning how to fly.
SYNCING YOUR FLEX 2.0™
Important! When syncing your FLEX 2.0™ with the controller always make sure that the drone is on a flat level surface and that your digital trim settings are in the center position.
- Before starting, make sure that the power on your controller is off and the battery is removed from the FLEX 2.0™. Make sure that there are no other 2.4G devices in the area.
- Insert the battery into the FLEX 2.0™ and set it down on a flat level surface. Push down the power button and hold for a few seconds (see diagram D1). The red and white LED lights on the drone should begin to flash rapidly.
- Quickly turn ON the remote and you will notice that the top red LED light on the face of the controller should also be flashing. The lights on the drone will flash slower.
- Push the throttle stick all the way up until it stops and then pull it back all the way down to the bottom(see diagram below). When pushing the stick up or pulling the stick down you should hear a high-pitched beep both ways. The indicating lights on the drone and controller will stop flashing and stay solid on. You have successfully synced your FLEX 2.0™ and are ready to fly. If this doesn’t happen, repeat steps 1-4 again.
- TIP 1: Try not to leave too much time between putting your battery into the drone and turning on the controller or your syncing window will time out.
- TIP 2: Syncing your drone indoors or in the shade will make it easier to see the LED light indicators on both the controller and the drone.

NOW YOU ARE READY TO FLY!
If you have successfully synced your FLEX 2.0™ to your controller as explained on page 4 you are now ready to fly. Before beginning to fly your drone you should familiarize yourself with how to start and stop the rotors, how to use your auto land feature and how the controls work so please carefully read and familiarize yourself with various control features explained in the next few pages. Once again as a beginner pilot you should learn how to control your drone in a large open field or park on a day with zero or very light wind. Do not try to fly your FLEX 2.0™ too high until you become a more experienced pilot.
RECOGNIZING THE FRONT & REAR OF THE FLEX 2.0™
Even though the FLEX 2.0™ has four rotors there is still a front or “forward” facing direction and “rear” or backward-facing direction. The front and forward-facing direction of the FLEX 2.0™ is the side with two white lights.(see diagram E ). The rear and backward-facing direction of the Quadrocopter is the side with one red (see diagram E).

STARTING/STOPPING THE ROTORS
Note: You can start/stop your FLEX 2.0™ manually or automatically. Please follow one of the steps below to operate accordingly. Make sure you have properly synced the FLEX 2.0™ and the power stays on.
MANUAL START/STOP

- To start the rotors simply move the two control sticks both down and out (see diagram), hold until the rotors start spinning. Now release both sticks to the neutral position and push the throttle up to take off.
- To stop the rotors, after starting the rotor you can simply wait about 10 seconds, and it will stop automatically. Or move both sticks down and out again to stop immediately. After take-off, you can simply pull the throttle all the way down and land.
AUTO START/LAND

The FLEX 2.0™ has an auto start/land feature which allows you to start/land automatically. Simply press the AUTO START / LAND button on the top of the controller and your FLEX 2.0™ will begin taking off/landing(see diagram below).
NOTE: You can still control the direction while auto-starting/landing to avoid obstacles.
The FLEX 2.0™ has 3-speed settings; 1 (SLOW), 2 (MEDIUM), and 3 (HIGH). The default setting when you first turn on your FLEX 2.0™ is the 1 (SLOW) speed mode. To increase the speed simply trigger the speed setting button (see remote diagram on pg 3) You will hear the beeping sound, 1 beeping sound indicates slow speed, 2 beeping sounds indicate medium speed and 3 beeping sounds indicate high speed. Speed settings can be set before flight or during the flight.
FLIGHT CONTROL
Below is a list of basic flight functions for your long-range remote to control the FLEX 2.0™. While learning to fly your FLEX 2.0™ it is best to start in a large space with the drone facing away from you until you get used to the basic controls. As you master flying your FLEX 2.0™ you can move to more advanced maneuvering techniques. Practice makes perfect!
| Move the left Throttle stick up to increase the propeller speed and the FLEX 2.0™ will accelerate and ascend. Move the left Throttle stick down to decrease the propeller speed and the FLEX 2.0™ will decelerate and descend (see the diagram I). | ![]() |
| While in the air, move the left Throttle stick left and the FLEX 2.0™ will rotate left. Move the left Throttle stick right and the FLEX 2.0™ will rotate right (see diagram J). | ![]() |
| While in the air, move the right Direction Stickup and the FLEX 2.0™ will move forward. Move the right Direction Control down and the FLEX 2.0™ will move backward (see diagram K). | ![]() |
| While in the air, move the right Direction Control left and the FLEX 2.0™ will bank to the left. Move the right Direction Control right and the FLEX 2.0™ will bank to the right (see diagram L). | ![]() |
FLIGHT PRACTICE
To master flying your aircraft try practicing the exercises shown below, start with simple vertical takeoffs, landings, and left/right turning and rotating. Once those are mastered, move on to square and cross maneuvers. Good luck and have fun!

ADJUSTING THE TRIM
NOTE: The FLEX 2.0™ is already properly trimmed and calibrated right out of the box and should not require any trim adjustments before flying. Some more experienced pilots may want to adjust trim settings for their style of flying. After several crashes, you may need to adjust trim settings for the FLEX 2.0™ to be more balanced.
Forward/Backward Trim

- If your FLEX 2.0™ drifts forward while in the air, push and release the FORWARD/BACKWARD TRIM button downward repeatedly until the motion stops and proper flight is maintained (see diagram M).
- If your FLEX 2.0™ drifts backward, push and release the FORWARD/BACKWARD TRIM button upward in the same manner until the problem is resolved.
Bank Right/Left Trim

- If your FLEX 2.0™ drifts/banks left while in the air, push and release the BANKS TRIM button to the right side repeatedly until the motion stops and proper flight is maintained (see diagram N).
- If your FLEX 2.0™ drifts right, push and release the BANKS TRIM button to the left side in the same manner until the problem is resolved.
Spin Left Trim

- If your FLEX 2.0™ spins left while in the air, push and release the LEFT/RIGHT TURN TRIM button to the right side repeatedly until the motion stops and proper flight is maintained (see diagram O).
Spin Right Trim

- If your FLEX 2.0™ spins right while in the air, push and release the LEFT/RIGHT TURN TRIM button to the left side until the problem is resolved (see diagram).
Throttle Trim

- Release the Throttle to hovering your FLEX 2.0™ in the air, if your FLEX 2.0™ keeps ascending, push and release the Throttle TRIM button downward repeatedly until the motion stops and proper flight is maintained (see diagram q).
- If your FLEX 2.0™ descend, push and release the Throttle TRIM button upward in the same manner until the problem is resolved.
EMERGENCY STOP: press the “speed setting button” and “stunt button” simultaneously to stop the drone blade from spinning. Use it when you lose control of your drone.
NOTE: The use of the Trim buttons utilizes sounds. A single long Beep indicates the product is center trimmed. When there’s no sound when press the trim means the product is trimmed to the maximum on a particular side.
CALIBRATING THE FLEX 2.0™
NOTE: Your FLEX 2.0™ comes pre-calibrated out of the box so you are ready to fly.
After several crashes and shocks to your gyro sensors, you may notice that your drone is drifting and can not hold its center position as well as it used to.
This most likely means that you need to recalibrate your FLEX 2.0™. Please follow the simple instructions below.
- Place the FLEX 2.0™ on a flat level surface
- Make sure the FLEX 2.0™ is on and that the controller is synced (refer to syncing pg 4). Do not start the blades. Instead, move both the throttles and control stick down and to the right corner and hold them there for 5 seconds(see diagram R). You will see the lights on the drone rapidly flash and stop. Once the lights stop flashing you have completed your calibration and are ready to fly!
TROUBLESHOOTING: If you do not see the lights flash, first remove the battery from the drone then turn off your controller and start again. Always make sure to put your battery in first, then turn on your controller.
Push the left throttle stick up all the way and then pull back down again. When you hear the beep the FLEX 2.0™ is synced to the controller and you are ready to calibrate.

HOW TO PERFORM 360º STUNT ROLLS
Performing 360º stunt rolls with the FLEX 2.0™ is as easy as 1-2-3:
- Hover the FLEX 2.0™ in still position making sure that you have at least 5 feet of clearance above and below the quadrocopter. Set the speed settings to mode 2 or 3.
- Press the 360 stunt button down and you will enter the stunt roll mode which is indicated by rapid beeping (see diagram S) sounds.
- Determine which direction you want it to flip and quickly push the right control stick in the direction you want to flip your FLEX 2.0™ (see diagram T). You have 2 choices a) Right side roll, b) Left side roll.

NOTE: To exit the stunt roll mode without flipping, you can press the button again. The beeping sound will stop.
LIVE VIDEO STREAMING SETUP
Your FLEX 2.0™ comes equipped with an onboard digital camera that takes both video and still photographs to your mobile devices.
WHAT YOU WILL NEED TO GET STARTED USING YOUR CAMERA
- One Apple or Andriod phone* (not included)
- Propel 1890 APP installed (app store or Andriod market available)
PHONE HOLDER AND PHONE INSTALLATION
Insert the included phone holder hook (a) to the slots on the top of the controller properly, see the illustration below, When you install the phone holder correctly you can use it to hold your phone (see diagram U)

PROPEL FLEX 2.0™ WiFi APP INSTALLATION
- Make sure you are using a compatible Android™ or Apple® iOS device.
- Make sure your device has access to the Internet.
- For Apple® iOS devices, within the App Store, search and select “ Propel 1890 ”. Hit the Install button and the “Propel 1890 ” App should download and install automatically.
- For Android™ OS devices, visit the Google Play store and search for “Propel 1890 ”. Selecting the “Propel 1890 ” App will download the App and automatically install it on your device.
- After the “Propel 1890” App is installed, it should create an icon on your screen. Click the “Propel 1890” icon to run the App to make sure that it has been installed correctly on your device. If not, please delete and repeat the process again.
PAIRING FLEX 2.0™ TO YOUR COMPATIBLE DEVICE
- After completely charging your FLEX 2.0™ battery, install the battery to your FLEX 2.0™ (refer to the user manual).
- In the Settings menu of your device, locate the Wi-Fi option.
- Turn ON the Wi-Fi option.
- Select “Propel 1890” from the Wi-Fi list. The password is the 8 numbers that are attached to the Propel WiFi network. Enter the numbers to activate your account. Return to the Main Menu.

Note: Apple® devices require the use of iOS 7.0 or higher.
ANDROID™ devices require the use of OS 4.2.2 or higher.
QUICK START
- After you install the App correctly and have paired it to the drone successfully, you can open the “Propel 1890” App icon. Tap “START” on the bottom right-hand side of the screen. You should see real-time video streaming from your FLEX 2.0™ ‘s camera.
- This App also allows you to control your FLEX 2.0™ by your mobile device. To activate the control sticks, tap the “ON” button at the top right-hand side of the screen. This will switch the control from your traditional controller to your compatible device. Now click“
” to start the motors. The control sticks will show up on the screen for your fly control and you can now use your device as a traditional controller. Or you can click “
” to auto-launch your FLEX 2.0™ in the air and then use your device as a traditional controller. Click this button again, your FLEX 2.0™ will automatically land on the floor. - You can click “
” to take still pictures. Pictures will be stored on your mobile device. To record videos, you can click “
”. There will be a timer start running on the screen, indicating the recording is on. The video footage will also be stored on your mobile device. Click “
” you can see 2 folders, LAUNCH A LAND pictures and videos, you can find the pictures and videos you took with your FLEX 2.0™.
DETAILED APP OVERVIEW
Please see the images below for a detailed App overview. This overview is also available under the “HELP” icon on the home screen of the App.
![]() |
![]() |
![]() |
If you’re still encountering difficulties please contact our customer service department at www.amaxbrands.com
TROUBLESHOOTING YOUR FLEX 2.0™
| PROBLEM | POSSIBLE CAUSE | POSSIBLE SOLUTION |
| No power | 1. Power switched off 2. Polarity is reversed 3. Batteries may be low or in need of charging | 1. Switch the ON/OFF switch to ON |
| Aircraft not responding | 1. Remote is switched off 2. Battery power in remote is too weak 3. The remote is not properly synced 4. Out of control range | 1. FLEX 2. OTM the ON/OFF FLEX 2. OTM to ON 2. Replace remote batteries 3. Re-sync the remote 4. Do not fly beyond 152.4 m (500 ft) |
| Aircraft won’t lift off | 1. Rotor speed too slow 2. Aircraft not fully charged 3. Obstruction of rotors | 1. Push throttle lever forward 2. Recharge your FLEX 2.OTM 3. Check rotors for hair or other obstructions |
| Aircraft spins, cannot be trimmed? | Rotor deformation or bad motor | Replace the damaged rotor (You may need to consult with a Propel customer service personnel) |
| Aircraft tilt in one direction | The aircraft did not calibrate properly | Restart the aircraft and controller, properly calibrate it on a flat level surface |
| Altitude hold height is not stable (up and down constantly) | Aircraft vibrates too much | Check the propeller deformation |
REPLACING THE PROPELLER BLADES
Your FLEX 2.0™’s propeller system is a precision instrument that may need repair or replacement from time to time for optimal flight function. Crashlanding at high speed may cause damage to your FLEX 2.0™’ propellers.
- The FLEX 2.0™ has four sets blades, two sets blades with indication numbers B & A on the front, and two sets of blades with indication numbers A & B on the rear (see diagram V).
- When replacing the propeller blades, make sure to match the indication markings on the blades.
- Unscrew and take off the damaged blade.
- Replace with the new correct blade.


- Click the blade guard into the place and then secure it with the screw.

FLEX 2.0™ WARNING:
The FLEX 2.0™ is designed for OUTDOOR use. The FLEX 2.0™’s blades revolve at high speeds and can cause damage to the user, spectators, and animals. Stand away from the FLEX 2.0™ to reduce the risk of getting into the flight path. Warn spectators that you will be flying your FLEX 2.0™ so that they are aware of its position. Before the flight, inspect the rotor blades to make certain that the blades are securely fastened to the FLEX 2.0™.
WARNING!
- Choking/Cutting Hazard. Small Parts/Sharp Rotor Blades.
- Keep hands, hair, and loose clothing away from the propeller when the power FLEX 2.0™ is turned to the ON position.
- Turn off the transmitter and FLEX 2.0™ power FLEX 2.0™es when not in use.
- The included charger is built specifically for the FLEX 2.0™ Li-Poly battery. Do not use it to charge any other battery.
- New alkaline batteries are recommended for maximum performance.
- Parental supervision is recommended when flying FLEX 2.0™.
BATTERY WARNINGS
RECHARGEABLE BATTERY:
This FLEX 2.0™ uses a Li-Poly rechargeable battery. If the battery no longer stays charged, dispose of the battery properly according to local disposal requirements.
CONTROLLER BATTERIES:
Remote control requires 4 “AAA” batteries (included).
Please read the important battery safety warning below.
- Do not mix alkaline, standard (carbon-zinc), and rechargeable batteries (Nickel Metal Hydride).
- Do not mix old and new batteries.
- Non-rechargeable batteries are not to be recharged.
- Rechargeable batteries are to be removed from the item before being charged (if removable).
- Rechargeable batteries are only to be charged under adult supervision.
- Exhausted batteries should be removed immediately and must be recycled or disposed of properly according to state or local government ordinances and regulations.
- The supply terminals are not to be short-circuited.
- Only batteries of the same or equivalent type as recommended are to be used.
- Batteries are to be inserted with the correct polarity (see inside booklet for diagram).
- Do not dispose of batteries in a fire – batteries may leak or explode.
CARE AND MAINTENANCE
- Always remove the batteries from the wireless remote control when it is not being used for an extended period of time.
- To clean, gently wipe the remote control and FLEX 2.0™ with a clean damp cloth.
- Keep the toy away from direct heat or sunlight.
- Do not submerge the toy into the water. This can damage the unit beyond repair.
- Parental guidance is recommended when installing or replacing the batteries.
Limited 90-Day Warranty
NORTH AMERICA
AMAX Group USA warrants to the original consumer that this product is free from any electrical or mechanical defects for a period of 90 DAYS from the date of purchase. If any such defect is discovered within the warranty period, AMAX Group USA will repair or replace the unit free of charge upon receipt of the unit, shipped postage prepaid, and insured to our warranty center ALONG WITH THE ORIGINAL RECEIPT evidencing that the product was purchased from an approved AMAX retail partner and that the product is still within the 90 day warranty period. The warranty covers normal consumer use and does not cover damage that occurs in shipment or failure that results from alterations, accident, misuse, abuse, neglect, wear and tear, inadequate maintenance, commercial use, or unreasonable use of the unit. Removal of any parts/components voids all warranties. This warranty does not cover the cost of repairs made or attempted outside by third-party individuals or companies. Any applicable implied warranties, including warranties of merchantability and fitness, are hereby limited to 90 DAYS from the date of purchase. Consequential or incidental damages resulting from a breach of any applicable express or implied warranties are hereby excluded. Some states do not allow limitations on the duration of implied warranties and do not allow exclusion of incidental or consequential damages, so the above limitations and exclusions in these instances may not apply.
REPAIR/REPLACE PRODUCT
If your product begins to malfunction or stop working, immediately contact our warranty center (contact details listed below). If it is determined that a return is necessary, our warranty department will issue you an RMA number/form and an address to the nearest return center for shipping the product to us. When honoring the warranty, AMAX reserves the right to either repair, replace or refund the product.
IMPORTANT NOTICE:
We will reject and return to sender returns that are not accompanied by an AMAX-issued RMA form and RMA number so make sure to contact our warranty center before attempting to return your product!
PREPARATION FOR SHIPPING YOUR PRODUCT:
Please repack your product in a durable box, preferably in the original carton, and send it prepaid, and adequately insured. Include the RMA form that was issued by our warranty department along with your daytime telephone number and email address inside the shipping carton. If your warranty has expired and you still require service please contact our customer care team For further information please send all inquiries to:
[email protected]
IMPORTANT NOTICE!
DO NOT ATTEMPT TO SHIP YOUR PRODUCT BACK
WITHOUT FIRST CONTACTING OUR WARRANTY
DEPARTMENT AT:
www.amaxbrands.com
Email: [email protected]
Phone 1-866-360-1510
Unscrew and remove the battery cover from the back of the controller.






























