

IGS100K/IGS100M
ALL-ENVIRONMENT, IN-GROUND, OUTDOOR SUBWOOFER
QUICK START INSTALLATION AND SETUP GUIDE
Specifications are subject to change without notice.
© 2017 Bogen Communications, Inc.

IGS100K/IGS100M
ALL-ENVIRONMENT, IN-GROUND, OUTDOOR SUBWOOFER
The NEAR* IGS100K/M Subwoofer provides the highest fidelity and easiest installation of any outdoor subwoofer in its class. With an extraordinarily flexible wiring scheme, the IGS100K/M is easy to integrate into any outdoor audio system. A dual voice coil woofer allows for independent left and right stereo channel or parallel mono operation. The very latest in outdoor sound technology is included in the IGS100K/M woofer: Upside Down/inside Out (UDIO) woofer technology. This unique design combines the proven Metal Diaphragm Technology (MDT) with a dome-shaped diaphragm instead of the traditional cone shape; and a new voice coil design with windings on the outside as well as the inside of the aluminum former. Many performance advantages, such as low distortion and deep, ground rattling bass, are the result of NEAR’ s long track record of leading the industry when performance and durability are needed.
Dispersion of the IGS100K/M is a full 360 degrees! This means that the orientation of the subwoofer, whether mounted in-ground or on-ground, is not critical. However, by design the frequency response is smoother and better defined when the enclosure is mounted in the ground. This mounting method also ensures a high level of security. The earth around the enclosure makes the enclosure walls more solid and less resonant to deliver highly impactful low coloration sound. The bass vent is accurately tuned to deliver solid, well-defined low frequencies. A perforated aluminum screen within the vent prevents entry of insects, debris and small animals. Water may enter the vent, but the woofer shape and built-in water channels allow water to drain out of the enclosure.
With the NEAR IGS100K/M you can enjoy truly deep, solid bass, any time of year, in any kind of weather.
NEAR IGS100K/M Subwoofer Features
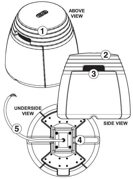
- NEAR Designed 10-inch UDIO Woofer, with Metal-Alloy Diaphragm and MLS Voice Coil Guidance System (internal)
- Ultra-rugged Molded Enclosure with UV Inhibitors
- Tuned Vent with Protected Screen Covering
- Wiring/Conduit Channels (underside)
- Integral Input Connection Cable for Easy Access Wiring
In-ground Burial of IGS100K/M Subwoofer
When preparing an IGS100K/M subwoofer for burial, select an area that allows depth needed for the enclosure plus 6-inches to allow for a layer of crushed stone or gravel. In most cases, the hole should be dug to a level of 15-20 inches. The lower edge of the bass Output Vent should be 2-3 inches (50-75mm) above ground level as illustrated here.
A layer of mulch or loose stone may be added up to the lower edge of the vent as long as it allows water to flow through. Although the enclosure is designed to drain water that may enter the enclosure through the vents, it is best to prevent water from entering the enclosure in the first place. If the subwoofer is in a location where water may flow around it during heavy rains, raise the subwoofer another 2-3 inches (50-75mm) above ground level. Before placing the IGS100K/M in the hole, place a layer of permeable landscape fabric between the crushed drainage stone and the subwoofer.
In-ground installation and Connexion of an IGS100K/M Subwoofer
Direct Burial of Cable or Conduit Depending on the type of installation, direct burial of speaker cables from the amplifier to the subwoofer may be adequate, or the use of a 1” to 1-1/2” ID conduit may be required for protecting wires from possible physical damage if future excavation or other alterations are anticipated in the area of the installation. An IGS100K/M can accommodate either method, including the entry and exit conduits sliding conveniently under the bottom of the enclosure through the subwoofer’s provided wire conduit channels. IDE OF 10/M FER ’IE-1 DIRECT BURIAL FUNCTION BOX
Connections can be protected using one of the following methods:
- RECOMMENDED: Optional NEAR Model IE-1 Direct-Burial Junction Box (IP67 Rated) for convenient access to connections
- Solder connection wires together and use waterproof heat shrink tubing to seal.
- Using Grease Wire Caps, which are available from several suppliers (Orbit, Toro Irrigation, etc.).

IGS100K/M Wiring Schematic

Wiring a MONO SYSTEM with IGS100K/M on Channel A, Satellite Speakers on Channel B

Wiring a STEREO SYSTEM with IGS100K/M on Channel A, Satellite Speakers on Channel B

LIMITED WARRANTY: Exclusion of Certain Damages
The NEAR” IGS100K/M Subwoofer is warranted to be free from defects in material and workmanship for 5 (five) years from the date of sale to the original purchaser. Any part of any NEAR product covered by this warranty that, with normal install action and use, becomes defective (as confirmed by Bogen upon inspection) during the applicable warranty period, will be repaired or replaced by Bogen, at Bogen’s option, provided the product is shipped insured and prepaid to: Bogen Factory Service Department: 4570 Shelby Air Drive, Suite 11, Memphis, TN 38118, USA. Repaired or replacement product will be returned to you freight prepaid. This warranty does not extend to any of our products that have been subjected to abuse, misuse, improper storage, neglect, accident, improper installation, or have been modified or repaired or altered in any manner whatsoever, or where the serial number or date code has been removed or defaced.
THE FOREGOING LIMITED WARRANTY IS BOGEN’S SOLE AND EXCLUSIVE WARRANTY AND THE PURCHASER’S SOLE AND EXCLUSIVE REMEDY FOR NEAR PRODUCTS. BOGEN MAKES NO OTHER WARRANTIES OF ANY KIND, EITHER EXPRESS OR IMPLIED, AND ALL IMPLIED WARRANTIES OF MERCHANTABILITY OR FITNESS FOR A PARTICULAR PURPOSE ARE HEREBY DISCLAIMED AND EXCLUDED TO THE MAXIMUM EXTENT ALLOWABLE BY LAW. Bogen’s liability arising out of the manufacture, sale or supplying of NEAR products or their use or disposition, whether based upon warranty, contract, tort, or otherwise, shall be limited to the price of the product. IN NO EVENT SHALL BOGEN BE LIABLE FOR SPECIAL, INCIDENTAL, OR CONSEQUENTIAL DAMAGES (INCLUDING, BUT NOT LIMITED TO, LOSS OF PROFITS, LOSS OF DATA, OR LOSS OF USE DAMAGES) ARISING OUT OF THE MANUFACTURE, SALE, OR SUPPLYING OF NEAR PRODUCTS, EVEN IF BOGEN HAS BEEN ADVISED OF THE POSSIBILITY OF SUCH DAMAGES OR LOSSES. Some states do not allow the exclusion or limitation of incidental or consequential damages, so the above limitation or exclusion may not apply to you. This warranty gives you specific legal rights, and you may also have other rights which vary from State to State.
NEAR products that are out of warranty will also be repaired by the Bogen Factory Service Department — same address as above or call 201-934-8500. The parts and labor involved in these repairs are warranted for 90 days when repaired by the Bogen Factory Service Department. All shipping charges in addition to parts and labor charges will be at the owner’s expense. All returns require a Return Authorization number. For the most efficient warranty or repair service, please include a description of the failure.
Products manufactured and labeled by other companies may be covered by warranties offered by such companies. Please call Bogen Customer Service or refer to the product packaging for the manufacturer’s warranty for non-NEAR branded products.
YOU MUST ACCURATELY FOLLOW THE INSTRUCTIONS FOR ALL THE PARTS INVOLVED IN THIS INSTALLATION. FAILURE TO DO SO CAN CAUSE SERIOUS INJURY OR DEATH TO YOURSELF OR OTHERS AND MAY EXPOSE YOU TO POSSIBLE LEGAL ACTION.
www.bogen.com
NEAR® is a Division of Bogen Communications, Inc.
In-ground Burial of IGS100K/M Subwoofer
















