
Instruction Manual
and Owner’s Guide
Model: F-7345WH/F-7345BK

![]()
INFORMATION HOTLINE: If, after reading this owner’s guide, you have any questions or comments, please feel free to write us or call us at 1-888-672-5832 or e-mail us at [email protected]. Our customer service representative will be happy to help you.
IMPORTANT INSTRUCTIONS:
Thank you for choosing an Optimus fan. To ensure the best performance from your Fan, please read and save the following instructions.
WHEN USING ELECTRICAL APPLIANCES, BASIC PRECAUTIONS SHOULD ALWAYS BE FOLLOWED TO REDUCE THE RISK OF FIRE, ELECTRIC SHOCK, AND INJURY TO PERSONS, INCLUDING THE FOLLOWING:
- Read all instructions before using this product.
- Use this fan only as described in this manual. Any other use not recommended by the manufacturer may cause fire, electrical shock or injury, and may void the warranty.
- Always unplug the unit before assembling, disassembling or cleaning.
- Always unplug the unit when not in use or when moving from one location to another.
- To disconnect, grip the plug and pull it from the wall outlet. Never yank the cord.
- The use of attachments not recommended or sold by the appliance manufacturer may cause hazards.
- Avoid contact with moving parts.
- DO NOT operate this fan with a damaged cord or plug, after a malfunction, or is dropped or damaged in any manner. Return the unit to Optimus Enterprise, Inc. for examination, electrical or mechanical adjustment, or repair.
- DO NOT operate this fan in the presence of explosive and/or flammable fumes.
- DO NOT place the fan or any parts near an open flame, cooking, or other heating appliance.
- Extreme caution is necessary when the fan is used by or near children or invalids and whenever the fan is left operating and unattended.
- This product is intended for household use only and not for commercial or industrial use. DO NOT use outdoors.
- Always use on a dry level surface.
- DO NOT operate if the fan housing is removed or damaged.
- A loose fit between the AC outlet and plug may cause overheating of the plug. Have a qualified electrician replace the outlet.
- DO NOT run cord under carpeting. Do not cover cord with throw rugs, runners, or like.
Arrange cord away from traffic area and where it could be tripped over. - This fan is equipped with a polarized alternating-current line plug (a plug having one blade wider than the other). This plug fits into the power outlet only one way. This is a safety feature. If you are unable to insert the plug fully into the outlet, try reversing the
plug. If the plug should still fails to fit, contact an electrician to replace the obsolete outlet. DO NOT defeat the safety purpose of the polarized plug. - This product employs overload protection (fuse). A blown fuse indicates an overload or short-circuit. If the fuse blows, unplug the product from the outlet. Replace the fuse as per the Maintenance Instructions (follow product marking for proper fuse rating). If the replacement fuse blows, a short-circuit may be present and the product should be discarded or returned to Optimus Enterprise, Inc. for examination and/or repair.
- NEVER connect the fan to any power sources other than a 120 volt alternating current polarized outlet.
- WARNING: To reduce the risk of electric shock. DO NOT use this fan with any solid-state speed control and DO NOT insert a finger or any object into the grill.
SETTING UP
- Carefully remove your fan from the box (please save the carton for off-season storage).
- Make sure the unit is in the OFF position before plugging the unit into the outlet.
FUNCTIONS & OPERATION
- Plug in the product, the power light will be lit.
- Click this button, the fan will turn on. Clicking the button again will turn the unit off.
- Speed: Click this button to select the speed of low-high
- Swing: Click this button to use the swing function. Click it again to stop the swing function.

CLEANING
During Season Care:
- Before cleaning, be sure to turn off and unplug the unit.
- Keep the fan clean. Carefully wipe the unit with a soft, damp cloth. Please be very cautious
near the motor. - DO NOT immerse the fan in water and never allow water to drip into the Motor Housing.
- Never use gasoline, benzine, or thinner. This will damage the surface of the unit.
- After cleaning, be sure to completely dry the unit with a cloth or towel.
After Season Care:
- Your fan can be stored in the off-season.
- Before putting the fan in storage, clean it thoroughly, cover it with a vinyl bag, and store it in a cool and dry place. We recommend using the original (or appropriately sized) box.
MAINTENANCE INSTRUCTIONS:
A loose fit between the AC outlet and plug may cause overheating of the plug. If the plug overheats, it might cut off the fuse inside the power cord plug.
If your fuse access cover is located on the side of the plug:
- Grasp plug and remove from the receptacle or other outlet device. Do not yank the cord to unplug.
- Select a suitable tool such as a small flat screwdriver or travel scissors.
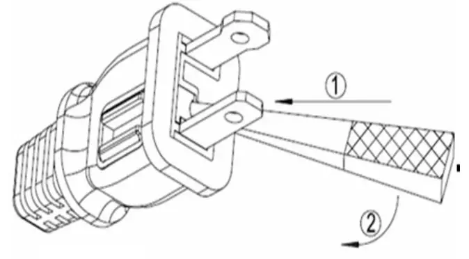
- To open the fuse cover. Slide open fuse access cover on top of attachment plug toward blades. (see fig.1)
- Carefully remove the fuse by prying it out. (see fig.2)
- The risk of fire can result from using the wrong fuse rating. Replace fuse only with 2.5 Amp, 125 Volt rating.
- To close the fuse access cover. Slide to close access cover on top of attachment plug. (see fig.3)

If your fuse access cover is located on the face of the plug:
- Grasp plug and remove from the receptacle or other outlet device. Do not yank the cord to unplug.
- Select a suitable tool such as a small flat screwdriver or travel scissors.
- To open the fuse cover. Press the tool down, and then pry the protection door off of the face of the plug. (see fig. #1)
- Continue to remove the protection door until you can access the fuse below. (see fig. #2)
- Carefully remove the fuse by prying it out.
- The risk of fire can result from using the wrong fuse rating. Replace fuse only with 5Amp, 125 Volt rating.
- To close the Close fuse cover. Push the protection door back onto the face of the plug and press it securely in place.

SERVICE AND REPAIR:
- Do not attempt to repair or adjust any electrical or mechanical functions on this unit. Doing so will void the warranty.
- If you have any questions regarding this unit’s operation or believe any repair is necessary, please call 1-888-672-5832 to speak with a Customer Service Representative. Or e-mail us at [email protected]. An E-mail will be easier to get answers.
- If you need to exchange the unit, please return it, in its original carton with a sales receipt enclosed, to the store where you purchased the unit.
- If you are returning the unit more than 30 days after the date of purchase, please see the enclosed warranty for the return procedure.
- If you have any other questions or comments, feel free to write us: Optimus Enterprise, Inc.
Customer Service Department
2201 E. Winston Road, Unit #J. Anaheim, CA 92806
E-mail: [email protected]
WARRANTY
For your own records, staple or attach your sales receipt to this manual. Please also write the store name /location and date purchased below.
STORE NAME/LOCATION:______________________
DATE PURCHASED:______________________________
ONE (1) YEAR LIMITED WARRANTY (SAVE THIS WARRANTY INFORMATION)
Optimus Enterprise. Inc, warrants to its customers and /or consumer of this electric fan and the parts thereof will be free from defect in material and workmanship, under normal use, for a period of one (1) year from the date of initial purchase. The warranty does not apply to repairs necessitated by damage, misuse, abuse, or alteration and to any repairs of merchandise not used within the United States unless otherwise prescribed by law. Optimus Enterprise, Inc, shall not be liable for any personal injury, property damage or any incidental or consequential damages of any kind (including water damage) resulting from malfunctions, defects, misuse, improper installation or alteration of this product. This warranty is the only warranty extended by Optimus Enterprise, Inc, to its original customers and /or consumers purchasing fans, Optimus Enterprise, Inc, disclaims all other warranties, expressed or implied, that arise by the operation of law, specifically including the implied warranties of merchantability and fitness for a particular purpose. Optimus Enterprise, Inc, shall not be liable for any incidental or consequential damage, which may have resulted from any alleged breach of warranty. Some states do not allow limitations on how long implied warranty lasts or the exclusion or limitation of consequential damage, so the above limitations or exclusion may not apply to you. This warranty gives you specific legal rights you may also have other rights which vary from state to state.
Should the fan fail during the warranty period, the owner should:
- Within the first 30 days from the date of purchase, the store from which you purchased your Optimus product should replace this product if it is defective in material or workmanship (provided the store has in-stock replacement).
- Within the first 12 months from the date of purchase, Optimus Enterprise, Inc, will repair or replace the product if it is defective in material or workmanship providing it is returned to Optimus Enterprise, Inc. with freight prepaid, with evidence of purchase date (cash register receipt) together with US$12.00 CHECK OR MONEY ORDER for handling and return packaging/shipping charges.
IMPORTANT: ANY REPAIRS SHOULD BE PERFORMED BY AN AUTHORIZED SERVICE REPRESENTATIVE. DO NOT ATTEMPT TO REPAIR THIS FAN YOURSELF. DOING SO MAY VOID YOUR WARRANTY.
PLEASE RETAIN THIS WARRANTY AND SALES RECEIPT TO ENSURE YOUR PRODUCT WARRANTY.
IMPORTANT: RETURN INSTRUCTIONS:
Your warranty depends on your following these instructions if you are returning the unit more than 30 days after the date of purchase:
- Carefully pack the fan in the original container or a suitable container to avoid damage in shipping.
- Seal the carton. Address an envelope as follows: Optimus Enterprise, Inc.
2201 E. Winston Road, Unit #J
Anaheim, CA 92806 - Inside the envelope, enclose your name, full address with zip code, daytime phone number, evidence of purchase date (cash register receipt), AND A CHECK OR MONEY ORDER for handling and return packaging/shipping charges. Please also include a brief explanation of the problem you are having with the unit.
- Optimus Enterprise, Inc. recommends you insure the package as damage in shipments is not covered by your warranty.
- All shipping/ handling charges must be prepaid by you (as noted as above).
















