FORTE 450 Series FFD27ESSSS 36-Inch French Door Refrigerator 
Important Safet Instructions
General safety and daily use
It is important to use your appliance safely. We recommend that you follow the guidelines below.Store any food in accordance with the storage instructions from the manufacturer.
- Don’t try to repair the appliance yourself. It is dangerous to alter the specifications or modify this product in any way. Any damage to the power cord may cause a short circuit, fire or electric shock.
- Don’t place too much food directly against the air outlet on the rear wall of both the refrigerator and freezer compartment, as it affects sufficient air circulation.
- Don’t place hot items near the plastic components of this appliance.
- Frozen food must not be refrozen once it has been thawed out.
- Don’t store bottled or canned drinks (especially carbonated drinks) in the freezer compartment. Bottles and cans may explode.
- Use caution consuming popsicles or ice cubes straight from the freezer as this can cause freezer bum to the mouth and lips.
Safety for children and infirm persons
- Keep all packaging away from children to avoid risk of suffocation.
- Protect children from being scalded by touching the compressor at the rear bottom of appliance.
- Don’t place items on top of the appliance as this could cause injury should they fall off.
- Never allow children to play with the appliance by hanging or standing over or on the doors, racks, shelves and drawers etc.
Electrical Safety
- To avoid the risks that are always present when using an electric appliance, we recommend that you pay attention to the instructions about electricity below.
- Unpack and check through the appliance. Should any damage be evident, don’t plug in the appliance but contact the shop immediately from which you purchased it. Keep all packing materials in this case.
- we recommend that you wait for 4 hours before connecting the appliance to allow the refrigerant to flow back into the compressor.
- The appliance must be applied with single phase alternating current of 110~115V/60Hz.
- If the voltage fluctuates exceeding the upper limit, AC. automatic voltage regulator of more than 350W should be applied to the refrigerator for safety use.
- The power plug must be accessible when the appliance is installed.
- This appliance must be grounded.
- This appliance is fitted with a plug, in accordance with local standard. The plug should be suitable for use in all houses fitted with sockets in accordance with current specifications.
- If the fitted plug is not suitable for your socket outlets, it should be cut off and carefully disposed of. To avoid a possible shock hazard, do not insert the discarded plug into a socket.
- If in doubt contact a qualified, registered electrician.
- Do not use extension cords or multiple sockets which could cause overloading of wiring circuits and could cause a fire.
- Always plug your appliance into its own individual electrical socket which has a voltage rating that matched the rating plate.
- Make sure that the plug is not squashed or damaged. Otherwise, it may cause short circuit, electric shock or overheat and even cause a fire.
- Do not insert the power plug if the socket is loose, there is a risk of electric shock or fire.
- Switch off the appliance and disconnect it from the main power before you clean or move it.
- Never unplug the appliance by pulling on the electrical cord. Always grip the plug firmly and pull straight out from the socket to prevent damaging the power cord.
- Do not operate the appliance without the cover of interior lighting.
- Any electrical component must be replaced or repaired by a qualified electrician or authorized service engineer. Only genuine replacement parts should be used.
- Do not use electrical appliances such as ice cream makers inside the food storage compartments of the appliance unless they are approved by the manufacturer.
- To avoid eye injury, do not look direct into the LED light located in the refrigerator compartment.
- If it is not functioning correctly, consult a qualified, registered electrician or replace it in accordance with the “cleaning and care” chapter.
Refrigerant
- The refrigerant isobutene (R600a) is contained within the refrigerant circuit of the appliance.
- During transportation and installation of the appliance, ensure that none of the components of the refrigerant circuit becomes damaged.The refrigerant (R600a) is flammable.
Caution: Risk of Fire
- Don’t store products which contain flammable propellants (e.g. spray cans) or explosive substances in the appliances.
Should the refrigerant circuit be damaged:
- Avoid open flames (candles, lamps etc.)and sources of ignition.
- Thoroughly ventilate the room in which the appliance is situated.
installing Your New Appliance
- Before using the appliance for the first time, you should be informed of the following tips.
Warning
For proper installation, this refrigerator must be placed on a level surface of hard material that is the same height as the rest of the flooring. This surface should be strong enough to support a fully loaded refrigerator.The rollers, which are not castors, should be only used for forward or backward movement. Moving the refrigerator sideways may damage your floor and the rollers.
Ventilation of appliance
IN ORDER TO IMPROVE EFFICIENCY OF THE COLLING SYSTEM AND SAVE ENERGY,IT IS NECCESERY to maintain good ventilation around the appliance for the dissipation of heat. For this reason, sufficient clear space should be available around the refrigerator.
Suggestion:
It is advisable for there to be at least 2.96inch of clearance from the back of the fridge to the wall, at least 3.9inch of clearance from its top, at least 3.9inch from its side to the wall and a clear space in front to allow the doors to open 125°. As shown in following diagrams.

Note
This appliance performs well with in the climate class from N to T shown in the table below. It may not work properly if left the at a temperature above or below the indicated range for a long period.
- Climate class
- Ambient temperature
- SN
- +50F to +90F
- N
- +61F to+100°F
- ST
- +61F to +100°F
- T
- +61F to +109F
- Stand your appliance in a dry place to avoid high moisture.
- Keep the appliance out of direct sunlight, rain or frost. Stand the appliance away from heat sources such as stoves, fires or heaters. Leveling of appliance
- For sufficient leveling and air circulating in the lower rear section of the appliance, the bottom feet may need to be adjusted. You can adjust them manually by hand or by using a suitable tool.
- To allow the doors to self-close, tilt the top backwards by 0.4~0.6inch.

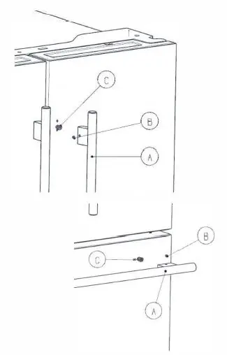
Installing the handles
- Before you use the appliance, you have to install the handles provided in the fridge chamber.
- Please follow procedures below to install and reverse the handle.
- Place the handle (A) on the door by fitting the handle footprints over the handle supports (C), then fasten the screws (B) with 0.1inch Allen wrench (provided in plastic).

Door Removal
In case your home access door is too narrow for the refrigerator to pass through, remove the refrigerator doors and drawers. If you do not need to remove the appliance doors, proceed to’Installing Water Lines’ on page 8.lf you need to remove the doors, continue below.
Tools you will needV Not provided
- Allen Wrench (0.16inch)
- Wrench(0.3inch)
- QS}
- Philips Screwdriver
- 1 .With the door closed, remove the 3 screws holding the top cover (A) with Philips (+) screwdriver, and then remove the top cover with the entire-harness attached.

- 2. Remove the screws (B) fixed on the hinges with a wrench (0.3inch)and 1 ground screws(C) attached to the hinge with Philips (+) screwdriver. Remove the upper left and right door hinges(D).

- 3.Use your both hands to open the door more than 90°.Lift it up and take it off.

- 4.Remove the 4 hex head bolts hinges (E) with an Allen wrench (0.16inch).Remove the lower left and right door hinges (F).

Disassembling the freezer door
- Pull out the freezer door and the upper freezer drawer (A) to the final position .

- 2. Take out the ice storage box (B) by lifting it up in the direction of the arrow.

- 3.Take out the upper freezer drawer (A) by lifting it up from the rail system.

- 4. Remove the lower freezer drawer (C) by lifting it up.

- 5. Remove the 4 screws attached to the supporting frame (D).

- 6. Pull out the freezer door and lift it up in the direction of the arrow.

Re-assembling the freezer door
- To reattach the drawer after you moved the appliance to its final location, assemble the parts in reverse order.
Installing the water lines
A water dispenser with a filter is one of the helpful features on your new appliance. To help promote better health, the water filter removes unwanted particles from your water. However, it does not sterilize or destroy microorganisms. You may need to purchase a water purifying system to do that.In order for the ice maker to operate properly, a water line is required.
- the maximum inlet water pressure is 700kPa;
- the minimum inlet water pressure is 207kPa.
Warning
The water connection must be made by a qualified plumber. Operation outside the water pressure range may cause malfunction, severe and damaging water leaks.
Under normal conditions, a200cc (5.75 oz.) cup can be filled in about 10 seconds.
If the refrigerator is installed in an area with low water pressure (below30 psi),you can install a booster pump to compensate for the low pressure.What you need to have before you start.
- Power drill and 1/4″ drill bit.
- 1/2″ or adjustable wrench.
- FlatbladeandPhilipshead screwdrivers.

- You may find these items sold as a kit at local hardware store.

- These items are provided with your fridge. Please check your fridge drawer to find them.
Connecting to the water supply line 1. First.shut off the main water supply.

- Using the power drill and a 1/4″ drill bit drill into the cold-water line and connect the saddle-type shutoff valve.

- Connect 1/4″ extension tubing to shutoff valve outlet.

- Flush the tubing. Turn the main water supply on and flush out the tubing until the water is clear. Then, shut the water off at the water valve after about a quart of water has flushed through the tubing.

- Connect the extension tubing line with the line on the back of the fridge via the coupler. Fully insert the extension tubing into the coupler, and then insert the clip onto the coupler to lockup the tubing. Do the same with the other end. After both clips are inserted, check the line to make sure it is held firmly by the clip.

Note: Ensure that water line does not get pinched or bent when installing. This can result in improper water flow through the line and will affect the functionality of the fridge.
- Turn the water on and check for leakage.

CAUTION
Check to see if lea ks occur at the water line connections
Note:
Use only the new tubing supplied with the refrigerator. Old tubing should not be used.After connected to the water supply line, please open the water valve to flush the filter for 5 minutes before use.The initial dark discoloration of water is normal.When you connect the water line to the appliance and press the lever of the dispenser for the first time, it is normal that there will be a sound of exhaust coming out from the appliance.
Warning
- The water line must be connected to the cold water pipe.
- If it is connected to the hot water pipe, it may cause the purifier to malfunction. Avoid contamination of pipes during installation.
- Connect to potable water supply only.
Description of the Appliance
- Door rack
- vertical baffle part
- Water dispenser (inside) © Fruit and vegetables crisper ® Multi•functlon drawer
- Freezer LED light
- Ice maker (inside)
- Ice storage bo11 (Inside)
- Lower freezerdrawer
- Adjustable bottom feet
- ropcover
- Display board
- Vertical baffle guide block
- water filter
- Refrigerator LEO tight (inside)
- Wind channel
- Glass shelf
- Crisper cover
- Upper freezer drawer
- Lower diaphragm
- Roll wheel
- Refrigerator door
- Freezer door
- Handles


Note
• Due to unceasing modification of our products, your refrigerator may be slightly different from this instruction manual, but its functions and using methods remain the same.
• To get the best energy efficiency of this product, please place all shelves, drawers and baskets on their original position as per the illustration above.
Display Controls
Your product has one control panel which is installed on the top cover. Use your appliance according to the following control guidelines.
- -98
- Fridge
- Super
- Freeze
- CoeE
When the appliance is powered on for the first time, the backlighting of the icons on the display panel start working. If no buttons have been touched or the doors are closed, the backlighting will turn off after 60seconds.The control panel consists of two areas about temperature, and one area about different modes.
Caution
When you set a temperature, you set an average temperature for the whole refrigerator cabinet. Temperatures inside each compartment may vary from the temperatures displayed on the panel, depending on how much food you store and where you place it. High or low room temperature may also affect the actual temperature inside the appliance.
Ice Control
This button controls the ice maker. You can touch the “Ice On/Off’ button to control the ice maker. When the “Ice On/Off’ function light is on, the ice maker is working. If you want to lock the ice maker, please touch the “Ice On/Off’ button again until the button light is off.
Fridge Temperature Control
You can touch the ” Fridge ” icon to activate the mode to control the fridge temperature. When you touch the button continuously, the temperature will be set in the following sequence.
- 39’F 0
- ,-+35″F-36°F-37″F-38″F- -4 °F-41 ‘F
- \._4 7″F-46″F-45″F-44 “F-43″F-42″F+—‘ 1
Super Cool
If you want to decrease the time needed to cool products in the Fridge, please touch this button. The super cool icon ” .t’ ” will be illuminated, and the fridge temperature setting displays at 35°F.Super cool automatically switches off after 3 hours, and the refrigerator temperature setting will revert back to the previous setting.When super cool function is on, you can touch the ” Super Cool ” button again to switch it off. The fridge will not retain the Super Cool function when powered off.
Freezer Temperature Control
You can touch the “Freezer” button to activate the mode to control the freezer temperature. When you press the button continuously, the temperature will be set in the following sequence.
Super Freeze
If you want to decrease the time needed to freeze products in the Freezer, please touch this button, the super freeze icon $ will be illuminated, the fridge temperature setting displays-12″F.
Super Freeze can quickly lower the temperature and freeze your food faster than usual. This can retain more of the vitamins and nutrients in fresh food and keep your food longer.
The super freeze mode allows you to freeze items inside with maximum speed. We recommend that you let the appliance operate for 6 hours first. Super Freeze automatically switches off after 26 hours, and the freezer temperature setting will revert back to the previous setting. When the Super Freeze function is on, you can touch the ” Super Freeze ” button again to switch off. If power cutoff happens while super freeze is activated, the super freeze will not be reactivated after power is resupplied.
Note
- If you want to exchange the “°F” to “°C”,please press and hold the “Super Cool” and “Energy Saving” buttons for 3 seconds.
Water Filter
In general, you should change the water filter every 6 months to ensure the highest possible water quality.After the refrigerator has dispensed about 300 gallons of water, the filter icon “,” will blink, reminding you to replace the water filter.First of all, you need to purchase a new water filer. You can purchase the new filter from the retailer where you purchased your refrigerator or the after-sales service system. Before that, please check that the new filter is the same filter type that came with your fridge and can be correctly used in your refrigerator.
After you change a new water filter, push and hold the ” Ice On/Off ” buttons for 3 seconds to make the blinking stop. When you replace the water filter, some water may leak from the filter and lines. Please let the water flow in a pan and wipe up any leakage that may have occurred.
Energy Saving
You can touch this button to turn Energy Saver mode on and off. When you turn Energy Saver on, the Energy Saver icon’:J” lights up.
The temperature of the fridge is automatically switched to 43 “F and the freezer to 1 “F .If Energy Saver is off , the icon “:J” will go off and the temperature setting will revert back to the previous setting.
Note
- The control panel will light up when the door is open, or you touch any button.
- The light will go off without touching any buttons or the doors have been closed over one minute.
- When the refrigerator is powered on, all the icons of the control panel will light up for 3 seconds, and a buzzer sounds. And the temperature setting reverts back to the previous setting.
- Demo mode (Freezer/ Fridge Temperature Indicator moving)
- Demo mode is for store display, and it makes the refrigerator not to generate cool air.
- In case of Cooling off Mode, refrigerator may seem like working but it does not make cool air. The indicators on control panel is showing double “OF”. To cancel this mode, press the
- “Ice On/Off’ and “Energy Saving ” at same time for 3 seconds until “Ding-dong” sounds.
- Super
- Freeze
- 88
using your Appliance
This section tells you how to use most of the useful features. We recommend that you read through them carefully before using the appliance.
Getting Cold Water
The water dispenser is located in the left side of the fridge. Open the refrigerator doors, and push the water dispenser button to get water,. Then move your glass down the dispenser lever in the suggested position and press it.Hold the glass underneath the dispenser for 2~3 seconds after releasing the dispenser button as water may continue to dispense after the button is released.

Water clouding phenomenon
All water provided to the refrigerator flows through an alkaline water filter. In the filtering process, the pressure of the water that has flowed out of the filter is increased, and the water becomes saturated with oxygen and nitrogen. When water flows out into the air, the pressure plummets and the oxygen and nitrogen get supersaturated, which results in gas bubbles. The water may temporarily look misty or cloudy due to these oxygen bubbles. After a few seconds, the water will look clear.
Changing the water filter
- To drink the freshest and cleanest water from your refrigerator, change the filter on time.
To change the water filter, follow these steps:
- 1. Shut off the water supply.
- Then turn the water filter (A) about a 1/4 turn, counter-clockwise.

2. Pull the water filter (A) from the filter holder (B).

Note:
To change the water filter easily, shut off the water supply valve. Sometimes, it is hard to disassemble the water filter because impurities in the water cause it to stick. If you are having difficulties, grip the water filter firmly and pull it out. When you pull the water filter, a little water can leak from the opening. This is normal. To minimize the water leaks, keep the filter cartridge horizontal when pulling it. To prevent overflow, empty the water filter tray(C) and dry around the filter case. To insert the new water filter, follow the directions below.

3. Insert the new filter into the filter holder.

4. Push the filter, and then turn it clockwise until it locks.

If you have trouble inserting the water filter because of high water pressure, shut off the water supply valve.
5. If you turned off the water supply, turn it back on.
Note
After turning on the water supply, you should check the leaks. If leaks occurs, repeat the step 1,2,3,4,5. If leaks persist, discontinue use and call you supporting dealer.
Removing any residual matter inside the water supply line after installing the water filter
1.After the water filter is replaced, dispense 2.5 gallons of water (flush for approximately 5 minutes) to remove trapped air and contaminants from the system.
2. Additional flushing may be required in some households.
3. Open the refrigerator door and make sure there are no water leaks coming from the water filter.
Be sure to flush the dispenser thoroughly,otherwise water may drip from the dispenser. This means that there is still air in the line.
Do not dispense the entire 2.5 gallon amount continuously. Depress and release the dispenser pad for cycles of 30 seconds ON and 60 seconds OFF.
Reverse osmosis water supply
The pressure of the water supply coming out of a reverse osmosis system going to the water inlet valve of the refrigerator needs to be between 30 and 100psi (207and 700kPa).lf a reverse osmosis water system is connected to your cold water supply, the water pressure to the reverse osmosis system needs to be a minimum of 40 to 60 psi (276 to 414 Kpa ). If the water pressure to the reverse osmosis system is less than 40 to 60 psi (276 to 414 Kpa):
Check to see whether the sediment filter in the reverse osmosis system is blocked. Replace the filter if necessary.
Allow the storage tank on the reverse osmosis system to refill after heavy usage.
If your refrigerator has a water filter, it may further reduce the water pressure when used in conjunction with a reverse osmosis system. To resolve it, remove the water filter.
Using your fridge compartment
The refrigerator compartment is suitable for storage of vegetables and fruit. Food inside should be sealed for storage in order to avoid losing moisture or flavor permeating into other foods.
Caution
Never close the refrigerator door while the shelves, crisper and/or telescopic slides are extended. It may damage both them and the refrigerator.
Door baskets
The refrigerator compartment is provided with six door baskets, which are suitable for the storage of canned liquid,
bottled drinks and packaged food.
To remove the door baskets, simply lift the racks up and pull straight out.
To relocate the door baskets, slide it in above the desired location and push down until it stops.

Warning
Do not place too many heavy things in the baskets. Before you lift up the door shelf vertically, please take the food out.
Glass shelves
To remove the glass shelves, tilt up the front of the shelf in the direction shown ( 1) and lift it up vertically (2). Pull the shelf out.

To re-install the glass shelves, tilt the front of the shelf up and guide the shelf hooks into the slots at a desired height (1). Then lower the front of the shelf so that the hooks can drop into the slots (2).

Vegetable and fruit crispers
The crispers are suitable for storage of vegetables and fruit. To take them out, open the door to the final location first.
Then pull out the drawer and tilt up the front of the crisper after moving slightly in the direction of the arrow.

Using the freezer compartment
The freezer compartment is provided with an upper drawer, a lower drawer and an ice box. To remove all of them, refer to page 8 for disassembly instruction.
For hygienic reasons the appliance (including exterior and interior accessories) should be cleaned at least every two months.
Warning
To avoid electrical shock, the appliance must not be connected to the main power supply during cleaning. Before cleaning, switch the appliance off and remove the plug from the main socket.
Exterior cleaning
To maintain good appearance of your appliance, you should clean it regularly.
• Spray water onto a cleaning cloth instead of spraying directly on the surface of the appliance. This helps ensure an even distribution of moisture to the surface.
• Clean the doors, handles and cabinet surfaces with a mild detergent and then wipe dry with a soft cloth.

Caution
• Don’t use sharp objects to clean with, as they are likely to scratch the surface.
• Don’t use Thinner, Car detergent, bleach, ethereal oil, abrasive cleansers or organic solvent such as Benzene for cleaning. They may damage the surface of the appliance and may cause fire.
Interior cleaning
You should clean the appliance interior regularly. It will be easier to clean when food stocks are low. Wipe the inside of the fridge freezer with a weak solution of backing soda and water, and then rinse with warm water using a wrung-out sponge or cloth. Wipe completely dry before replacing the shelves and baskets. Thoroughly dry all surfaces and removable parts before putting them back into place.

Although this appliance automatically defrosts, a layer of frost may occur on the freezer compartment’s interior walls if the freezer door is opened frequently or kept open too long. If the frost is too thick, choose a time when the freezer is nearly empty and proceed as follows:
1. Remove existing food and accessories baskets, unplug the appliance from the main power and leave the doors open. Ventilate the room thoroughly to accelerate the process.
2. When defrosting is completed, clean your freezer as described above.
Warning!
Do not use sharp objects to remove frost from the freezer compartment. Only after the interior is completely dry should the appliance be switched back on and plugged back into the main socket.
Door seals cleaning
Take care to keep door seals clean. Sticky food and drinks can cause seals to stick to the cabinet and tear when you open the door. Wash seal with a mild detergent and warm water. Rinse and dry it thoroughly after cleaning.

Caution
Only after the door seals are completely dry should the appliance be powered on
Replacing the LED light
Warning: The LED light must be replaced by a competent person. If the LED light is damaged, follow the steps below:
1. Unplug your appliance.
2. Remove light cover by rising up and pulling out the LED light.
3. Hold the LED light with one hand and pull it with the other hand while pressing the connector latch.
4. Replace LED light and snap it correctly in place and recover the light cover.
Helpful Hints and Tips
Energy Saving Tips
We recommend that you follow the tips below to save energy.
Try to avoid keeping the door open for long periods in order to conserve energy. Ensure the appliance is away from any sources of heat ( direct sunlight, electric oven or cooker etc.)
Don’t set the temperature colder than necessary.
Don’t store warm food or evaporating liquid in the appliance.
Place the appliance in a well ventilated, humidity free, room. Please refer to “Installing your New Appliance” chapter.
If the diagram shows the correct combination for the drawers, crisper and shelves, do not adjust the combination as this is designed to be the most energy efficient configuration.
Hints for fresh food refrigeration
Do not place hot food directly into the refrigerator or freezer, the internal temperature will increase resulting in the compressor having to work harder and will consume more energy.
Do cover or wrap the food, particularly if it has a strong flavor.
Place food properly so that air can circulate freely around it.
Hints for refrigeration
For Meat: (all types) wrap in cling wrap and place on the glass shelf above the vegetable drawer. Always follow food storage times and use by dates suggested by manufacturers.
Cooked food, cold dishes, etc.:
They should be covered and placed on any shelf.
Fruit and vegetables:
They should be stored in the special drawer provided.
Butter and cheese:
Should be wrapped in airtight foil or plastic film wrap.
Milk bottles:
Should have a lid and be stored in the door racks.
Hints for freezing
When first starting-up or after a period out of use, let the appliance run at least 2 hours on the higher settings before putting food in the compartment.
Prepare food in small portions to enable it to be rapidly and completely frozen and to make it possible to subsequently thaw only the quantity required.
Wrap up the food in aluminum foil or cling wraps which are airtight.
Do not allow fresh , unfrozen food to touch the food which is already frozen to avoid temperature rise of the latter.
Iced products, (ice cubes, popsicles): if consumed immediately after removal from the freezer compartment, will probably cause frost bums to the skin.
It is recommended to label and date each frozen package in order to keep track of the storage time.
Hints for the storage of frozen food
Ensure that frozen food has been stored correctly by the food retailer
Once defrosted, food will deteriorate rapidly and should not be re-frozen. Do not exceed the storage period indicated by the food manufacturer.
Switching off your appliance
If the appliance needs to be switched off for an extended period, the following steps should be taken prevent mold on the appliance. rapidly and should not be re-frozen. Do not exceed the storage period indicated by the food manufacturer.
Switching off your appliance
If the appliance needs to be switched off for an extended period, the following steps should be taken prevent mold on the appliance.
1. Remove all food.
2. Remove the power plug from the main socket.
3. Clean and dry the interior thoroughly.
4. Ensure that all the doors are wedged open slightly to allow air to circulate.
Troubleshooting
If you experience a problem with your appliance or are concerned that the appliance is not functioning correctly, you can carry out some easy checks before calling for service, please see below.
Warning! Don’t try to repair the appliance yourself. If the problem persists after you have made the checks mentioned below, contact a qualified electrician, authorized service engineer or the shop where you purchased the product.
Warning! A child entrapment warning statement is included in either the operating instructions or in a use and care manual provided with each refrigerator.
DANGER
Risk of child entrapment. Before you throw away your old refrigerator or freezer:
Take off the doors.
Leave the shelves in place so that children may not easily climb inside.
| Problem | Possible Cause & Solution |
|
Appliance is not working correctly | Check whether the power cord is plugged into the power outlet properly. |
| Check the fuse or circuit of your power supply, replace if necessary. | |
| The ambient temperature is too low. Try setting the chamber temperature to a colder level to solve this problem. | |
| It is normal that the freezer is not operating during the defrost cycle, or for a short time after the appliance is switched on to protect the compressor. | |
| Odours from the compartments | The interior may need to be cleaned |
| Some food, containers or wrapping cause odours. | |
|
Noise from the appliance | The sounds below are quite normal: •Compressor running noises. •Air movement noise from the small fan motor in the freezer compartment or other compartments. •Gurgling sound similar to water boiling. •Popping noise during automatic defrosting. •Clicking noise before the compressor starts. • Clicking noise when you get the water. •The motor running noises when you get ice. |
| Other unusual noises are due to the reasons below and may need you to check and take action: The cabinet is not level. The back of appliance is touching the wall. Bottles or containers have fallen or are rolling. | |
| The motor runs continuously | It is normal to frequently hear the sound of the motor, it will need to run more when in following circumstances: •Temperature setting is set colder than necessary |
| • Large quantity of warm food has recently been stored within the appliance. •The temperature outside the appliance is high. •Doors are kept open too long or too often. •After installing the appliance or ii has been switched off for a long time. | |
| A layer of frost occurs in the compartment | Check that the air outlets are not blocked by food and ensure food is placed within the appliance to allow sufficient ventilation. Ensure that door is fully closed. To remove the frost, please refer to the “Cleaning and Care” chapter. |
| Temperature inside is too warm | You may have left the doors open too long or too frequently; or the doors are kept open by some obstacle; or the appliance is located with insufficient clearance at the sides, back and top |
| Temperature inside is too cold | Increase the temperature by following the “Display Controls” chapter. |
| Doors can’t be closed easily | Check whether the top of the refrigerator is tilted back by 0.4~0.6inch to allow the doors to self-close, or if something inside is preventing the doors from closing. |
|
The light is not working | •The LED light may be damaged. Refer to replace LED lights in” Cleaning and Care” chapter. • The control system has disabled the lights due to the door being kept open too long. Close and reopen the door to reactivate the lights. |
|
Ice is not dispensing | • Did you wait for 12 hours after installation of the water supply line before making ice? If it is not sufficiently cool, it may take longer to make ice, such as when first installed. •Is the water line connected and the water valve open? • Did you manually stop the ice making function? Make sure you do not set the “ice off’mode. • Is there any ice blocked within the ice maker bucket or ice chute? • Is the water pressure less than30psi? Install a booster pump to compensate for the low pressure. • Is the freezer temperature too warm? Try setting the freezer temperature lower. •Ice maker is not making the ice fast enough. Please wait for at least 90 minutes. |
|
Water dispenser is not functioning | •Is the water line connected and the water valve open? • Has the water line been crushed or kinked? Make sure the waterline is free and clear of any obstruction. • Is the water tank frozen because the refrigerator temperature is too low? Try selecting a warmer setting on the display panel. • Check if the filter is properly installed. If it is not properly |
| installed, the water dispenser may not work. | |
| Hear water bubbling in the refrigerator | This is normal. The bubbling comes from the refrigerant coolant liquid circulating through the refrigerator. |
Disposal of the Appliance
It is prohibited to dispose of this appliance as household waste.
Packaging materials
Packaging materials with the recycle symbol are recyclable. Dispose of the packaging into a suitable waste collection container to recycle it.
Before disposal of the appliance
1. Pull out the main plug from the main socket.
2. Cut off the power cord and discard with the main plug
Warning!
Refrigerators contain refrigerant and gases in the insulation. Refrigerant and gases must be disposed of professionally as they may cause eye injuries or ignition. Ensure that tubing of the refrigerant circuit is not damaged prior to proper disposal.
Correct Disposal of this product
This symbol on the product or in its packing indicates that this product may not be treated as household waste. Instead, it should be taken to the appropriate waste collection point for the recycling of electrical and electronic equipment. By ensuring this product is disposed of correctly, you will help prevent potential negative consequences for the environment and human health, which could otherwise be caused by the inappropriate waste handling of this product. For more detailed information about the recycling of this product, please contact your local council, your household waste disposal service, or the shop where you purchased the product.
450 Series 36 Inch
French Door Refrigerator
in Stainless Steel
Contents
Brief introduction…………………………….. 1
Important safety instructions………………. 2
Installing your new appliance……………… 4
Description of the appliance………………. 9
- ·····················10
Using your appliance…………………….. 13
Cleaning and care………………………… 15
Helpful hints and tips……………………… 17
. .
Thank you for your choosing our appliance. We are sure you will find your new refrigerator a pleasure to use. Before you use the appliance, we recommend that you read through these instructions carefully, which provides details about its usage and functions.
- Please ensure that everyone using this appliance is familiar with its operations and safety features. It is important that you install the appliance correctly and pay careful attention to the safety instructions.
- we recommend that you keep this user’s manual with the appliance for future reference.
- This appliance is intended to be used in households and similar applications such as:
-Staff kitchen-areas in shops, offices and other working environments;
-Clients in hotels, motels and other residential types of environment;
-Bed and breakfast type of environments;
-Catering and similar non-retail applications.
- This appliance is not intended for use by persons (including children) with reduced physical, sensory or mental capabilities, or lack of experience and knowledge, unless they have supervision or been given instruction concerning use of the appliance. Children should be supervised to ensure that they do not play with the appliance.
- Do not store explosive substances such as aerosol cans with a flammable propellant in this
WARNING– Connect to potable water supply only.
WARNING– Do not use mechanical
devices or other means to accelerate the defrosting process, other than those recommended by the manufacturer.
WARNING-Do not damage the
refrigerant circuit.
WARNING- Do not use electrical appliances inside the food storage compartments of the appliance, unless they are of the type recommended by the manufacturer.
WARNING– When disposing of the
appliance do so only at an authorized waste disposal centre. Do not expose to flame.
WARNING- The instructions include the
following wording regarding the use of extension cords: Do not use an extension cord.
WARNING-If the supply cord is damaged,
it must be replaced by the manufacturer, its service agent or similarly qualified persons in order to avoid a hazard.
Important Safet Instructions
|
General safety and daily use
It is important to use your
� appliance safely. We
recommend that you follow the
guidelines below.
Store any food in accordance with the storage instructions from the manufacturer.
- Don’t try to repair the appliance It is dangerous to alter the specifications or modify this product in any way. Any damage to the power cord may cause a short circuit, fire or electric shock.
- Don’t place too much food directly against the air outlet on the rear wall of both the refrigerator and freezer compartment, as it affects sufficient air circulation.
- Don’t place hot items near the plastic components of this
- Frozen food must not be refrozen once it has been thawed out.
- Don’t store bottled or canned drinks (especially carbonated drinks) in the freezer compartment. Bottles and cans may explode.
- Use caution consuming popsicles or ice cubes straight from the freezer as this can cause freezer bum to the mouth and Safety for children and infirm persons
- Keep all packaging away from children to avoid risk of
- Protect children from being scalded by touching the compressor at the rear bottom of appliance
- Don’t place items on top of the appliance as this could cause injury should they fall off.
- Never allow children to play with the appliance by hanging or standing over or on the doors, racks, shelves and drawers
Electrical Safety
To avoid the risks that are
- always present when using an electric appliance, we
recommend that you pay attention to the instructions about electricity below.
- Unpack and check through the appliance. Should any damage be evident, don’t plug in the appliance but contact the shop immediately from which you purchased it. Keep all packing materials in this case.
- we recommend that you wait for 4 hours before connecting the appliance to allow the refrigerant to flow back into the compressor.
- The appliance must be applied with single phase alternating current of 110~115V/60Hz. If the voltage fluctuates exceeding the upper limit, automatic voltage regulator of more than 350W should be applied to the refrigerator for safety use.
- The power plug must be accessible when the appliance is
- This appliance must be grounded.
- This appliance is fitted with a plug, in accordance with local The plug should be suitable for use in all houses fitted with sockets in accordance with current specifications.
- If the fitted plug is not suitable for your socket outlets, it should be cut off and carefully disposed To avoid a possible shock hazard, do not insert the discarded plug into a socket. If in doubt contact a qualified, registered electrician.
- Do not use extension cords or multiple sockets which could cause overloading of wiring circuits and could cause a fire. Always plug your appliance into its own individual electrical socket which has a voltage rating that matched the rating
2
plate.
- Make sure that the plug is not squashed or damaged. Otherwise, it may cause short circuit, electric shock or overheat and even cause a fire.
- Do not insert the power plug if the socket is loose, there is a risk of electric shock or fire.
- Switch off the appliance and disconnect it from the main power before you clean or move
- Never unplug the appliance by pulling on the electrical cord. Always grip the plug firmly and pull straight out from the socket to prevent damaging the power cord.
- Do not operate the appliance without the cover of interior lighting.
- Any electrical component must be replaced or repaired by a qualified electrician or authorized service engineer. Only genuine replacement parts should be used.
- Do not use electrical appliances such as ice cream makers inside the food storage compartments of the appliance unless they are approved by the manufacturer.
- To avoid eye injury, do not look direct into the LED light located in the refrigerator compartment. If it is not functioning correctly, consult a qualified, registered electrician or replace it in accordance with the “cleaning and care” chapter.
Refrigerant
The refrigerant isobutene (R600a) is contained within the refrigerant circuit of the appliance. During transportation and installation of the appliance, ensure that none of the components of the refrigerant circuit becomes damaged.
The refrigerant (R600a) is flammable.
£Caution: Risk of Fire
- Don’t store products which contain flammable propellants (e.g. spray cans) or explosive substances in the appliances. Should the refrigerant circuit be damaged:
- Avoid open flames (candles, lamps etc.)and sources of
- Thoroughly ventilate the room in which the appliance is
3
|
!installing Your New Appliance
Before usin g the appliance for the first time, you should be in formed of the following tips.
Warning!
For proper installation, this refrigerator must be placed on a level surface of hard material that is the same height as the rest of the flooring. This surface should be strong enough to support a fully loaded refrigerator.
The rollers, which are not castors, should
|
|
be only used for forward or backward .. ..
sideways may damage your floor and the rollers.
l/2;och
1/2;ach
|
|
|
|
|
|
|
心 二二�:�:勹
energy, it is necessary to maintain good ventilation around the appliance for the dissipation of heat. For this reason, sufficient clear space should be available around the refrigerator. Suggestion: It is advisable for there to be at least 2.96inch of clearance from the back of the fridge to the wall, at least 3.9inch of clearance from its top, at least 3.9inch from its side to the wall and a clear space in front to allow the doors to open 125°. As shown in following diagrams.
rain or frost. Stand the appliance away from heat sources such as stoves, fires or heaters.
Leveling of appliance
- For sufficient leveling and air circulating in the lower rear section of the appliance, the bottom feet may need to be adjusted. You can adjust them manually by hand or by using a suitable
- To allow the doors to self-close, tilt the top backwards by 4~0.6inch.
Installing the handles
Before you use the appliance, you have to
Door Removal
|
In case your home access door is too narrow for the refrigerator to pass through, remove the refrigerator doors and drawers. If you do not need to remove the appliance doors, proceed to’Installing Water Lines’ on page 8.lf you need to remove the doors, continue below.
| |||||||||
install the handles provided in the fridge I Tools you will need(Not provided): chamber.
Please follow procedures below to install and reverse the handle.
|
- Place the handle (A) on the door by fitting the handle footprints over the
handle supports (C), then fasten the
screws (B) with
0.1inch
Allen wrench
(provided in plastic).
1 .With the door closed, remove the 3 screws holding the top cover (A) with Philips (+) screwdriver, and then remove
the top cover with the entire-harness attached.
- Remove the screws (B) fixed on the hinges with a wrench (0.3inch)and 1
ground screws(C) attached to the hinge with Philips (+) screwdriver. Remove the upper left and right door
hinges(D).
- Use your both hands to open the door more than 90°.Lift it up and take it
- Remove the 4 hex head bolts hinges (E) with an Allen wrench (0.16inch).Remove the lower left and right door hinges (F).
Disassembling the freezer door
- Pull out the freezer door and the upper freezer drawer (A) to the final
…
- Take out the ice storage box (B) by lifting it up in the direction of the
- Take out the upper freezer drawer (A) by lifting it up from the rail
- Remove the lower freezer drawer (C) by lifting it
- Remove the 4 screws attached to the supporting frame (D).
- Pull out the freezer door and lift it up in the direction of the arrow.
Re-assembling the freezer door
To reattach the drawer after you moved the appliance to its final location, assemble the parts in reverse order.
Installing the water lines
A water dispenser with a filter is one of the helpful features on your new appliance. To help promote better health, the water filter removes unwanted particles from your water. However, it does not sterilize or destroy microorganisms. You may need to purchase a water purifying system to do that.In order for the ice maker to operate properly, a water line is required.
- the maximum inlet water pressure is 700kPa;
- the minimum inlet water pressure is 207kPa.
Warning
The water connection must be made by a qualified plumber. Operation outside the water pressure range may cause malfunction, severe and damaging water leaks.
Under normal conditions, a200cc (5.75 oz.) cup can be filled in about 10 seconds.
If the refrigerator is installed in an area with low water pressure (below30 psi),you can install a booster pump to compensate for the low pressure.
What you need to have before you start
- Power drill and 1/4″ drill
- 1/2″ or adjustable wrench. 3.FlatbladeandPhilipshead
- You may find these items sold as a kit at local hardware store.
- These items are provided with your fridge. Please check your fridge drawer to find them.
Connecting to the water supply line
- First,shut off the main water supply.
- Using the power drill and a 1/4″ drill bit
drill into the cold-water line and connect the saddle-type shutoff valve.
- Connect 1/4″ extension tubing to shutoff valve outlet.
- Flush the tubing. Turn the main water supply on and flush out the tubing until the water is clear. Then, shut the water off at the water valve after about a quart of water has flushed through the tubing.
- Connect the extension tubing line with the line on the back of the fridge via the coupler. Fully insert the extension tubing into the coupler, and then insert the clip onto the coupler to lockup the tubing. Do the same with the other end. After both clips are inserted, check the line to make sure it is held firmly by the
Note
Ensure that water line does not get pinched or bent when installing. This can result in improper water flow through the line and will affect the functionality of the fridge.
- Turn the water on and check for
leakage.
Note
Use only the new tubing supplied with the refrigerator. Old tubing should not be used.After connected to the water supply line, please open the water valve to flush the filter for 5 minutes before use.The initial dark discoloration of water is normal.When you connect the water line to the appliance and press the lever of the dispenser for the first time, it is normal that there will be a sound of exhaust coming out from the appliance.
Warning
- The water line must be connected to the cold water pipe. If it is connected to the hot water pipe, it may cause the purifier to malfunction.
- Avoid contamination of pipes during installation.
- Connect to potable water supply only.
Note
- Due to unceasing modification of our products, your refrigerator may be slightly different from this instruction manual, but its functions and using methods remain the same.
- To get the best energy efficiency of this product, please place all shelves, drawers and baskets on their original position as per the illustration
Display ontrols
Your product has one control panel which is installed on the top cover. Use your appliance according to the following control guidelines.
When the appliance is powered on for the first time, the backlighting of the icons on the display panel start working. If no buttons have been touched or the doors are closed, the backlighting will turn off after 60seconds.The control panel consists of two areas about temperature, and one area about different modes.
Caution
When you set a temperature, you set an average temperature for the whole refrigerator cabinet. Temperatures inside each compartment may vary from the temperatures displayed on the panel, depending on how much food you store and where you place it. High or low room temperature may also affect the actual temperature inside the appliance.
Ice Control
This button controls the ice maker. You can touch the “Ice On/Off ‘ button to control the ice maker. When the “Ice On/Off ‘ function light is on, the ice maker is working. If you want to lock the ice maker, please touch the “Ice On/Off ‘ button again until the button light is off.
Fridge Temperature Control
You can touch the ” Fridge ” icon to activate the mode to control the fridge temperature. When you touch the button continuously, the temperature will be set in the following sequence.
Super Cool
If you want to decrease the time needed to cool products in the Fridge, please touch this button. The super cool icon ” will be illuminated, and the fridge temperature setting displays at 35°F.Super cool automatically switches off after 3 hours, and the refrigerator temperature setting will revert back to the previous setting.When super cool function is on, you can touch the ” Super Cool ” button again to switch it off. The fridge will not retain the Super Cool function when powered off. ” Freezer Temperature Control
You can touch the ” Freezer ” button to activate the mode to control the freezer temperature. When you press the button continuously, the temperature will be set in the following sequence.
Super Freeze
If you want to decrease the time needed to freeze products in the Freezer, please touch this button, the super freeze icon will be illuminated, the fridge temperaturesetting displays -12°F. Super Freeze can quickly lower the temperature and freeze your food faster than usual. This can retain more of the vitamins and nutrients in fresh food and keep your food longer.The super freeze mode allows you to freeze items inside with maximum speed. We recommend that you let the appliance operate for 6 hours first. Super Freeze automatically switches off after 26 hours, and the freezer temperature setting will revert back to the previous setting.When the Super Freeze function is on, you can touch the ” Super Freeze ” button again to switch off. If power cutoff happens while super freeze is activated, the super freeze will not be reactivated after power resupplied.
Note
- If you want to exchange the “°F” to “°C” ,ple ase press and hold the ” Super Cool ” and ” Energy Saving” buttons for 3 seconds.
Water Filter
In general, you should change the water filter every 6 months to ensure the highest possible water quality.
After the refrigerator has dispensed about 300 gallons of water, the filter icon ” will blink, reminding you to replace thewater filter.First of all, you need to purchase a new water filer. You can purchase the new filter from the retailer where you purchased your refrigerator or the after-sales servicesystem. Before that, please check that the new filter is the same filter type that came with your fridge and can be correctly used in your refrigerator.After you change a new water filter, push and hold the ” Ice On/Off ” buttons for 3 seconds to make the blinking stop. When you replace the water filter, some water may leak from the filter and lines. Please let the water flow in a pan and wipe up any leakage that may have occurred.
Energy Saving
You can touch this button to turn Energy Saver mode on and off. When you turn Energy Saver on, the Energy Saver icon” lights up. The temperature of the fridge is automatically switched to 43 “F and the freezer to 1°F .If Energy Saver is off , the icon ” ” will go off and the temperature setting will revert back to the previous setting.
Note
- The control panel will light up when the door is open, or you touch any
- The light will go off without touching any buttons or the doors have been closed over one minute.
- When the refrigerator is powered on, all the icons of the control panel will light up for 3 seconds, and a buzzer sounds. And the temperature setting reverts back to the previous setting.
- Demo mode (Freezer/ Fridge Temperature Indicator moving)
- Demo mode is for store display, and it makes the refrigerator not to generate cool air.
- In case of Cooling off Mode, refrigerator may seem like working but it does not make cool air.
- The indicators on control panel is showing double “OF”. To cancel this mode, press the ” Ice On/Off ‘ and “Energy Saving ” at same time for 3 seconds until “Ding-dong” sounds.
Appliance
This section tells you how to use most of the useful features. We recommend that you read through them carefully before using the appliance.
Getting Cold Water
The water dispenser is located in the left side of the fridge. Open the refrigerator doors, and push the water dispenser button to get water,. Then move your glass down the dispenser lever in the suggested position and press it.
Hold the glass underneath the dispenser for 2-3 seconds after releasing the dispenser button as water may continue to dispense after the button is released.
Water clouding phenomenon
All water provided to the refrigerator flows through an alkaline water filter. In the filtering process, the pressure of the water that has flowed out of the filter is increased, and the water becomes saturated with oxygen and nitrogen. When water flows out into the air, the pressure plummets and the oxygen and nitrogen get supersaturated, which results in gas bubbles. The water may temporarily look misty or cloudy due to these oxygen bubbles. After a few seconds, the water will look clear.
- Changing the water filter
To drink the freshest and cleanest water from your refrigerator, change the filter on time.
To change the water filter, follow these
steps:
- Shut off the water supply. Then turn the water filter (A) about a 1/4 turn, counter-clockwise.
- Pull the water filter (A) from the filter holder (B).
Note:
- To change the water filter easily, shut off the water supply
- Sometimes, it is hard to disassemble the water filter because impurities in the water cause it to stick. If you are having difficulties, grip the water filter firmly and pull it out.
- When you pull the water filter, a little water can leak from the opening. This is normal. To minimize the water leaks, keep the filter cartridge horizontal when pulling it.
- To prevent overflow, empty the water filter tray(C) and dry around the filter
- To insert the new water filter, follow the directions below.
- Insert the new filter into the filter
- Push the filter, and then turn it clockwise until it
- If you have trouble inserting the water filter because of high water pressure, shut off the water supply
- If you turned off the water supply, turn it back on.
Note:
After turning on the water supply, you should check the leaks. If leaks occurs, repeat the step 1,2,3,4,5. If leaks persist, discontinue use and call you supporting dealer.
Removing any residual matter inside the water supply line after installing the water filter
- After the water filter is replaced, dispense 2.5 gallons of water (flush for approximately 5 minutes) to remove trapped air and contaminants from the system.
- Additional flushing may be required in some households.
- Open the refrigerator door and make sure there are no water leaks coming from
the water filter.
- Be sure to flush the dispenser thoroughly, otherwise water may drip from the dispenser. This means that there is still air in the line.
- Do not dispense the entire 2.5 gallon amount continuously. Depress and release the dispenser pad for cycles of 30 seconds ON and 60 seconds
Reverse osmosis water supply
The pressure of the water supply coming out of a reverse osmosis system going to the water inlet valve of the refrigerator needs to be between 30 and 100psi (207and 700kPa).lf a reverse osmosis water system is connected to your cold water supply, the water pressure to the reverse osmosis system needs to be a minimum of 40 to 60 psi (276 to 414 Kpa).lf the water pressure to the reverse osmosis system is less than 40 to 60 psi (276 to 414 Kpa):
- Check to see whether the sediment filter in the reverse osmosis system is blocked . Replace the filter if necessary.
- Allow the storage tank on the reverse osmosis system to refill after heavy
- If your refrigerator has a water filter, it may further reduce the water pressure when used in conjunction with a reverse osmosis system. To resolve it, remove the waterUsing your fridge compartment
- The refrigerator compartment is suitable for storage of vegetables and fruit. Food inside should be sealed for storage in order to avoid losing moisture or flavor permeating into other foods.
Caution
Never close the refrigerator door while the shelves, crisper and/or telescopic slides are extended. It may damage both them and the refrigerator.
Door baskets
The refrigerator compartment is provided with six door baskets, which are suitable for the storage of canned liquid,bottled drinks and packaged food.To remove the door baskets, simply lift the racks up and pull straight out.To relocate the door baskets, slide it in above the desired location and push down until it stops.
Warning
- Do not place too many heavy things in the baskets. Before you lift up the door shelf vertically, please take the food out.
- Glass shelves
- To remove the glass shelves, tilt up the front of the shelf in the direction shown (1) and lift it up vertically (2).Pull the shelf out.
|
Care
- To re-install the glass shelves, tilt the front of the shelf up and guide the shelf hooks into the slots at a desired height (1).
- Then lower the front of the shelf so that the hooks can drop into the slots (2).
- Vegetable and fruit crispers.
- The crispers are suitable for storage of vegetables and fruit. To take them out, open the door to the final location first.
- Then pull out the drawer and tilt up the front of the crisper after moving slightly in the direction of the arrow.
Using the freezer compartment
The freezer compartment is provided with an upper drawer, a lower drawer and an ice box. To remove all of them, refer to page 8 for disassembly instruction.For hygienic reasons the appliance (including exterior and interior accessories) should be cleaned at least every two months.
Warning
- To avoid electrical shock, the appliance must not be connected to the main power supply during cleaning. Before cleaning, switch the appliance off and remove the plug from the main socket.
Exterior cleaning
- To maintain good appearance of your appliance , you should clean it regularly.
- Spray water onto a cleaning cloth instead of spraying directly on the surface of the appliance.
- This helps ensure an even distribution of moisture to the surface.
- Clean the doors, handles and cabinet surfaces with a mild detergent and then wipe dry with a soft.
Caution
- Don’t use sharp objects to clean with, as they are likely to scratch the
- Don’t use Thinner, Car detergent, bleach, ethereal oil, abrasive cleansers or organic solvent such as Benzene for cleaning. They may damage the surface of the appliance and may cause fire.
Interior cleaning
You should clean the appliance interior regularly. It will be easier to clean when food stocks are low. Wipe the inside of the fridge freezer with a weak solution of backing soda and water, and then rinse with warm water using a wrung-out sponge or cloth. Wipe completely dry before replacing the shelves and baskets. Thoroughly dry all surfaces and removable parts before putting them back into place.Although this appliance automatically defrosts, a layer of frost may occur on the freezer compartment’s interior walls if the freezer door is opened frequently or kept open too long. If the frost is too thick, choose a time when the freezer is nearly empty and proceed as follows:
- Remove existing food and accessories baskets, unplug the appliance from the main power and leave the doors open. Ventilate the room thoroughly to accelerate the
- When defrosting is completed, clean your freezer as described above.
Warning
- Do not use sharp objects to remove frost from the freezer compartment.
- Only after the interior is completely dry should the appliance be switched back on and plugged back into the main socket.
- Door seals cleaning
Take care to keep door seals clean. Sticky food and drinks can cause seals to stick to the cabinet and tear when you open the door. Wash seal with a mild detergent and warm water. Rinse and dry it thoroughly after cleaning.
Caution
- Only after the door seals are completely dry should the appliance be powered on
Replacing the LED light
- The LED light must be replaced by a competent person.
If the LED light is damaged, follow the steps below:
- Unplug your
- Remove light cover by rising up and pulling out the LE
- Hold the LED light with one hand and pull it with the other hand while pressing the connector
- Replace LED light and snap it correctly in place and recover the light
|
Hints an
Energy Saving Tips
We recommend that you follow the tips below to save energy.
- Try to avoid keeping the door open for long periods in order to conserve energy. Ensure the appliance is away from any sources of heat (direct sunlight, electric oven or cooker etc.)
- Don’t set the temperature colder than necessary.
- Don’t store warm food or evaporating liquid in the appliance.
- Place the appliance in a well ventilated, humidity free, Please refer to “Installing your New Appliance” chapter.
- If the diagram shows the correct combination for the drawers, crisper and shelves, do not adjust the combination as this is designed to be the most energy efficient
Hints for fresh food refrigeration
- Do not place hot food directly into the refrigerator or freezer, the internal temperature will increase resulting in the compressor having to work harder and will consume more
- Do cover or wrap the food, particularly if it has a strong
- Place food properly so that air can circulate freely around
Hints for refrigeration
- For Meat: (all types) wrap in cling wrap and place on the glass shelf above the vegetable drawer. Always follow food storage times and use by dates suggested by
- Cooked food, cold dishes, etc.
They should be covered and placed on any shelf.
- Fruit and vegetables
They should be stored in the special drawer provided.
- Butter and cheese
Should be wrapped in airtight foil or plastic
- film wrap
- Milk bottles
- Should have a lid and be stored in the door racks.
Hints for freezing
- When first starting-up or after a period out of use, let the appliance run at least 2 hours on the higher settings before putting food in the
- Prepare food in small portions to enable it to be rapidly and completely frozen and to make it possible to subsequently thaw only the quantity
- Wrap up the food in aluminum foil or cling wraps which are airtight.
- Do not allow fresh , unfrozen food to touch the food which is already frozen to avoid temperature rise of the
- Iced products, (ice cubes, popsicles): if consumed immediately after removal from the freezer compartment, will probably cause frost burns to the skin.
- It is recommended to label and date each frozen package in order to keep track of the storage time.
Hints for the storage of frozen food
- Ensure that frozen food has been stored correctly by the food retailer
- Once defrosted, food will deteriorate rapidly and should not be re-frozen. Do not exceed the storage period indicated by the food manufacturer.Switching off your applianceIf the appliance needs to be switched off for an extended period, the following steps should be taken prevent mold on the appliance.
- Remove all
- Remove the power plug from the main socket.
- Clean and dry the interior
- Ensure that all the doors are wedged open slightly to allow air to
Troubleshooting
If you experience a problem with your appliance or are concerned that the appliance is not functioning correctly, you can carry out some easy checks before calling for service, please see below.
Warning
Don ‘t try to repair the appliance yourself. If the problem persists after you have made the checks mentioned below, contact a qualified electrician, authorized service engineer or the shop where you purchased the product.
A child entrapment warning statement is included in either the operating instructions or in a use and care manual provided with each refrigerator.
DANGER
Risk of child entrapment. Before you throw away your old refrigerator or freezer.Take off the doors.Leave the shelves in place so that children may not easily climb inside.
| Problem | Possible Cause & Solution |
|
Appliance is not working correctly | Check whether the power cord is plugged into the power outlet properly. |
| Check the fuse or circuit of your power supply, replace if necessary. | |
| The ambient temperature is too low. Try setting the chamber temperature to a colder level to solve this problem. | |
| It is normal that the freezer is not operating during the defrost cycle, or for a short time after the appliance is switched on to protect the compressor. | |
| Odours from the compartments | The interior may need to be cleaned |
| Some food, containers or wrapping cause odours. | |
|
Noise from the appliance | The sounds below are quite normal: •Compressor running noises. •Air movement noise from the small fan motor in the freezer compartment or other compartments. •Gurgling sound similar to water boiling. •Popping noise during automatic defrosting. •Clicking noise before the compressor starts. • Clicking noise when you get the water. •The motor running noises when you get ice. |
| Other unusual noises are due to the reasons below and may need you to check and take action: The cabinet is not level. The back of appliance is touching the wall. Bottles or containers have fallen or are rolling. | |
| The motor runs continuously | It is normal to frequently hear the sound of the motor, it will need to run more when in following circumstances: •Temperature setting is set colder than necessary |
| • Large quantity of warm food has recently been stored within the appliance. •The temperature outside the appliance is high. •Doors are kept open too long or too often. •After installing the appliance or ii has been switched off for a long time. | |
| A layer of frost occurs in the compartment | Check that the air outlets are not blocked by food and ensure food is placed within the appliance to allow sufficient ventilation. Ensure that door is fully closed. To remove the frost, please refer to the “Cleaning and Care” chapter. |
| Temperature inside is too warm | You may have left the doors open too long or too frequently; or the doors are kept open by some obstacle; or the appliance is located with insufficient clearance at the sides, back and top |
| Temperature inside is too cold | Increase the temperature by following the “Display Controls” chapter. |
| Doors can’t be closed easily | Check whether the top of the refrigerator is tilted back by 0.4~0.6inch to allow the doors to self-close, or if something inside is preventing the doors from closing. |
|
The light is not working | •The LED light may be damaged. Refer to replace LED lights in” Cleaning and Care” chapter. • The control system has disabled the lights due to the door being kept open too long. Close and reopen the door to reactivate the lights. |
|
Ice is not dispensing | • Did you wait for 12 hours after installation of the water supply line before making ice? If it is not sufficiently cool, it may take longer to make ice, such as when first installed. •Is the water line connected and the water valve open? • Did you manually stop the ice making function? Make sure you do not set the “ice off’mode. • Is there any ice blocked within the ice maker bucket or ice chute? • Is the water pressure less than30psi? Install a booster pump to compensate for the low pressure. • Is the freezer temperature too warm? Try setting the freezer temperature lower. •Ice maker is not making the ice fast enough. Please wait for at least 90 minutes. |
|
Water dispenser is not functioning | •Is the water line connected and the water valve open? • Has the water line been crushed or kinked? Make sure the waterline is free and clear of any obstruction. • Is the water tank frozen because the refrigerator temperature is too low? Try selecting a warmer setting on the display panel. • Check if the filter is properly installed. If it is not properly |
| installed, the water dispenser may not work. | |
| Hear water bubbling in the refrigerator | This is normal. The bubbling comes from the refrigerant coolant liquid circulating through the refrigerator. |
of the
|
|
It is prohibited to dispose of this appliance as household waste.
Packaging materials
Packaging materials with the recycle symbol are recyclable. Dispose of the packaging into a suitable waste collection container to recycle it.
Before disposal of the appliance
- Pull out the main plug from the main
- Cut off the power cord and discard with the main plug
Warning! Refrigerators contain refrigerant and gases in the insulation. Refrigerant and gases must be disposed of professionally as they may cause eye injuries or ignition. Ensure that tubing of the refrigerant circuit is not damaged prior to proper disposal.
| Correct Disposal of this product | |
| This symbol on the product or in its packing indicates that this product may not be treated as household waste. Instead, it should be taken to the appropriate waste collection point for the recycling of electrical and electronic equipment. By ensuring this product is disposed of correctly, you will help prevent potential negative consequences for the environment and human health, which could otherwise be caused by the inappropriate waste handling of this product. For more detailed information about the recycling of this product, please contact your local council, your household waste disposal service, or the shop where you purchased the product. |
IFORTEI
Refrigerator Warranty I
| Your REFRIGERATOR has been inspected and tested and is warranted subject to following for a period to 24 months from the date of purchase against defects in workmanship and materials. During this period, we undertake to repair or replace any defective part which was originally defective in our opinion. This warranty is null and void if the appliance is used for commercial purposes. |
| SECOND THROUGH FIFTH YEAR FULL WARRANTY ON SYSTEM PARTS AS LISTED In the second through fifth years from the date of purchase, when this refrigerator is operated and maintained according to instructions attached to or furnished with the product, FORTE Appliances will pay for replacement parts and repair labor costs to correct defects in materials or workmanship in system. These parts are: compressor, evaporator, condenser, dryer, and connecting tubing. |
| This warranty is valid only when:
1. This appliance has not been opened or tampered with by anyunauthoriz ed per so n. 2. The appliance is brought to and taken from the retailer at the customer’s cost and risk. 3. The warranty card and Cash Memo duly signed by the authorized retailer are present with the complaint. 4. The appliance has been installed , used and maintained in accordance with the instruction manual. |
| The warranty does NOT apply for:
1. Damage s due to chipping, peeling of coating and denting. 2. Breakage or damage to components made of Bakelite, plastic materials, rubber parts and cord. 3. Normal wear and tear of parts. 4. Damage resulting from accident, mishandling or negligence on the part of the customer. Liability for consequential loss or damage ls neither accepted nor implied . |
| FORTE Appliances will not pay for :
1. Service calls to correct the installation of your refrigerator, to instruct you how to use your refr igerator, to replace house fuses or correct house wiring or plumbing, to replace light bulbs, or replacement water filters other than as noted above.
2. Repairs when your refrigerator is used in other than normal, single-family household use.
3. Pickup and delivery. Your refrigerator is designed to be repaired in the home.
4. Damage resulting from accident, alteration, misuse, abuse, fire, flood, improper installation, acts of God, or use of products not approved by FORTE Appliances
5. Any food loss due to product failure.
6. Repairs to parts or systems resulting from unauthorized modifications made to the appliance.
7. Replacement parts or repair labor costs for units operated outside the United States or Canada .
8. Travel or transportation expenses for customers who reside in remote areas.
9. Any labor costs for replacement of the water filter during the limited warranty period. |
1870 Bath Avenue, Suite 3 I Brooklyn, NY 11214 I Tel· 718.249.1217 I support@forteappl1ances com I www.forteappl1ances com









![Frigidaire Lfhb2741pf French Door Refrigerator User Manual] Frigidaire Lfhb2741pf French Door Refrigerator User Manual]](https://static-data1.manualsee.com/1/img/143/101212/2021/03/Frigidaire-LFHB2741PF-French-Door-Refrigerator-featured-1.png)







