
EG-1 Custom
User Guide

travelerguitar.com
Traveler Guitar EG-1 Custom
THANK YOU FOR PURCHASING A TRAVELER GUITAR EG-1 CUSTOM!
Since 1992 Traveler Guitar has been providing musicians quality guitars and basses made for the road. Our guitars fit in tiny spaces, play with giant sound, and feature a variety of tuning systems, headphone amps, and onboard electronics designed to let you practice, play, or record wherever the road takes you.
The EG-1 Custom you hold in your hands is an electric guitar you can take anywhere. Designed with playability and portability in mind, the EG-1 features a full 24.75″ scale for a real guitar experience, and its In-body tuning system allows for a shorter overall length, making it the ultimate travel guitar.
Whether it’s your cubicle, on vacay or a crowded city street, we are always interested in where you take your Traveler Guitar. Follow and tag us in your photos on social #travelerguitar.
@travelerguitar
@travelerguitar
UNPACKING YOUR GUITAR
If your guitar is factory packed it may be wrapped in a white, temperature insulating bag. This bag can be discarded.
INCLUDED ACCESSORIES
Gig-Bag, truss rod wrench
CONSTRUCTION & SETUP
CONSTRUCTION:
The Traveler Guitar EG-1 Custom is a full 24.75″ scale electric travel guitar featuring a full-sized humbucker and our newly redesigned on board headphone amplifier.
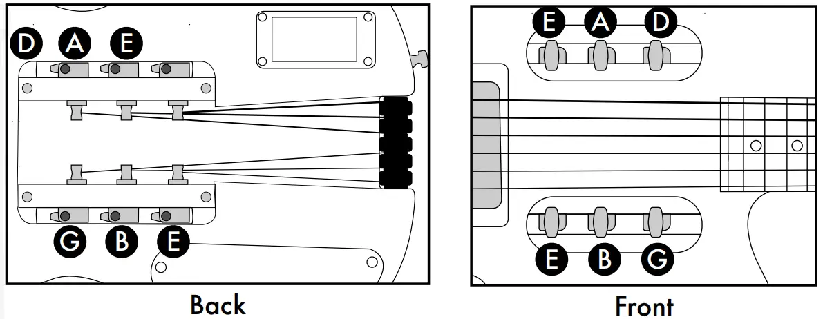
The In-body tuning system uses conventional tuning machines mounted in the guitar’s body to facilitate the use of standard guitar strings. Strings pass through the end cap, then around the string rollers and to the tuning machines mounted to the back of the guitar. The tuning keys are accessible from the front of the guitar to allow tuning while holding the guitar in the playing position. The guitar also has many standard features such as a mahogany body and neck, black walnut fretboard, standard strap pins, an adjustable truss rod and 1/4″ output.
The headphone amp allows standard headphones to be plugged directly into the guitar and offers four selectable tones; clean, boost, overdrive and distortion. In addition to the headphone amp there is also a 1/8″ input to plug in your mobile device and jam along with your favorite tracks, and hear the mix through your headphones or through an amplifier.
SETUP:
The EG-1 Custom is ready to play right out of the gig bag.
ON-BOARD ELECTRONICS

USING THE ELECTRONICS:
To activate the on-board preamp, plug your headphones into the 1/8″ jack, or plug an instrument cable into the 1/4″ jack. To cycle through different tones (Clean/Boost/Overdrive/Distortion), push down on the Push Tone Knob. To conserve battery life, unplug all cables from the guitar when not in use.
USING THE AUX-IN:
Use a 1/8″ auxiliary cable to plug your mobile device into the guitar. Adjust the volume on your device to mix with the guitar signal through both headphone and instrument outputs.
CHANGING THE BATTERY:
The battery compartment is located on the back of the guitar. 2 AAA batteries are required. To conserve battery life, unplug all cables from the guitar when not in use. USING THE TUNER:
To use the built-in pickup ring E-tuner, simply press the small button to the right of the LEDs on the bass side of the pickup ring. Tune a single string at a time. The tuner will recognize the closest note and tell you whether the string is too high in pitch (red LED labeled “H”), too low in pitch (red LED labeled “L”) or in tune (green LED labeled “T”). The tuner is chromatic and will recognize #/b notes.
STRINGING AND TUNING

INSTALLING STRINGS:
The EG-1 Custom uses standard ball-end strings. (Factory installed D’Addario EXL-110.) No special tools are required for string changes.
The tuners on your Traveler Guitar operate just like the tuners on a standard guitar. Do not to remove all the strings at once. We recommend changing the strings three at a time, since some of the components are held in place by string tension. First remove the old E, A, and D strings, and then install three new strings in their places. Repeat this process on the G, B, and high E strings.
To change, thread the string through the correct hole in the end cap and wrap the string around the roller to the proper tuner hole. Leave approximately 2 . inches of slack in the string to allow 3 to 4 wraps on the tuner. Bend the string to anchor it in place in order to hold the string after it is
TUNING: Hold the guitar in playing position and tune the strings as normal. Tuning the tuning machine in a clockwise motion raises the pitch.
CLEANING, STORAGE, AND GENERAL CARE
CLEANING:
Periodic cleaning and polishing will help protect your Traveler Guitar. Use a polish formulated for musical instruments and apply it according to the polish directions–or, you can wipe the guitar down with a clean, damp cloth followed quickly by a clean, dry cloth. To clean residue off the fingerboard, you can use extra-fine steel wool to rub up and down the length of the fingerboard over the top of the frets. Never use furniture polish on the guitar, as you may damage the finish.
STORAGE:
When not in use, your Traveler Guitar should be stored in its included gig bag to protect it from exposure to the elements. Protect your guitar from extreme temperatures and changes in humidity. Never leave your Traveler Guitar in a closed vehicle or any other location where the guitar will be exposed to extreme heat. If you live in a dry climate, you may want to use a guitar humidifier.
ADJUSTMENTS:
We recommend leaving complicated operations (such as truss rod adjustments) to a trained guitar technician. Improper truss rod adjustments may damage your guitar and void your warranty.
HANG STRAP:
The leather hang strap attached to your guitar’s end cap was designed to aid in-store display, but it can also be used to hang your guitar from a wall mount or stand. Be sure your guitar is secure before walking away from it. If you wish, you can remove the strap by clipping the plastic tie with wire cutters. Be careful not to scratch the finish on the neck or end cap.
“BUMPER TO BUMPER” LIMITED LIFETIME WARRANTY
Each Traveler Guitar instrument is warranted to be free from defects in materials and workmanship for as long as it is owned by the original retail purchaser except strings, tuning machines, frets, switches, electronic components, jacks, pickguards, and plated surfaces, which are warranted for a period of three (3) years from the date of the original purchase. The warranty is only eligible to the original owner, and the guitar must have been purchased from an authorized Traveler Guitar dealer.
Traveler Guitar will replace or repair, at its discretion, any Traveler Guitar instrument or part thereof, which is found by Traveler Guitar to be defective. Traveler Guitar reserves the right to use original replacement materials or materials of similar design at the time of the repair.
To become eligible for warranty service, the original purchaser must:
- Submit a completed warranty card or online registration form to Traveler Guitar.
- Contact Traveler Guitar to obtain a Return Authorization Code before returning any instrument for service.
- Provide proof of purchase with all requests for warranty service (original receipt.)
- Be responsible for all freight and transportation to and from Traveler Guitar’s facility in Redlands, CA.
The Traveler Guitar Warranty does not cover:
- Instruments that have been altered or modified in any way, including altered or removed serial numbers.
- Instruments that have been subjected to extreme temperature or humidity, chemicals, synthetic materials or other abnormal conditions.
- Wear, discoloration or marks on the finish, metal plating or wood grain of the guitar.
- Setups, adjustments, tonal characteristics or routine maintenance of any kind.
- Instruments that have been damaged due to misuse or neglect.
- Normal wear and tear to hardware including: strings, tuning machines, frets, switches, electronic components, jacks, pickguards, and plated surfaces.
Please contact us first to resolve any warranty issues.
Warranty Questions:
Traveler Guitar ATTN: Warranty Information
440 Business Center Court
Redlands, CA 92373 USA
[email protected]
travelerguitar.com
EG-1 CUSTOM

References
Traveler Guitar | Acoustic | Electric | Hybrid | Bass Guitars
Traveler Guitar | Acoustic | Electric | Hybrid | Bass Guitars
Product Registration – Traveler Guitar
AAA Battery Compartment – Traveler Guitar
EG-1, EG-2, EC-1, Escape Series Gig Bag – Traveler Guitar
Metal Rod – Traveler Guitar
Jackplate for Traveler Guitar Custom Headphone Amp equipped guitars
1/4" Output Jack for Traveler Guitar Headphone Amp
1/8" Aux-In Jack for Traveler Guitar Headphone Amp
1/8" Headphone Jack for Traveler Guitar Headphone Amp
Spacer Roller – Traveler Guitar
String Guide Roller – Traveler Guitar
Traveler Guitar Headphone Amp PC Board
Traveler Guitar Headphone Tone Potentiometer/ Channel Selector


















