GARDENA Clear, Dirty Water Submersible Pump User Manual
Introduction
This product may be used under supervision, or if instruction regarding the safe use of the product has been provided and the resulting dangers have been understood, by children aged 8 and above, as well as by persons with physical, sensory or mental disabilities or a lack of experience and knowledge. Children must not be allowed to play with the product.
Cleaning and user maintenance must not be performed by children without supervision. The use of this product by young people under the age of 16 is not recommended.
Intended use
The GARDENA Submersible Pump is intended for drainage purposes if flooding occurs but also for transferring water to and from tanks and pumping them out, for drawing water from wells and shafts, for draining boats and yachts and for aerating and circulating water for limited periods and for pumping water containing chlorine and detergents in private domestic gardens and allotments.
Liquids to be pumped:
The GARDENA Submersible Pump must only be used to pump water.
The pump is fully submersible (water-tight encapsulation) and is submerged in water (for max. submersion depth see 7. TECHNICAL DATA).
The product is suitable for pumping the following liquids:
- Clear Water Submersible Pump: clean to slightly dirty water with a max. particle size of 5 mm.
- Dirty Water Submersible Pump: dirty water with a max. particle size of:
Dirty Water Submersible Pump Max. particle size
| Dirty Water Submersible Pump | Max. particle size |
| 9000DIRT | 25 mm |
| 16000DIRT | 35 mm |
| 25000DIRT | 38 mm |
The product is not intended for long term use (continuous circulation operation).
DANGER! Risk of injury! The pump should not be used for the delivery of salt water, corrosive, easily inflammable or explosive liquids (e.g. petrol, paraffin, thinners), oil, heating oil or foodstuffs.
SAFETY
IMPORTANT!
Read the operator’s manual carefully before use and keep for future reference.
Symbols on the product:
General safety warnings Electrical safety
DANGER! Electric shock! Risk of injury due to electric shock
- The product must be supplied through a residual current device (RCD) having a rated residual operating current not exceeding 30 mA.
- Contact GARDENA Service if the Residual
Current Device (RCD) has triggered.
DANGER! Risk of physical injury! Risk of injury due to electric current.
- Disconnect the product from the mains before you maintain or replace parts. Thereby the disconnected socket must be in the visual range.
Safe operating practices
The water temperature should not exceed 35 °C.
The pump must not be used when people are in the water.
Pollution of the liquid could occur due to leakage of lubricants.
Keep bystanders away from the water.
Operate the pump only with the elbow connector.
The hose end should be lower than the maximum delivery head.
Circuit breakers
Thermal protection switch:
In the event of an overload, the pump is switched off by the built-in thermal motor protection.
After sufficient cooling of the motor, the pump is operational again.
Automatic venting:
This pump is equipped with a vent valve which eliminates any air pockets in the pump. Depending on the function, a small amount of water can escape from the side of the housing.
Additional safety warnings Electrical safety
DANGER! Cardiac arrest!
This product makes an electromagnetic field while it operates.
This field may under some conditions interfere with active or passive medical implants.
To decrease the risk of conditions that can possibly injure or kill, we recommend persons with medical implants to speak with their physician and the medical implant manufacturer before you operate the product.
Cables
If extension cables are used, these must comply with the minimum cross-sections in the table below:
| Voltage | Cable length | Cross section |
| 230 – 240 V/50 Hz | Up to 20 m | 1.5 mm2 |
| 230 – 240 V/50 Hz | 20 – 50 m | 2.5 mm2 |
DANGER! Electric shock!
With a cut off mains plug, moisture can get into electrical parts via the mains cable and cause a short circuit.
Never cut the mains plug off (e.g. to feed through wall).- Don’t use the power cable for plugging off.
- If the supply cord is damaged, it must be replaced by the manufacturer, its service agent or similarly qualified persons in order to avoid a hazard.
Mains plug and extension connections must be protected from water splashes.
Ensure that the electrical connections for plugs and sockets are made in areas safe from flooding.
Protect the mains plug and the mains power cable from heat, oil and sharp edges.
Observe the mains voltage. The information on the nameplate must be in agreement with the data for the mains power grid.
The pump’s mains plug must be disconnected before anybody enters the swimming pool or touching the surface of the water.
The mains power cable must not be used for fastening or transporting the pump.
For submerging or lifting/ securing the pump, please use a fastening rope.
Please regularly check the connecting line.
Before using, always subject the pump (especially the power cables and the power connections) to a visual inspection.
A pump which is damaged should not be used.
In the event of damage, have the pump checked by GARDENA Service.
Assembly instructions: Retighten all screws by hand.
Before use after maintenance, make sure that all parts are screwed together.
When using our pumps with a generator, the warnings of the generator manufacturer must be observed.
Personal safety
DANGER! Risk of suffocation!
Small parts can be easily swallowed. There is also a risk that the polybag can suffocate toddlers. Keep toddlers away when you assemble the product.
Observe the minimum water level in accordance with the characteristics given for the pump.
Allow the pump to run no longer than 10 minutes against a closed pressure side.
Sand and other abrasive substances cause increased wear and reduce the pump’s output.
The float switch may only be operated outside the water.
The hose must not be disconnected during operation.
Allow the pump to cool down before troubleshooting.
DANGER! Risk of injury!
Injury when the product starts accidentally.
- Disconnect the product from the mains before you assemble the product.
Connection possibilities of the connection nipple [Fig. A1]:
The hose can be connected via the connection nipple (4) with different hose diameters or the GARDENA Connection System.
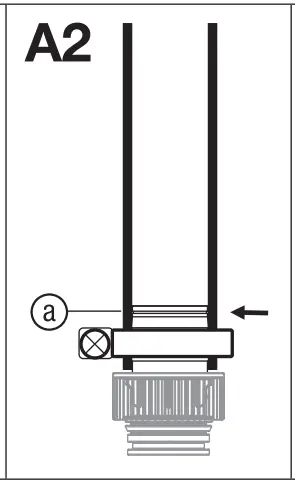
| Large hose diameter | Detach nipple at (a) [ Fig. A2 ]![]() |
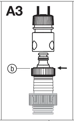
| GARDENA Connection System/ Art. 9046: Medium hose diameter | Detach nipple at (b) [ Fig. A3 ]![]() |
| Small hose diameter | Do not detach nipple [ Fig. A4 ]![]() |
When using the largest hose diameter, the pump has the maximum delivery capacity.
| Pump | Art. 9030 Art. 9032 Art. 9040 | Art. 9042 | Art. 9046 |
| Small hose diameter | 25 mm (1″ | 25 mm (1″) | 32 mm (1 1/4″) |
| Art. GARDENA Hose Clamp | Art. 7193 | Art. 7193 | Art. 7194 |
| Medium hose diameter | GARDENA Connection System G 1″ | 38 mm (1 1/2″) | |
| Art. GARDENA Hose Clamp | GARDENA Connection System G 1″ 32 mm (1 1/4″)* | Art. 7194 | Art. 7195 |
| Large hose diameter | 38 mm (1 1/2″) | 38 mm (1 1/2″) | 51 mm (2″) |
| Art. GARDENA Hose Clamp | Art. 7195 | Art. 7195 | Art. 7196 |
When using the 38 mm (1 1/2″) hose, we recommend the GARDENA Flat Hose Set Art. 5005 with 10 m hose and hose clamp.
* For Art. 9042 an additional connection nipple ß4a for 1 1/4″ hoses is supplied.
To connect the hose via the connection nipple:
- When using the large diameter hose, cut off the connection nipple (4) at (a)
- Only for Art. 9046: When using the medium hose diameter, cut off the connection nipple (4) at (b).
- Push the hose onto the connection nipple (4).
- Fix the hose to the connection nipple (4) e.g. with a GARDENA Hose Clamp.
Connect hose via the GARDENA Connection System:
With 25000DIRT (Art. 9046) the hose cannot be connected
via the connection nipple (4) with the GARDENA Connection System.
19 mm (3/4″)/15 mm (5/8″) and 13 mm (1/2″) hoses can be connected via the GARDENA Connection System.
We do not recommend hose diameters smaller than 25 mm (1″), otherwise there will be a significant reduction in the output of the delivery rate.
| Hose diameter | Pump connection | |
| 13 mm (1/2″) | GARDENA Pump Connection Set | Art. 1750 |
| 15 mm (5/8″) | GARDENA Pump Connection Set | Art. 1750 |
| 19 mm (3/4″) | GARDENA Pump Connection Set | Art. 1752 |
- Cut off the connection nipple (4) at (b).
- Connect the hose to the connection nipple (4) via the appropriate GARDENA Connection System.
To assemble the pump connection [Fig. A5]:
DANGER! Risk of injury!
Cut injury by the impeller.
- Operate the pump only with the elbow connector.
The hose can be easily connected and disconnected using the locking devices (2) on the elbow connector (1).
- Screw the elbow connector (1) clockwise into the pump until it stops. (If the hose is to be installed horizontally, the elbow connector (1) can be screwed out again up to half a turn.)
- Only for Art. 9042/9046: Screw the connection piece (3) into the connection nipple (4).
- Push the connection nipple (4) of the hose into the elbow connector (1) until it stops and it engages audibly and visibly.
The hose is securely connected to the pump
OPERATION
DANGER! Risk of injury!
Injury when the product starts accidentally.
- Disconnect the product from the mains before you connect, adjust or transport the product.
To pump water:
If the pump cannot be immersed via the handle, the pump must always be immersed via a rope. Attach the rope by pulling it through the eyelets provided and knotting it.
Minimum immersion depth during initial operation see 7. TECHNICAL DATA.
Take care that the pump is located where the inlet openings at the suction base are not obstructed neither completely nor partly.
Stand the pump on a brick if using in a pond.
If the suction process is close to the minimum water level at start-up, the suction process may take longer.
- Immerse the pump.
- Connect the pump to the mains.
Attention! The pump can start immediately depending on the float switch setting.
Automatic mode with float switch [Fig. O1]:
By adjusting the float switch (5) you have the possibility to determine the switching heights.
For safe operation, the float switch must be able to move freely around the pump.
To adjust the Cut-in and Cut-out Height [Fig. O1]:
The maximum cut-in height and minimum cut-out height (see 7. TECHNICAL DATA) can be adjusted by pushing the float switch wire into the float switch lock.
- The higher the cable is clamped, the higher the cut-in and cut-out height.
- The shorter the length of cable between the float switch (5) and the float switch lock (A), the lower the cut-in height and the higher the cut-out height.
- Push the cable of the float switch (11) into one of the openings of the float switch lock (A).
- Check that the pump switches off automatically.
CAUTION!
- In order to ensure that the float switch is able to switch on and off, the cable length between the float switch and the float switch lock must be at least 10 cm.
Manual operation [Fig. O2]:
The pump remains permanently in operation because the float switch is bypassed.
- Slide the float switch (5) with the cable downwards onto the float switch locking device (A).
- Place the pump on a firm surface.
- Connect the pump to the mains.
Attention! The pump begins operating immediately.
The pump runs permanently without dry-running protection due to the bypassed float switch.
To avoid damage due to dry running, only operate under supervision.
The minimum residual water depth (see 7. TECHNICAL DATA) is only achieved in manual mode because the float switch already switches off the pump before this when in automatic mode.
MAINTENANCE
DANGER! Risk of injury!
Injury when the product starts accidentally.
- Disconnect the product from the mains before you maintain the product.
To clean the pump:
DANGER! Risk of injury!
Risk of injury and risk of damage to the product.
- Do not clean the product with a water jet (in particular high-pressure water jet).
- Do not clean with chemicals including petrol or solvents. Some can destroy critical plastic parts.
To flush the pump:
After pumping water containing chlorine, detergents or heavily soiled water, the pump must be flushed.
- Pump lukewarm water (max. 35 °C), possibly adding a mild cleaning agent (e.g. detergent) until the pumped water runs clear.
- Remove residuals according to the waste disposal laws applicable in your area.
STORAGE
To put into storage:
The pump is not frost-proof!
The product must be stored away from children.
- Disconnect the pump from the mains.
- Turn the pump upside down until no more water runs out.
- Clean the pump (see 4. MAINTENANCE).
- Store the pump in a dry, enclosed and frost-free place.
Disposal
(in accordance with RL2012/19/EC)
The product must not be disposed of to normal household waste. It must be disposed of in line with local environmental regulations.
IMPORTANT!
- Dispose of the product through or via your municipal recycling collection center.
TROUBLESHOOTING
DANGER! Risk of injury!
Injury when the product starts accidentally.
- Disconnect the product from the mains before you troubleshoot the product
To clean the suction base and the impeller [Fig. T1]:
- Only for Art. 9046: Unscrew the 5 Phillips screws (9) and remove the cover (10).
- Unscrew the 4 Phillips screws (6).
- Pull the suction base (7) off the pump.
- Clean suction base (7) and impeller (8) (the warranty does not become void as a result of this maintenance work).
- Clean the seal (11) carefully to avoid damage and leakage.
- Reassemble the suction base (7) in reverse order.
A damaged seal must be replaced.
For safety reasons a damaged impeller can only be exchanged by the GARDENA Service Centre
| Problem | Possible Cause | Remedy |
| Pump is running, but doesn’t deliver water | Air cannot escape, because the pressure line is closed. (Possible kink in the pressure hose.) |
|
| Air in suction foot. |
| |
| Suction opening is clogged. |
| |
| Hose is clogged. |
| |
| Impeller is blocked. |
| |
| Water level below minimum water level when put into operation. |
| |
| Pump does not start or stops suddenly during operation | Thermal switch has turned the pump off because of overheating. |
|
| Pumping without electricity. |
| |
| RCD has triggered (residual current). |
| |
| Pump is running but the delivery drops suddenly | Suction opening is clogged. |
|
| Hose is clogged. |
|
NOTE: For any other malfunctions please contact the GARDENA service department.
Repairs must only be done by GARDENA service departments or specialist dealers approved by GARDENA.
TECHNICAL DATA
| TECHNICAL DATA | ||||||
| Submersible Pump | Unit | Value (Art. 9030) | Value (Art. 9032) | Value (Art. 9040) | Value (Art. 9042) | Value (Art. 9046) |
| Rated power | W | 300 | 450 | 300 | 450 | 1100 |
| Mains voltage | V (AC) | 230 | 230 | 230 | 230 | 230 |
| Mains frequency | Hz | 50 | 50 | 50 | 50 | 50 |
| Max. delivery capacity | l/h | 9000 | 11 000 | 9000 | 16 000 | 25 000 |
| Max. pressure / | bar / | 0.6 / | 0.7 / | 0.6 / | 0.7 / | 1.1 / |
| Max. delivery head | m | 6.0 | 7.0 | 6.0 | 7.0 | 11.0 |
| Max. submersion depth | m | 7 | 7 | 7 | 7 | 7 |
| Submersible Pump | Unit | Value | Value | Value | Value | Value |
| (Art. 9030) | (Art. 9032) | (Art. 9040) | (Art. 9042) | (Art. 9046) | ||
| Min. / max. cut-in height | mm | 250 / 390 | 230 / 400 | 230 / 400 | 260 / 420 | 300 / 600 |
| Min. / max. cut-out height | mm | 45 / 90 | 50 / 90 | 50 / 90 | 50 / 90 | 120 / 200 |
| Residual water level | mm | 2 | 2 | 25 | 35 | 38 |
| Dirty water with max. particle mm | 5 | 5 | 25 | 35 | 38 | |
| Minimum water depth for mm | 10 | 10 | 30 | 45 | 45 | |
| Power cable m 10 (H05RN-F) 10 (H05RN-F) 10 (H05RN-F) 10 (H05RN-F) 10 (H07RN-F) | ||||||
| Weight without cable (approx.) | kg | 4.1 | 4.6 | 4.2 | 4.7 | 7.1 |
| Connection thread water outlet | Inch | G 1 1/4″ | G 1 1/4″ | G 1 1/2″ | G 1 1/2″ | G 1 1/2″ |
Note: The switch on/ switch-off heights and the minimum water level on start-up were calculated without the height differences to be negotiated. Pump heads of approx. 1 m or more may result in longer suction times of up to 1 minute, or higher minimum water levels of up to +5 cm.
ACCESSORIES
| GARDENA Flat Hose Set | 10 m 38 mm (1 1/2″) hose with hose clamp. | Art. 5005 |
| GARDENA Hose Clamp | For 25 mm (1″) hoses via the connection nipple. | Art. 7193 |
| GARDENA Hose Clamp | For 32 mm (1 1/4″) hoses via the connection nipple. | Art. 7194 |
| GARDENA Hose Clamp | For 38 mm (1 1/2″) hoses via the connection nipple. | Art. 7195 |
| GARDENA Hose Clamp | For 51 mm (2″) hoses via the connection nipple. | Art. 7196 |
| GARDENA Pump Connection Set | For 19 mm (3/4″) hoses via the GARDENA Connection System. | Art. 1752 |
SERVICE/WARRANTY
Service:
Please contact the address on the back page.
Warranty statement:
In the event of a warranty claim, no charge is levied to you for the services provided.
GARDENA Manufacturing GmbH grants a warranty for all original GARDENA new products for two years from the date of original purchase from the retailer, provided that the devices have been for private use only.
This manufacturer’s warranty does not apply to products acquired second hand.
This warranty includes all significant defects of the product that can be proved to be material or manufacturing faults.
This warranty is fulfilled by supplying a fully functional replacement product or by repairing the faulty product sent to us free of charge; we reserve the right to choose between these options.
This service is subject to the following provisions:
- The product has been used for its intended purpose as per the recommendations in the operating instructions.
- Neither the purchaser nor a third party has attempted to open or repair the product.
- Only Original GARDENA replacement parts and wear parts have been used for operation.
- Presentation of the receipt.
Normal wear and tear of parts and components (such as blades, blade fixing parts, turbines, light bulbs, V-belts / toothed belts, impellers, air filters, spark plugs), visual changes, wear parts and consumables are excluded from the warranty.
This manufacturer’s warranty is limited to replacement and repair of products in accordance with the abovementioned conditions. The manufacturer’s warranty does not constitute an entitlement to lodge other claims against us as a manufacturer, such as for damages. This manufacturer’s warranty does not, of course, affect statutory and contractual warranty claims against the dealer/retailer.
The manufacturer’s warranty is governed by the law of the Federal Republic of Germany.
In case of a warranty claim, please return the faulty product, together with a copy of the receipt and a description of the fault, with postage paid to the service address.
Consumables:
The impeller is a consumable and is not included in the warranty
Product liability
In accordance with the German Product Liability Act, we hereby expressly declare that we accept no liability for damage incurred from our products where said products have not been properly repaired by a GARDENA-approved service partner or where original GARDENA parts or parts authorized by GARDENA were not used.
EC Declaration of Conformity
The undersigned hereby certifies as the authorized representative of the manufacturer, GARDENA Germany AB, PO Box 7454, S-103 92, Stockholm, Sweden, that, when leaving our factory, the unit(s) indicated below is/ are in accordance with the harmonized EU guidelines, EU standards of safety and product specific standards. This certificate becomes void if the unit(s) is/ are modified without our approval.
Description of the product:
Clear Water Submersible Pump /Dirty Water Submersible Pump
Product type:
9000CLEAR
11000CLEAR
9000DIRT
16000DIRT
25000DIRT
Article number:
9030
9032
9040
9042
9046
Authorized representative
Reinhard Pompe
Vice President
Wolfgang Engelhardt
Vice President Supply Chain
Year of CE marking: 2020
EC-Directives:
2011/65/EU
2014/30/EU
2014/35/EU
Harmonized EN:
EN ISO 12100
EN 60335-1
EN 60335-2-41
Customer Support
Deposited Documentation:
GARDENA Technical Documentation,
M. Kugler, 89079 Ulm
Husqvarna Australia Pty. Ltd.
Locked Bag 5
Central Coast BC
NSW 2252
Phone: (+61) (0) 2 4352 7400
customer. service@
husqvarna.com.au
References
Husqvarna UK | Chainsaws, Lawn Mowers & Garden Tools
Husqvarna Forest & Garden
Husqvarna Australia | Tools & Equipment for Lawn, Garden and Forestry
Husqvarna Brasil
Husqvarna Colombia
Husqvarna Ecuador
Husqvarna Magyarország
Husqvarna Group
www.net.ve - This website is for sale! - www Resources and Information.
DETO HANDELMAATSCHAPPIJ N.V.. DETO SHOWROOM
GARDENA - Garden tools - GARDENA
GARDENA Service - GARDENA Support
Produkt Service - Reparatur Service - GARDENA
GARDENA - puutarhatyökalut - GARDENA
Садовый Инвентарь | Садовые Инструменты | GARDENA






















