metos Novocold Mini Dispenser

Purpose of use
Novocold Mini dispenser is for a professional use of dispensing coffee milk and coffee cream as well as food beverages. The device is designed for one or two 3-liter bag-in-box (BIB) bags.
Note!
The device is not intended for liquid cooling or long-term storage.
Reception
Examine the product carefully as soon as you receive it. If you notice that it has suffered from damages during transportation, you must indicate this in the delivery document and report to the carrier and the retailer.
Note!
he manufacturer’s guarantee does not cover damages caused by transportation.
Installation
The temperature of the air surrounding must not exceed +25 °C or fall below +16 °C. The climate class is 3 (+25 °C / 60%-rh). Remove all protective films on the outside of the cabinet. Install the device on a horizontal and hard surface so that the foot sleeves in the corners of the appliance are firmly attached to the table surface.
Note!
The device must not be used outdoors nor exposed to rain.
Note!
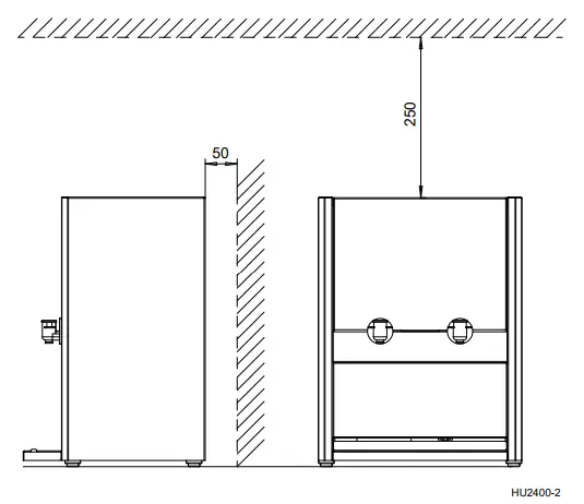
The air circulation at the front and back of the device must be unobstructed. The device takes the condensing air from the front and blows it out from behind the device. Leave the appliance at least 5 cm away from the wall. Leave a space of at least 25 cm on the appliance to remove the lid and install the tap bag.
Introduction
Thoroughly clean the device with a mild detergent, such as dishwashing detergent, before use. See section “Cleaning”.
Install the drip tray assembly. Place the grill plate on top of the tray so that the guide pins in the front corners of the pool pass through the openings in the grill plate (A).
Push the drip tray assembly into the appliance as far as it will go. Only the perforation of the grill plate remains visible from the drip tray. The drip tray cannot be inserted if it is installed the wrong way round.
Note!
The drip tray and the grill plate can be washed in the dishwasher.
Wash the drip tray and grill at the end of each serving session.
Connect the connection cord of the cabinet to an earthed 230 V / 50 Hz wall socket with its own 10 A safety fuse. Check the voltage and frequency of the cabinet from the rating plate Avoid using extension cords.
The rating plate is located on the right side of the rear wall of the device. The first part of the manufacturing number of the appliance indicates the year and week of manufacture of the appliance. The second part of the manufacturing number is a unique identifier. The device in the photo was manufactured in 2022 at week 1.
Using the device
The internal temperature of the appliance cannot be adjusted steplessly.
There are two switches on the back of the device.
- Switch A:
Press the switch on the left to position 1 to start cooling the appliance and the condenser fan (A1).
The internal temperature with one fan is below +6 °C with an ambient temperature below +25 °C. - Switch B:
If, for example, the ambient temperature rises above +25 °C in the summer, start the auxiliary condenser fan (B1) at switch B, which will reduce the internal temperature of the appliance.
The internal temperature with two fans is below +6 °C with an ambient temperature above +25 °C.
Note!
Switch on the appliance about an hour before it starts serving. Only put pre-chilled beverage packaging in the appliance.
Note!
Switch off and clean the appliance at the end of each operating cycle. Move refill bags to cold storage.
BIB bag installation
Lift the device cover straight up to release it from its holders. The front edge has a small lifting handle (A) and the rear edge has a cover-wide lifting surface and a cover locking ball latch (B).

Carefully lower the pre-cooled BIB bag into the U-slot of the tank so that the largest collar of the tap is behind the aluminium plate inside the tank (C). The outer collar of the tap rests on the outside of the black front panel (D).
Close the lid of the appliance tightly so that the BIB bag is not pinched between the lid.
Remove the BIB bag tap seal (E) by turning the seal clockwise around the tap. Remove the seal and the BIB is ready for use.
Note!
If you are using only one BIB, insert the cap (F) into the empty tap opening to prevent the tank from heating up. Insert the cap into the empty opening in the same way as BIB the tap.
Cleaning
- Clean spillages immediately.
- Move BIB bags in the cold store for cleaning.
- Switch off the device.
Note!
- The lid of the device is not suitable for washing. Just wipe it clean.
- Remove the device lid and the drip tray with its grill. The drip tray and grill are dishwasher safe.
- Wash the stainless steel surfaces of the cabinet with a mild detergent mixed with water, e.g. dishwasher detergent or other suitable food safe cleaning product.
- Use a cloth or paper towel to prevent scratching the steel surface.
- Wipe with down with a cloth and allow the cabinet to dry.
Note!
Do not use detergents or disinfectants containing chlorine i.e. bleach, solvents, scouring products, or a knife or other sharp tools when cleaning.
Note!
Never use running water or a pressure washer to clean the device.
Note!
Refer to the product description of the disinfectant to see which materials it is suitable for. Dry the equipment after the disinfection and let it ventilate.
Carefully clean the condenser fans of the appliance, for example with the brush nozzle of a vacuum cleaner. Carefully pour the empty device onto its back to make it easier to vacuum the fans. It is good to clean every 6 months.
Note!
If the BIB bag breaks inside the appliance, remove the plug from the socket and pour the empty appliance on its back. Drain all liquid from the tank compartment and clean the entire unit thoroughly. Allow the device to dry before use.
Operation failures
If the cabinet fails to cool check that:
- the appliance is switched on and the condenser fan is running
- the air circulation in the condenser is not blocked
- the ambient temperature is not too high
Start the auxiliary condenser fan if the ambient temperature rises above +25 °C in summer, for example.
If the machinery makes a strange sound:
- check that the fan is not damaged
If the malfunction cannot be corrected by checking the above points move the BIB bags to another cold store, switch off the empty device, unplug the power cord and contact a service center.
Disposal of the equipment
Once the equipment becomes redundant it must not be disposed of with normal waste because the equipment is governed by the WEEE directive. It has to be disposed of following the WEEE act.
Guarantee
Check the guarantee period at your merchandiser. The guarantee does not cover faults caused by:
- the device is installed according to the supplied installation instructions
- the device is only used for its intended purpose
- the device has been used and maintained in accordance with the instructions provided
- modifications or repairs performed by an unauthorized service agent
- variation in rated voltage exceeding ±10% (thunder, etc.)
The manufacturer’s warranty does not cover transport damage or repair of defects, such as surface scars, which are not relevant to the operation of the appliance.
Maintenance during the guarantee period
When ordering a guarantee repair the following information for the equipment has to be given:
- production / serial number, type of the equipment
- when the guarantee is concerned it has to be confirmed by e.g. a purchase invoice.
Device safety areas

Main dimensions of the device
Metos Oy Ab
Ahjonkaarre, FI-04220 Kerava, Finland Tel. +358 204 3913
e-mail: [email protected]
www.metos.com




















