
BLUETOOTH:
The Bluetooth® word mark and logos are registered trademarks owned by Bluetooth SIG,. Inc.
HDMI:
The terms HDMI, HDMI High-Definition Multimedia Interface, and the HDMI Logo are trademarks or registered trademarks of HDMI Licensing Administrator, Inc.
Basic operation
- ON/standby
1. Press to switch the unit between ON and STANDBY mode. (Standby – RED LED) - Select the Bluetooth mode
2. Select the Bluetooth mode.
Press and hold to activate the pairing function in Bluetooth mode or disconnect the existing paired Bluetooth device. - Source selection
3. Press repeatedly to select a signal source BT (Bluetooth), LINE, OPT (Optical), ARC (HDMI) and USB mode. - Volume control
4. Press +/- to Increase/decrease the volume level. - Playback control
5. Skip to previous/next track in Bluetooth or USB mode.
6. Play/pause/resume playback in Bluetooth or USB mode.
Hold down this button for 3 seconds to disconnect Bluetooth. - Audio mute
7. Press to mute or resume the sound - Custom equalizer settings
8. Press BASS +/- to adjust bass level.
9. Press TRE +/- to adjust treble level.
Note: these only change the CUST EQ setting. - EQ-equalizer mode
10. EQ – Press repeatedly to switch between EQ1, EQ2, EQ3 and CUST equalizer modes.
Important safety instructions
Please, read these safety instructions and respect the following warnings before the appliance is operated:
- The lightning flash with arrowhead symbol, within an equilateral triangle, is intended to alert the user to the presence of uninsulated “dangerous voltage” within the product’s enclosure that may be of sufficient magnitude as to constitute a risk of electric shock to persons.
- The exclamation point within an equilateral triangle is intended to alert the user to the presence of important operating and maintenance (servicing) instructions in the literature accompanying the appliance.
- This symbol means that the product should be disposed of in an environmentally friendly manner and not with general household waste.
- AC voltage
- Class II equipment
In order to prevent fi re always keep candles and other open flames away from this product.
Warning:
- Always follow basic safety precautions when using this appliance, especially when children are present.
- Children should be supervised to ensure that they do not play with the appliance.
- Do not damage the power cord, do not place any heavy objects on it, do not stretch it or bend it and do not attach extension cables. Damage to the power cord may cause fire or electric shock.
- If the power cord is damaged, it must be replaced by the manufacturer, a service agent or similarly qualified persons in order to avoid a hazard.
- Ensure that the unit is plugged into an AC 100-240V 50/60Hz power outlet. Using higher voltage may cause the unit to malfunction or even catch fire.
- If the power plug does not fit into your outlet, do not force the plug into an electrical socket.
- Turn off the unit before unplugging it from power source.
- Do not disconnect or connect the power cord with wet hands. It may cause an electric shock.
- Disconnect the power cord if the unit is not going to be used for a long time.
- Ensure that the mains plug is always easily accessible.
- This product does not contain any parts that are serviceable by the user. In case of a fault, contact the manufacturer or authorized service department. Exposing the internal parts inside the device may endanger your life. The manufacturers guarantee does not extend to faults caused by repairs carried out by unauthorized third parties.
- Do not use this product immediately after unpacking. Wait until it is at room temperature before using it.
- Ensure this product is used in moderate climates only (not in tropical/ subtropical climates).
- Place the product on a flat, stable surface that is not subject to vibrations.
- Ensure the product and its parts do not hang over the edge of the supporting furniture.
- To reduce the risk of fire, electric shock or damage to this product, do not expose it to direct sunlight, dust, rain and moisture. Never expose it to dripping or splashing liquids.
- Do not place objects filled with liquids, such as vases, on the apparatus.
- Do not install near any heat sources such as radiators, stoves, or other apparatus (including amplifiers) that produce heat.
- Do not place the product where the humidity is high and ventilation is poor.
- Ensure a minimum distance of 5 cm around the apparatus for sufficient ventilation. Do not block any ventilation openings of this product. Always ensure that the ventilation openings are not covered with items such as newspapers, table-cloths, curtains, etc.
- NEVER let anyone, especially children, push anything into holes, slot or any other openings in the unit’s casing as this could result in a fatal electric shock.
- Storms are dangerous for all electrical appliances. If the mains or aerial wiring is struck by lightning, the appliance might get damaged, even if it is turned off . You should disconnect all the cables and connectors of the appliance before a storm.
Maintenance
- Unplug the power cable from the power source before cleaning the appliance.
- Use a soft and clean cloth to clean the outside of the unit. Never clean it with chemicals or detergent.
Batteries
- Observe the correct polarity when inserting the batteries.
- Do not expose batteries to high temperatures and do not place them in locations where the temperature might increase quickly, e.g. near fire or in direct sunshine.
- Do not expose batteries to excessive radiant heat, do not throw them into the fire, do not disassemble them and do not try to recharge non-rechargeable batteries; they could leak or explode.
- Disposal of a battery into fire or mechanically crushing or cutting a battery can result in an explosion.
- Leaving a battery in an extremely high temperature surrounding environment can result in an explosion or the leakage of flammable liquid or gas.
- A battery subjected to extremely low air pressure may result in an explosion or the leakage of flammable liquid or gas.
CAUTION: Risk of explosion or damage to equipment, if incorrect type batteries are used.
- Never use different batteries together or mix new and old batteries together.
- When the remote control is not to be used for a long time (more than a month), remove the batteries from the remote control to prevent them from leaking.
- If the batteries leak, wipe away the leakage inside the battery compartment and replace the batteries with new ones.
- Do not use any batteries other than those specified.
- Do not ingest battery, chemical burn hazard
- If the battery is swallowed, it can cause severe internal burns in just 2 hours and lead to death. Keep new and used batteries away from children. If the battery compartment does not close securely, stop using the product and keep it away from children. If you think batteries might have been swallowed or placed inside any part of the body, seek immediate medical attention.
Disposal of this equipment and batteries
- Do not dispose of this product or its batteries as unsorted municipal waste. Return it to a designated collection point for the recycling of WEEE in accordance with local law. By doing so, you will help to conserve resources and protect the environment.
- Most of the EU countries regulate the disposal of batteries by law. Recycling symbol appears on electrical equipment, packaging and batteries to remind users to dispose these
items correctly. Users are requested to use existing return facilities for used equipment and batteries. Contact your retailer or local authorities for more information.
CE and UKCA statement:
- Hereby, Sharp Consumer Electronics Poland sp. zoo. declares that this audio device is in compliance with the essential requirements and other relevant provisions of RED Directive 2014/53/EU and UK Radio Equipment Regulations 2017.
- The full text of the EU declaration of conformity is available by following the link www.sharpconsumer.com and then entering download section of your model and choosing “CE Statements”.
What is included in the box:
- 1 × Main unit
- 1 × Wireless subwoofer
- 1 × Remote control
- 2 × AAA battery
- 1 × User guide
- 1 × Quick start guide
- 1 × Warranty card
- 2 × Power cord
- 1 × Wall-mounting installation set
- 4 × Silicone pads for sound bar
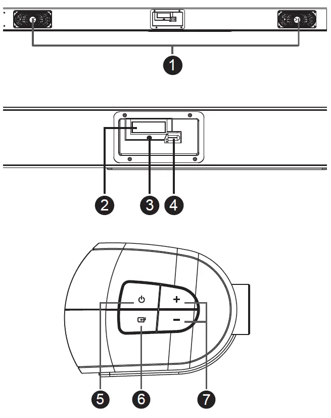
Controls

- Speaker
- Display screen
- LED standby indicator
- IR sensor – for remote control
- Standby button – Switch the unit between ON and STANDBY mode.
- Source button – Select the audio input to playback.
- Volume +/- button – Increase/decrease the volume level.
Inputs/outputs

- AC~ Socket – Connect power cord.
- ARC/CEC Socket – Connect to a TVs HDMI (ARC) input via an HDMI cable.
- USB Socket – Used to connect a USB flash disk.
- OPTICAL Socket – Digital optical input jack.
- AUX IN Socket – Used to connect an external audio device.
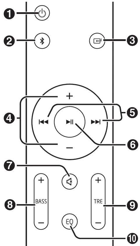
Remote control

- Switch the unit between ON and STANDBY mode.
- Select the Bluetooth mode. Press and hold to activate the pairing function in Bluetooth mode or disconnect the existing paired Bluetooth device.
- Press repeatedly to select a signal source BT (Bluetooth), LINE, OPT (Optical), ARC (HDMI) and USB mode.
- +/- Increase/decrease the volume level.
- / Skip to previous/next track in Bluetooth or USB mode.
- Play/pause/resume playback in Bluetooth or USB mode. Hold down this button for 3 seconds to disconnect Bluetooth.
- Mute or resume the sound.
- BASS +/- Adjust bass level. This only changes CUST EQ settings.
- TRE +/- Adjust treble level. This only changes CUST EQ settings.
- EQ Press repeatedly to switch between EQ1, EQ2, EQ3 and CUST equalizer modes.
Remote control operation
- The provided remote control allows the unit to be operated from a distance.
- Even if the remote control is operated within the effective range of 6m,remote control operation may be impossible if there are any obstacles between the unit and the remote control.
- If the remote control is operated near other products which generate infrared rays, or if other remote control devices using infra-red rays are used near the unit, it may operate incorrectly. Conversely, the other products may operate incorrectly.
Battery installation
- Press the battery compartment cover release clip in the direction of the arrow and then pull the cover away from the remote.
- Insert two AAA size batteries (included). Make sure the (+) and (–) ends of the batteries match the (+) and (–) ends indicated in the battery compartment.
- Close the battery compartment cover ensuring the release clip is secured.

First time installation
Placement and mounting

- A:Normal placement (Place sound bar on level surface in front of TV.)
- B: Wall mounted
Wall mounting
NOTE:
- Installation must be carried out by qualified personnel only. Incorrect assembly can result in personal injury and property damage. If you intend to install this product yourself, you must check for installations such as electrical wiring and plumbing that may be buried inside the wall. It is the installer’s responsibility to verify that the wall will safely support the total load of the unit and wall brackets.
- Additional tools (not included) are required for the installation.
- Do not overtighten screws.
- Keep this instruction manual for future reference.
- Use an electronic stud finder to check the wall type before drilling and mounting.

- Drill 2 parallel holes (Ø 6 mm) in the wall. The distance between the holes should be 660 mm.
Firmly fix one wall plug into each hole in the wall and then insert screws into them. - Leave a 4mm gap between the wall and the screw’s head. Lift the unit with the attached wall brackets over the heads of the screws and slot into place.
Connect to power
- Before connecting the power cable, ensure you have completed all other connections.
- Risk of product damage! Only use the supplied mains cable. Failure to to do this may result in a safety risk and/or damage to the unit.
- Connect the power cable to the AC IN socket of the unit and then into a mains socket.
Connections

HDMI (ARC/CEC)
The ARC (Audio Return Channel) function allows you to send audio from your ARC- compliant TV to your sound bar through a single HDMI connection. To enjoy the ARC function, please ensure your TV is both HDMI-CEC and ARC compliant and set up accordingly. When correctly set up, CEC will allow you to use the TV remote to control basic functions of the sound bar like on/standby, volume and mute.
- Connect the HDMI cable (not included) from unit‘s ARC/CEC (HDMI) input to the HDMI (ARC) socket on your ARC compliant TV. Then press the SOURCE button on the remote control to select ARC (HDMI).
TIPS:
- Your TV must support the HDMI-CEC and ARC function. HDMI-CEC and ARC must be set to on/active in the TV’s settings menu.
- The setting method of HDMI-CEC and ARC may differ depending on the TV. For details about ARC function, please refer to your TV owner’s manual.
- Only HDMI cables of version 1.4 or higher can support the ARC function.
- While in HDMI/ARC/OPTICAL mode, if there’s no sound output from the unit, you may need to activate PCM signal output on your source device (eg. TV, DVD or Blu-ray player).

OPTICAL INPUT
- Use the optical cable to connect the optical input of this sound bar to the optical output of an audio source device.
TIPS:
While in HDMI/ARC/OPTICAL mode, if there’s no sound output from the unit, you may need to activate PCM signal output on your source device (eg. TV, DVD or Blu-ray player).
AUX IN
You can use the Aux-in to playback analogue stereo audio signals from external devices.
- Use a RCA to 3.5mm audio cable (not included) to connect the TV’s audio output sockets to the AUX IN socket on the unit.
- Use a 3.5mm to 3.5mm audio cable (not included) to connect the TV’s or external audio device headphone socket to the AUX IN socket on the unit.
TIP:
When you use the headphone output on the TV set, you will be able to adjust the volume level directly using the TV remote control.
Pairing the wireless subwoofer with the main unit
Automatic pairing:
The subwoofer and sound bar will automatically pair when both units are plugged into the power supply and turned on. No cable is needed for connecting the two units.
- When the subwoofer is pairing with the main unit, the pairing indicator
(red LED) will flash fast. - When the subwoofer is paired with the main unit, the pairing indicator (blue LED) will light up.
NOTE:
- To disconnect the sound bar and subwoofer: press and hold the SOURCE button on the sound bar; the red LED indicator on the subwoofer will
- ash when disconnected.
- To reconnect the sound bar and subwoofer: press and hold the SOURCE button again on the sound bar; the blue LED indicator on the subwoofer will light up when connected.
- Do not press the PAIR button on the rear of the subwoofer, except for manual pairing.
- If the automatic pairing fails, pair the subwoofer with the main unit manually.
Manual Pairing:
- Press the PAIR button on the rear of the subwoofer, the subwoofer’s red light will flash 2x.
- Reset the sound bar – long press (5s) the power key when the sound bar is in LINE mode; the sound bar will reset and go in to standby.
- Power on the sound bar. The sound bar will search and pair with the subwoofer automatically.
NOTE:
- If the wireless connection fails again, check if there is conflict or strong interference (for example, interference from an electronic device) around your location. Remove these conflicts or strong interferences and repeat the above procedures.
- The subwoofer should be within 6m of the sound bar in an open area.
- If a device is connected via HDMI (with CEC active), the main unit and he subwoofer will switch on automatically when the external device is switched on.
Basic operation
STANDBY/ON
- When you first connect the unit to the mains power, the unit will be in STANDBY mode.
- Press the button on the remote control to switch the main unit ON or to STANDBY.
- Disconnect the plug from the wall socket if you want to switch the unit off completely.
- When the unit detects no input signal for over 15 minutes, it will automatically switch to STANDBY mode.
Select modes
- Press the button on the unit repeatedly or press the / button on the remote control to select the desired mode.
Adjust the volume
- Press the + / – buttons on the unit or on the remote control to adjust the volume
- If you wish to turn the sound off, press the button on the remote control. Press the button again or press the +/- buttons on the unit or on the remote control to resume
normal listening.
Select equalizer (EQ) effect
- While playing, press the EQ button on the remote control to select between preset equalizers.
- Each time the button is pressed it will cycle between the EQ functions as below:
- EQ1 – Music (recommended for listening to all types of music)
- EQ2 – Movie (recommended for use with movies)
- EQ3 – News (recommended for listening to voices)
- CUST – Custom (use to set personal bass/treble settings)
NOTE:
- Bass/Treble setting is available only in custom (CUST) preset.
- EQ default is EQ1 (Music)
- CUST default settings Bass/Treble level = 0volume.
To playback from USB media
- Press the button on the sound bar repeatedly or on the remote control until “USB” appears on the display. Connect the USB memory device containing MP3/WAV files (drives up to 32GB supported).
- Press the button to start playback.
- Turn off the sound bar before removing the USB memory device.
NOTE
SHARP will not be held liable for any loss of data while the USB memory device is connected to this unit. Always back up your music before playing on this product.
Various USB functions (remote control)
- To play or pause.
- Skip to next song | Press and hold to fast forward.
- Skip to song beginning | Press and hold to fast reverse.
HDMI (ARC)/OPTICAL/LINE IN
- Ensure that the unit is connected to the TV or audio device.
- While in ON mode, press the button on the unit repeatedly to select the desired mode.
- Operate your source audio device directly for playback features.
- Press the +/– button to adjust the volume to your desired level.
TIP:
While in HDMI (ARC)/OPTICAL mode, if there’s no sound output from the unit, you may need to activate PCM signal output on your source device (eg. TV, DVD or Blu-ray player).
Bluetooth operation
Pair Bluetooth-enabled devices
The first time you connect your Bluetooth device to this sound bar, you need to pair your device to this unit.
NOTE:
- The operational range between this unit and a Bluetooth device is approximately 8 meters (without any object between the Bluetooth device and the unit).
- Before you connect a Bluetooth device to this unit, ensure you know the device’s capabilities.
- Compatibility with all Bluetooth devices is not guaranteed.
- Any obstacle between this unit and a Bluetooth device can reduce the operational range.
- If the signal strength is weak, your Bluetooth receiver may disconnect, but it will re-enter pairing mode automatically.
- Turn on the sound bar by pressing the standby button.
- Press the button on the unit repeatedly or button on the remote control to select Bluetooth mode. Bluetooth mode is activated and unit will display NObt.
- Enter the Bluetooth search mode on the device you wish to connect to
the sound bar. - Select SHARP HT-SBW202 from the list.
- Your device and the sound bar will now be connected; and unit will display bt.
-To disconnect your device, switch off the Bluetooth connection or hold down button on the remote control for 3 seconds.
TIPS:
- Enter “0000” for the password if requested.
- The player will also be disconnected when your device is moved beyond the operational range.
- If you want to reconnect your device to this unit, place it within the operational range.
- If the device is moved beyond the operational range, when it is brought back, please check if the device is still connected to the unit.
- If the connection is lost, follow the instructions above to pair your device
Listen to music from Bluetooth device
- If the connected Bluetooth device supports Advanced Audio Distribution Profile (A2DP), you can listen to the music stored on the device through the sound bar.
- If the device also supports Audio Video Remote Control Pro le (AVRCP), you can use the sound bar‘s remote control to play music stored on the device.
- Pair your device with the unit.
- Play music via your device (if it supports A2DP).
- Use the supplied remote control to control playback (if your device supports AVRCP).
- To pause/resume play, press the button on the remote control.
- To skip to a track, press the / buttons on the remote control.to the unit again.
Troubleshooting
To keep the warranty valid, never try to repair the product yourself. If you encounter problems when using this unit, review the following before requesting service/support.
No power
- Ensure that the power adaptor is properly connected to the units AC IN socket and to the mains socket.
- Ensure that there is power at the AC outlet.
- Press standby button on the remote control or sound bar to turn the sound bar on.
No sound
- Increase the volume. Press Volume Up on the remote control or on the right side of the sound bar.
- Press MUTE on the remote control to ensure the sound bar is not muted.
- Press source buttons to select a different input source.
- When using either of the Digital inputs (HDMI/Optical), if there is no audio:
- Try setting the TV output to PCM or
- Connect directly to your Blu-ray/other source, some TVs do not pass through digital audio (the TV’s HDMI does not support ARC functionality).
- Your TV may be set to variable audio output. Confirm setting is set to FIXED or STANDARD, not VARIABLE. Consult your TV’s user manual for more detailed information.
- If using Bluetooth or AUX IN, ensure that the volume on your source device is turned up and that the device is not muted.
Remote control does not work
- Before you press any playback control button, first select the correct source.
- Reduce the distance between the remote control and the unit.
- Insert the battery with its polarities (+/-) aligned as indicated.
- Replace the battery.
- Aim the remote control directly at the sensor on the front of the unit (next to the display).
I hear buzzing or humming
- Ensure all cables and wires are securely connected.
- Connect a different source device (TV, Blu-ray player, etc.) to see if the buzzing persists. If it does not, the problem may be with the original device.
- Connect your device to a different input on the sound bar.
I can’t fi nd the Bluetooth name of this unit on my Bluetooth device
- Ensure the Bluetooth function is activated on your Bluetooth device.
- Re-pair the unit with your Bluetooth device.
Sound bar powers off after 15 mins.
This is an EU regulatory requirement for saving power. When the unit’s external input signal level is not present or too low, the unit will be turned off automatically in 15 minutes. Please switch on or increase the volume level of your external device.rm that the audio output
Technical specification
| Model | HT-SBW202 |
| Sound bar | |
| Power supply | AC 100-240 V ~ 50/60 Hz |
| Power consumption | 25 W |
| Power consumption Stand By | <0.5 W |
| Output power | 2 x 25 W (RMS) |
| Frequency response | 100 Hz – 20 kHz (±10 dB) |
| Subwoofer | |
| Power supply | AC 100-240 V ~ 50/60 Hz |
| Power consumption | 25 W |
| Power consumption Stand By | <2 W |
| Output power | 50 W (RMS) |
| Frequency response | 35 Hz – 130 Hz (±3 dB) |
| Bluetooth | |
| Version | V 4.2 |
| Maximum power transmitted | <13 d b m |
| Frequency bands | 2402 MHz ~ 2480 MHz |
| Remote control | |
| Battery type | 2 x AAA/1.5 V |
| Working environment | |
| Temperature | -10 °C ~ +35 °C |
| Relative humidity | 5 % ~ 90 % |





















