ADLER AD 2933 Electric Shaver User Manual
GENERAL SAFETY CONDITIONS. IMPORTANT INSTRUCTIONS ON SAFETY OF USE PLEASE READ CAREFULLY AND KEEP FOR FUTURE REFERENCE
The warranty conditions are different, if the device is used for commercial purpose.
- Before using the product please read carefully and always comply with the following instructions. The manufacturer is not responsible for any damages due to any misuse.
- The product is only to be used indoors. Do not use the product for any purpose that is not compatible with its application.
- The applicable voltage is 230V, -50Hz. For safety reasons it is not appropriate to connect multiple devices to one power outlet.
- Please be cautious when using around children. Do not let the children to play with the product. Do not let children or people who do not know the device to use it without supervision.
- WARNING: This device may be used by children over 8 years of age and persons with reduced physical, sensory or mental capabilities, or persons without experience or knowledge of the device, only under the supervision of a person responsible for their safety, or if they were instructed on the safe use of the device and are aware of the dangers associated with its operation. Children should not play with the device. Cleaning and maintenance of the device should not be carried out by children, unless they are over 8 years of age and these activities are carried out under supervision.
- After you are finished using the product always remember to gently remove the plug from the power outlet holding the outlet with your hand. Never pull the power cable!!!
- Never leave the product connected to the power source without supervision. Even when use is interrupted for a short time, turn it off from the network, unplug the power.
- Never put the power cable, the plug or the whole device into the water. Never expose the product to the atmospheric conditions such as direct sun light or rain, etc.. Never use the product in humid conditions.
- Periodically check the power cable condition. If the power cable is damaged the product should be turned to a professional service location to be replaced in order to avoid hazardous situations.
- Never use the product with a damaged power cable or if it was dropped or damaged in any other way or if it does not work properly. Do not try to repair the defected product yourself because it can lead to electric shock. Always turn the damaged device to a professional service location in order to repair it. All the repairs can be done only by authorized service professionals. The repair that was done incorrectly can cause hazardous situations for the user.
- Never put the product on or close to the hot or warm surfaces or the kitchen appliances like the electric oven or gas burner.
- Never use the product close to combustibles.
- Do not let cord hang over edge of counter.

- Always unplug the device after using and before cleaning.
- Never use this device close to water, e.g. Under shower, in bath tube, or above sink filled with water.
- If using the device in bathroom after use remove the power plug from the socket, because water proximity presents risk, even if the device is turned off.
- Do not allow the device or power adaptor to wet. If the device falls into water, immediately remove the power plug or power adaptor from the socket. If the device is powered, do not put hands in the water Have the device checked by the qualified electrician before using it again.
- Do not touch the device or power adaptor with wet hands.
- The device has to be turned off after every use.
- In order to provide additional protection, it is recommended to install residue current device (RCD) in the power circuit, with residual current rating not more than 30 mA. Contact Professional electrician in this matter
- If the device utilises a power adaptor, do not cover it, because this can cause a dangerous temperature rise and can damage the device. Always connect the power adaptor cable to the device, and then connect the power adaptor to the power socket.
- The shaver charging temperature should not be above 35 degrees Celsius or below 5 (degrees Celsius.
- Only the shaver head can be washed in water, the other parts of the shaver cannot be ‘immersed in water. Be careful, the hot water can cause burns to your hands (fig. 2)
- Do not use towel or paper tissues for cleaning of shaver head, as they can damage the head.
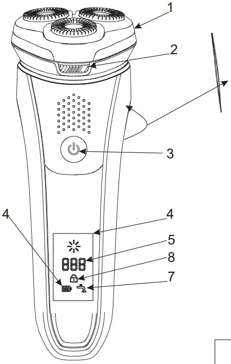
Device description
- Shaver head
- Shaver head release button
- Power switch
- Multi purpose display
- Remaining shaving minutes indicator
- charging indicator
- Cleaning indicator
- Travel lock indicator

- Pup-up trimmer
- Sliding switch for pop-up trimmer

- Charger

- Cleaning brush

Travel lock
- Press the Power Switch and hold for 3 seconds.
- After 3 seconds the device will stop working and the „Locked” (8) sign will appear
- To unlock press and hold the Power Swith for 3 seconds
SHAVER CHARGING
Before charging make sure, that the shaver is switched off. Charging takes about 3 hours. The shaver cannot be plugged to the power ocket for longer than 8 hours.
- Connect the charger cable to the shaver .
- The „’charging” (6) LED will illuminate .
- After full charging of the shaver, unplug the charger from the power socket, then disconnect the cable from the shaver.
- If the battery is discharged during shaving, you can charge the shaver for a couple of minutes in order to finish shaving.
USING SHAVER SHAVING
- Switch the shaver on using the Power button (3) on the housing.
- Move the shaver head along the skin, making straight as well as circular moves .
- After each use put the protective cover on for protection of the shaving heads against the mechanical damage
USING TRIMMER, TRIMMING
For sideburns and moustache shaping.
- Move the sliding switch (10) downwards to open the trimmer. You can use trimmer after switching the device on .
CLEANING AND MAINTENANCE
Frequent shaver cleaning ensures better shaving results.
Clean the head and hair container daily.
- Switch the shaver off, unplug the power cable.
- Push the release button (2), the shaving assembly will open .
- Every few shaves sweep out the cut hair out of the heads and container with attached brush.
pleasing shaver heads (every 6 months)
- Open the shaving assembly (2), turn the lock center clockwise , remove the securing element, and remove the blades.
- Clean the blades and covers using the attached brush . Clean only one set of blade and cover per time. Do not mix the blades and covers. The effective operation of each set can be assured only by exact fit of blades to covers. 1 The heads can be water rinsed.
- After cleaning put the blades into the cover and place the set in the casing, watching the guiding cuts on the cover edge . Make sure 1 the cut on the cover edge matches the tooth on the head casing. Next, put the securing element back on and turn the lock clockwise.
- Close the head until it snaps.
Trimmer cleaning: Clean the trimmer after each use.
1. Switch the shaver off, unplug the power cable and unplug the small plug off the shaver. 2. Clean the trimmer using the attached brush . 3. Every 6 months oil the trimmer teeth with machine oil .
Blade replacement:
Replace the shaving heads every year to ensure optimal device operation. The shaver has long durability if used according to the manual. Damaged or worn shaving heads should be replaced only with original shaving heads.
- Switch the shaver off, unplug the power cable and unplug the small plug off the shaver.
- Open the shaver heads . Turn the lock counterclockwise to remove old blades and covers.
- Put new blades into covers . Make sure the cut on the blade cover edge matches the tooth on the head casing. After replacement turn the lock clockwise.
TECHNICAL DATA
- Charger voltage: 220-240 V ~50/60Hz
- Power.: 5 W Max Power: 30 W
Disposal
To protect your environment: please separate carton boxes and plastic bags and dispose them in corresponding waste bins. Used appliance should be delivered to the dedicated collecting points due to hazardous components, which may effect the environment. Do not dispose this appliance in the common waste bin.
Specification
- Model identifier
- Input voltage
- Input AC frequency
- Output voltage
- Output current
- Output power
- Average active efficiency
- Efficiency at low load (10 %)
- No-load power consumption
Other Products


























