LIBERTY 510 Wall Mounted Basic Hose Reel

VISIT OUR WEBSITE: WWW.LIBERTYGARDENPRODUCTS.COM OR CALL US TOLL FREE AT 1-866-820-5805
LIBERTY GARDEN PRODUCTS, INC. 1161 SOUTH PARK DRIVE, KERNERSVILLE, NC 27284
IMPORTANT: READ THE OWNER’S MANUAL BEFORE ASSEMBLING
PRE-ASSEMBLY
Estimated Assembly Time : 5 minutes (not including mounting the hose reel)
TOOLS REQUIRED

HARDWARE INCLUDED

Note: Hardware not shown to actual size.
PARTS LIST
- A. Reel (1)
- B. Mounting Hub (1)
- C. Leader Hose (1)
- D. Lubricant Tube (1)

IMPORTANT: LAY OUT ALL PARTS AND FASTENERS. MAKE SURE ALL PARTS ARE ACCOUNTED FOR. IF ANY PART IS MISSING PLEASE CONTACT LIBERTY GARDEN PRODUCTS AT 1-866-820-5805.
DO NOT CONTACT THE RETAILER. VISIT OUR WEBSITE, WWW.LIBERTYGARDENPRODUCTS.COM OR E-MAIL [email protected] FOR MORE INSTRUCTIONS.
ASSEMBLY
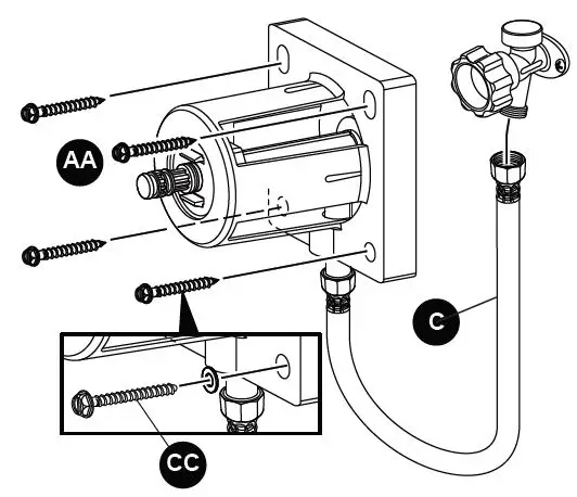
- Connect the leader hose (C) to the mounting hub (B) as shown. Do not over tighten leader hose.
NOTE: Ensure leader hose (C) is positioned on the mounting hub (B) as shown in figure below.
- Following the installation instructions on page 5, secure mounting hub (B) and leader hose (C) to the wall using supplied mounting hardware (AA) or optional mounting hardware.
NOTE: Ensure the mounting hub (B) is positioned with the proper distance to reach the outdoor faucet. - Connect the leader hose (C) to the outdoor faucet

- Open lubricant tube (D) and apply contents to the supply tube (B) O-Rings as shown.

- Ensure the reel (A) lock is in the “UNLOCK” positon before assembly of the reel.

- Push reel (A) onto the mounting hub (B) until it snaps into position.

- Slide the reel (A) lock tab toward the center of the reel to the “LOCK” position.

NOTE: To remove reel (A), slide the reel lock tab away from the center of the reel and pull reel away from the mounting hub. - Connect the garden hose to reel (A) as shown. Turn reel to wind garden hose.

NOTE: Do not over tighten garden hose.
NOTE: Industrial grade water hoses larger than 5/8” OD may not fit properly on the reel causing leaks.
INSTALLATION
This hose reel must be mounted to a solid masonry wall or to wall studs.
Tip: Remeber to use the correct size and quantity of hardware to support the total weight of the unit. A standard 100’ length of garden hose weighs approximately 15 lbs. Filled with water, the additional weight can exceed 20 lbs. The mounting hardware must be able to support the combined weight of the unit, garden hose, plus water.
WOOD SCREWS
The following hardware (included) is recommended for installation: (4) 7 or 8 mm x 60 mm wood screws (5/16” x 2 1/2”)
- Using a stud finder, locate wood studs on your wall.
NOTE: If you are unable to locate wood studs, use optional wall anchors (BB) to secure mounting hub (B) to drywall or masonite. - Position and hold your mounting hub (B) against the wood wall at a convenient height. Mark the position of each suspension hole on the wall. Remove the mounting hub (B).
- Using an electric drill, drill (4) pilot holes 1/8” in diameter at the marked positions on the wall.
NOTE: If applicable drill (4) 1/4” in diameter holes for wall anchors (BB). Using a hammer, insert anchors (BB) into the drywall or masonite. - Align the mounting hub (B) suspension holes with the pilot holes or anchors (BB).
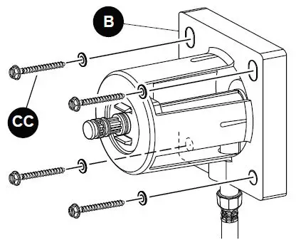
- Attach the mounting hub (B) to the wall using wood screws (AA) and tighten securely.

BRICK OR MASONRY SCREWS (Optional Mounting Method)
The following hardware (not included) is recommended for installation:
- (4) 7 or 8 mm x 60 mm masonry screws (CC) (5/16” x 2 1/2”)
- (4) Washers
- Position and hold your mounting hub (B) against the brick/masonry wall at a convenient height. Mark the position of each suspension hole on the wall. Remove the mounting hub (B).
- Using a hammer drill, drill pilot holes 1/4” in diameter at the marked positions on the wall.
- Align the mounting hub (B) suspension holes with the pilot holes.
- Attach the mounting hub to the wall using concrete screws with washers and tighten securely

CARE AND MAINTENANCE
WINTERIZING AND STORAGE
Drain the hose reel prior to the onset of freezing temperatures. If any trapped water freezes, it may cause damage to the hose reel, hose, and even your pipes. Store the entire unit – including hose reel and hose – inside your garage or storage shed at above-freezing temperatures. Storing your hose reel inside during the winter is an excellent way of protecting your garden hose, leader hose and O-Rings. When you install your hose reel, be sure the hose washers are in place and all fittings are secure. If you live in more temperate climates, be sure to drain the unit of any residual water before storing.
- DO NOT EXPOSE UNIT TO FREEZING TEMPERATURES while water remains in the plumbing system, this can damage the hose connections.
- DO NOT leave water running through the reel while not in use or unsupervised.
Your hose reel is manufactured with the finest quality components available. This product will give you many seasons of reliable and functional hose storage. All components in the product are manufactured to rigorous quality standards not common in other consumer grade hose reels available today. In the case of wall mounted reels, be sure to use stainless steel mounting hardware. We recommend that you periodically inspect your reel for any surface damage.
NOTE: Liberty Basic’s plastic hose reels use ultraviolet light stabalizers in our plastic, but over time, the plastic color, depending on the amount of sunlight, can fade
WARNING: DO NOT consume water from garden hose; not fit for human consumption
WARNING: Cancer and Reproductive Harm – www.p65warnings.ca.gov
CALL US AT 1-866-820-5805 IF YOU HAVE ANY QUESTIONS REGARDING CARE AND MAINTENANCE
LIBERTY GARDEN PRODUCTS LIMITED WARRANTY
(Effective June 4, 2019) This limited warranty is applicable to each original end-customer (hereinafter “Customer”) purchasing the model 510 wall mounted basic hose reel
LIMITED WARRANTY; EXCLUSIVE REMEDIES
LIMITED WARRANTY ON PRODUCTS: Company warrants solely to the original Customer that (a) the Structural Frame will be free from defects in materials and workmanship under normal use for a period of three (3) YEAR(S) from the date of original retail purchase, and (b) the Non-Frame Parts (which consist of the crank handle, water connections, leader hose and will be free from defects in materials and workmanship under normal use for a period of ONE (1) YEARS from the date of original retail purchase. Notwithstanding the foregoing, the colors andfinishes of the Products may vary within a reasonable scope due to unavoidable color variations in different production batches, and such variations shall not constitute a material defect. This limited warranty is limited solely to the original Customer with proof of purchase and is not transferable.
THE WARRANTY: During a covered Product’s limited warranty period, Company will, at Company’s sole option and discretion, (1) repair the defective component or product without charge or (2) replace the defective component or product without charge. The foregoing limited warranty is subject to the Customer’s proper storage, transportation, handling and use of the Products as the same are defined within Company’s then-current published guides and instructions for use and care. The limited warranty does not include defects due to normal wear and tear, abuse or misuse, mishandling, neglect, accident, fire, lightning, sunlight or other natural hazard, delivery or transportation damage, failure to follow applicable directions or instructions, or improper or inadequate cleaning, maintenance, care, repairs, modifications, or use beyond a Product’s intended use. Please note that since the Structural Frame is made from plastic, fading may occur over time. As such, this limited warranty does not include color fading or defects due to the same.
LIMITED WARRANTY CLAIMS PROCEDURE: To obtain performance under this limited warranty, Customer shall notify Company in writing (to Liberty Garden Products, Inc., 1161 South Park Drive, Kernersville, NC 27284, Attn: Customer Service / Warranty Department), by email (to [email protected]), or by telephone (to (336) 992-3595) with a full description of the defect that is covered by warranty and a copy of the dated proof of purchase of the applicable product. Our warranty is limited to items purchased in new condition from authorized distributors.
- Company shall review each such claim and issue Customer a return merchandise authorization (“RMA”) in the event that the described defect or condition merits warranty review as determined by Company. Customers who have been issued a RMA shall, at Company’s election, return the covered item to the same physical address listed above for reporting initial claims. Company shall not accept any returned product without a RMA.
- Upon receipt, Company will evaluate the returned product(s) to determine if there is a warranty claim and, if so, how Company wishes to remedy the same. During a covered product’s respective limited warranty period, Company will, at Company’s sole and absolute option and discretion, (1) repair the defective component or product without charge or (2) replace the defective component or product without charge. Refunds are not available pursuant to this limited warranty.
- Customer is solely responsible for transportation of the covered product(s) to the Company for evaluation (if applicable and requested by Company). In the event that Company determines that a claim under this limited warranty is justified, Company shall be responsible for transportation of the repaired, corrected, replaced or exchanged product back to Customer. Customer shall be solely responsible for the transportation of any product back to Customer if Company determines that a claim under this warranty is not justified.
- Any repaired, corrected, replaced or exchanged Products shall be subject to the Limited Warranty set forth to the duration of the original limited warranty period as set forth in Section 1.1. and not for any extended duration, following their repair, correction, replacement or exchange.
IF A COMPANY PRODUCT DOES NOT CONFORM TO THESE LIMITED WARRANTIES, THE PURCHASER’S SOLE AND EXCLUSIVE REMEDY IS, AT COMPANY’S SOLE AND EXCLUSIVE OPTION, THE (1) REPAIR OF ANY DEFECTIVE PRODUCT OR COMPONENT PART OR (2) REPLACEMENT OF ANY DEFECTIVE PRODUCT OR COMPONENT PART. THE LIMITED WARRANTY AND REMEDIES SET FORTH ABOVE ARE EXCLUSIVE AND MADE IN LIEU OF ALL OTHER WARRANTIES, REMEDIES, RIGHTS OR CONDITIONS, WHETHER ORAL OR WRITTEN, EXPRESS OR IMPLIED, EITHER IN FACT OR BY OPERATION OF LAW, STATUTORYOR OTHERWISE, INCLUDING THE IMPLIED WARRANTIES OF MERCHANTABILITY AND FITNESS FOR A PARTICULAR PURPOSE. COMPANY SPECIFICALLY DISCLAIMS, WITHOUT LIMITATION, ANY AND ALL OTHER WARRANTIES, EXPRESS OR IMPLIED, OF ANY KIND. IF COMPANY CANNOT LAWFULLY DISCLAIM IMPLIED WARRANTIES UNDER THIS LIMITED WARRANTY, ALL SUCH WARRANTIES, INCLUDING THE IMPLIED WARRANTIES OF MERCHANTABILITY AND FITNESS FOR A PARTICULAR PURPOSE, ARE LIMITED IN DURATION TO THE DURATION OF THIS LIMITED WARRANTY. The Company does not assume or authorize any person to assume for them any other liability in connection with the Products.
IN NO EVENT, WHETHER BASED ON CONTRACT OR TORT OR OTHER LEGAL THEORY, SHALL COMPANY BE LIABLE FOR ANY INDIRECT, INCIDENTAL, PUNITIVE, SPECIAL OR CONSEQUENTIAL DAMAGES, INCLUDING BUT NOT LIMITED TO, DAMAGES TO OTHER PROPERTY, INCONVENIENCE, DAMAGES FOR LOSS OF PROFITS, REVENUE, GOODWILL OR USE, INCURRED BY CUSTOMER OR ANY THIRD PARTY, WHETHER IN AN ACTION IN CONTRACT, TORT, STRICT LIABILITY, OR IMPOSED BY STATUTE, OR OTHERWISE, EVEN IF ADVISED OF THE POSSIBILITY OF SUCH DAMAGES. Some states do not allow the exclusion or limitation of incidental or consequential damages or exclusions or limitations on the duration of implied warranties or conditions, so the above limitations or exclusions may not apply to Customer. In jurisdictions that limit the scope of or preclude limitations or exclusion of remedies or damages, or of liability, such as liability for gross negligence or willful misconduct or do not allow implied warranties to be excluded, the limitation or exclusion of warranties, remedies, damages or liability set forth above are intended to apply to the maximum extent permitted by applicable law. This limited warranty gives the Customer specific legal rights, and the Customer may also have other rights that vary by state, country or other jurisdiction.
If any provision of this limited warranty is held to be illegal, invalid or otherwise unenforceable, such provision will be enforced to the extent possible consistent with its stated intention, or, if incapable of such enforcement, will be deemed to be severed and deleted from this limited warranty, while the remainder of the terms of this limited warranty will continue in full force and effect.
ThisLiberty Garden Products, Inc. Limited Warranty shall be governed by and construed in accordance with the laws of the State of North Carolina, without regard to its principles of conflicts of law. The parties acknowledge the exclusive jurisdiction of the federal and state courts of the State of North Carolina. Any claims or disputes under this Liberty Garden Products, Inc. Limited Warranty shall be heard exclusively in any state or federal courts sitting in Guilford County, North Carolina, and both parties expressly consent to the personal jurisdiction and venue of the North Carolina state and federal courts for such actions.



























