
V50™ Pro Retrofit 135mm
Installation instructions for V50™ Pro Fire-rated Downlight
Warnings and cautions
- To avoid electric shock, serious injury or property damage, isolate power before installing, removing or servicing the product
- It is recommended that luminaires are installed by a qualified electrician and the installation complies with the local current wiring regulations.
- Any broken or damaged parts should be replaced as soon as possible. JCC will not accept responsibility for claims arising from sub-standard installations.
- It is recommended that the ambient room temperature should not exceed 25°C.
- These products are designed for connection to a mains supply of 230-240V~ 50/60Hz
- It may be necessary to upgrade your MCBs to allow for increased inrush current.
- This Fire-rated downlight can be loosely covered with mineral wool insulation
- Do not carry out insulation tests with the product connected to the circuit
- For dimming guidelines please go to: jcc.co.uk/dimming
INSTALLATION
Specification :
Colour Temperature: (WW)3000K* / (CW)4000K (Switchable)
Ra: 80
Wattage | Lumens | LpcW | IP |
| 7.5W | 600*/650lm | 80*/87 | IP65(front only) |
Maximum number of fittings on a circuit is not to exceed 20
- Read the instructions and ensure that you have all of the tools and accessories required to complete the installation correctly.
- Isolate power supply before starting the installation.
Installation Procedure
1. Cut the mounting hole in the ceiling; if you are unfamiliar with this process JCC recommends that a sample hole is cut in a section of spare material Please note that the Standard & Tilt versions have different diameter mounting holes (Fig. 1).
Fig.1: Suitable for cut-out
Ø70-127mm
2. Once the mounting hole has been cut to the correct diameter the mains input power feed (Fig. 2) can be wired to the driver. This luminaire is Class II, but are equipped with Earth provision, should it be required (Fig. 3).
Fig. 2: Mains input

- Wire preparation
- Live (Brown)
- Earth (Green/Yellow)
- Neutral (Blue)
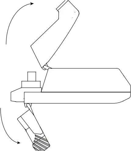
To access the terminals inside the driver housing, open the top and bottom hinged covers as as shown on the right.

You can help protect the environment. Please remember to respect the local regulations: hand in the non-working electrical equipment to an appropriate waste disposal centre. The packaging material is recyclable. Dispose of the packaging in an environmentally friendly manner and make it available for the recyclable material collection service.
Fig. 3: Driver Input Terminals
230 – 240V 50/60Hz / Class II ![]()
Note: Earth provision only

Live/Earth/Neutral/Neutral/Earth/Live
3. At this stage it would be advisable to ensure that the correct CCT value has been selected for the application: the options are either Warm White or Cool White, and these can be altered by means of a small slider switch. On the Standard version the switch is located behind the detachable ‘twist-off’ bezel (Figs. 4A & 4B) and is accessed under an integral cover, which must be carefully relocated afterwards to maintain the IP65 rating. Replace the Bezel.
Fig. 4A: Switch Cover In Situ Fig. 4B: Switch Exposed

4. Once the electrical connection has been made, and the colour temperature selected, the luminaire can now be inserted into the cut-out. Carefully push both spring clips up against the side of the luminaire and hold in place. Insert the V50™ Pro downlight into the cut-out and release the clips to securely locate the product in place.
5. When the luminaire is correctly installed the power may be switched on and the product can be tested.

- Ceiling
- Insulation
- Joist
- This area free from insulation
- 400/600mm joist centres
(front only)
V2_August_2022_RS
Part B Fire Safety
The purpose of Part B is to ensure building structures provide adequate protection to personnel to allow the safe evacuation of a building structure/complex. The regulation has been a legal requirement since 1987. All Fire-rated fittings are tested for 30, 60 & 90 minute ceilings (selected I-Joist ceiling construction 30 & 60 minute compliant).
Part C Resistance to Contaminants and Moisture
The amount of moisture that can enter a cold roof void must be controlled; thus anything which punctures the seal between the cold roof area and dwelling area must be considered. Light fittings are a good example of intrusions into the roof area that can facilitate the passage of moisture. Fire-rated downlights have been designed with special seals to inhibit the flow of air & moisture through the fitting as required by Part C of the building regulations.
Part E Resistance to Sound
There is a general increase in the levels of background noise in a domestic environment. The Government has changed to the building regulations to ensure that reasonable noise attenuation can be expected between partition walls and ceilings not only between separate dwellings but also within individual residential area. The special gaskets incorporated into the Fire-rated design ensure that the criteria is met.
Part L Conservation of Fuel and Power
The 2022 revision to Part L has focused on lighting installations regarding energy conservation. The requirement is that downlights installed in a new or existing domestic dwelling need to be energy efficient and have an minimum efficiency of 75 Lumens per circuit Watt.
Profile & Dimensions

All dimensions in millimetres 
- Replaceable control gear by a professional
- Non-replaceable light source
Important warranty information
This product is supported by a 2-year standard warranty which will extend to 3 years for commercial applications and 5 years for domestic applications if registered within the first year of purchase. Please register at jcc.co.uk/warranty (Terms and conditions apply).
The installer will be asked to provide the following information, which is detailed on a label attached to the luminaire’s chassis: Product Code/Date Code.
BS EN ISO9001 – 2015 – Registered Firm Certificate No. GB 1552
JCC Lighting Products Ltd. Lux Park, Chichester Business Park, City Fields Way, Tangmere, Chichester, West Sussex, PO20 2FT
Technical Support: +44(0)1243 838986 Customer Services: +44(0)1243 838999

















