DREMEL 8250 Cordless Brushless Rotary Tool Kit 12-volt 3-Amp

Safety Symbols The definitions below describe the level of severity for each signal word. Please read the manual and pay attention to these symbols. | |
![]() | This is the safety alert symbol. It is used to alert you to potential personal injury hazards. Obey all safety messages that follow this symbol to avoid possible injury or death. |
![]() | DANGER indicates a hazardous situation which, if not avoided, will result in death or serious injury. |
![]() | WARNING indicates a hazardous situation which, if not avoided, could result in death or serious injury. |
![]() | CAUTION indicates a hazardous situation which, if not avoided, could result in minor or moderate injury. |
General Power Tool Safety Warnings
Read all safety warnings and all instructions. Failure to follow the warnings and instructions may result in electric shock, fire and/or serious injury.
SAVE ALL WARNINGS AND INSTRUCTIONS FOR FUTURE REFERENCE
The term “power tool” in the warnings refers to your mains-operated (corded) power tool or battery-operated (cordless) power tool.
- Work area safety
- Keep work area clean and well lit. Cluttered or dark areas invite accidents.
- Do not operate power tools in explosive atmospheres, such as in the presence of flammable liquids, gases or dust. Power tools create sparks which may ignite the dust or fumes.
- Keep children and bystanders away while operating a power tool. Distractions can cause you to lose control.
- Electrical safety
- Power tool plugs must match the outlet. Never modify the plug in any way. Do not use any adapter plugs with earthed (grounded) power tools. Unmodified plugs and matching outlets will reduce risk of electric shock.
- Avoid body contact with earthed or grounded surfaces such as pipes, radiators, ranges and refrigerators. There is an increased risk of electric shock if your body is earthed or grounded.
- Do not expose power tools to rain or wet conditions. Water entering a power tool will increase the risk of electric shock.
- Do not abuse the cord. Never use the cord for carrying, pulling or unplugging the power tool. Keep cord away from heat, oil, sharp edges or moving parts. Damaged or entangled cords increase the risk of electric shock.
- When operating a power tool outdoors, use an extension cord suitable for outdoor use. Use of a cord suitable for outdoor use reduces the risk of electric shock.
- If operating the power tool in damp locations is unavoidable, use a Ground Fault Circuit Interrupter (GFCI) protected supply. Use of an GFCI reduces the risk of electric shock.
- Personal safety
- Stay alert, watch what you are doing and use common sense when operating a power tool. Do not use a power tool while you are tired or under the influence of drugs, alcohol or medication. A moment of inattention while operating power tools may result in serious personal injury.
- Use personal protective equipment.
- Always wear eye protection. Protective equipment such as dust mask, non-skid safety shoes, hard hat, or hearing protection used for appropriate conditions will reduce personal injuries.
- Prevent unintentional starting. Ensure the switch is in the off-position before connecting to power source and / or battery pack, picking up or carrying the tool. Carrying power tools with your finger on the switch or energizing power tools that have the switch on invites accidents.
- Remove any adjusting key or wrench before turning the power tool on. A wrench or a key left attached to a rotating part of the power tool may result in personal injury.
- Do not overreach. Keep proper footing and balance at all times. This enables better control of the power tool in unexpected situations.
- Dress properly. Do not wear loose clothing or jewelry. Keep your hair, clothing and gloves away from moving parts. Loose clothes, jewelry or long hair can be caught in moving parts.
- If devices are provided for the connection of dust extraction and collection facilities, ensure these are connected and properly used. Use of dust collection can reduce dust-related hazards.
- Power tool use and care
- Do not force the power tool. Use the correct power tool for your application. The correct power tool will do the job better and safer at the rate for which it was designed.
- Do not use the power tool if the switch does not turn it on and off. Any power tool that cannot be controlled with the switch is dangerous and must be repaired.
- Disconnect the plug from the power source and/or the battery pack from the power tool before making any adjustments, changing accessories, or storing power tools. Such preventive safety measures reduce the risk of starting the power tool accidentally.
- Store idle power tools out of the reach of children and do not allow persons unfamiliar with the power tool or these instructions to operate the power tool. Power tools are dangerous in the hands of untrained users.
- Maintain power tools. Check for misalignment or binding of moving parts, breakage of parts and any other condition that may affect the power tool’s operation. If damaged, have the power tool repaired before use. Many accidents are caused by poorly maintained power tools.
- Keep cutting tools sharp and clean. Properly maintained cutting tools with sharp cutting edges are less likely to bind and are easier to control.
- Use the power tool, accessories and tool bits etc. in accordance with these instructions, taking into account the working conditions and the work to be performed. Use of the power tool for operations different from those intended could result in a hazardous situation.
- Battery tool use and care
- Recharge only with the charger specified by the manufacturer. A charger that is suitable for one type of battery pack may create a risk of fire when used with another battery pack.
- Use power tools only with specifically designated battery packs. Use of any other battery packs may create a risk of injury and fire.
- When battery pack is not in use, keep it away from other metal objects like paper clips, coins, keys, nails, screws, or other small metal objects that can make a connection from one terminal to another. Shorting the battery terminals together may cause burns or a fire.
- Under abusive conditions, liquid may be ejected from the battery, avoid contact. If contact accidentally occurs, flush with water. If liquid contacts eyes, additionally seek medical help. Liquid ejected from the battery may cause irritation or burns.
- Service
- Have your power tool serviced by a qualified repair person using only identical replacement parts. This will ensure that the safety of the power tool is maintained.
- Have your power tool serviced by a qualified repair person using only identical replacement parts. This will ensure that the safety of the power tool is maintained.
Safety Rules for Rotary Tools
Safety warnings common for grinding, sanding, wire brushing, polishing, carving or abrasive cutting-off operations:
- This power tool is intended to function as a grinder, sander, wire brush, polisher, carving or cut-off tool. Read all safety warnings, instructions, illustrations and specifications provided with this power tool. Failure to follow all instructions listed below may result in electric shock, fire and/or serious injury.
- Do not use accessories which are not specifically designed and recommended by the tool manufacturer. Just because the accessory can be attached to your power tool, it does not assure safe operation.
- The rated speed of the accessories must be at least equal to the operating speed setting marked on the power tool. Accessories running faster than their rated speed can break and fly apart.
- The outside diameter and the thickness of your accessory must be within the capacity rating of your power tool. Incorrectly sized accessories cannot be adequately controlled.
- The arbor size of wheels, sanding drums or any other accessory must properly fit the spindle or collet of the power tool. Accessories that do not match the mounting hardware of the power tool will run out of balance, vibrate excessively and may cause loss of control.
- Mandrel mounted wheels, sanding drums, cutters or other accessories must be fully inserted into the collet or chuck. If the mandrel is insufficiently held and/or the overhang of the wheel is too long, the mounted wheel may become loose and be ejected at high velocity.
- Do not use a damaged accessory. Before each use inspect the accessory such as abrasive wheels for chips and cracks, sanding drum for cracks, tear or excess wear, wire brush for loose or cracked wires. If power tool or accessory is dropped, inspect for damage or install an undamaged accessory. After inspecting and installing an accessory, position yourself and bystanders away from the plane of the rotating accessory and run the power tool at maximum no-load speed for one minute. Damaged accessories will normally break apart during this test time.
- Wear personal protective equipment. Depending on application, use face shield, safety goggles or safety glasses. As appropriate, wear dust mask, hearing protectors, gloves and workshop apron capable of stopping small abrasive or workpiece fragments. The eye protection must be capable of stopping flying debris generated by various operations. The dust mask or respirator must be capable of filtrating particles generated by your operation. Prolonged exposure to high intensity noise may cause hearing loss.
- Keep bystanders a safe distance away from work area. Anyone entering the work area must wear personal protective equipment. Fragments of workpiece or of a broken accessory may fly away and cause injury beyond immediate area of operation.
- Hold power tool by insulated gripping surfaces only, when performing an operation where the cutting accessory may contact hidden wiring. Cutting accessory contacting a “live” wire may make exposed metal parts of the power tool “live” and could give the operator an electric shock.
- Always hold the tool firmly in your hand(s) during the start-up. The reaction torque of the motor, as it accelerates to full speed, can cause the tool to twist.
- Use clamps to support workpiece whenever practical. Never hold a small workpiece in one hand and the tool in the other hand while in use. Clamping a small workpiece allows you to use your hand(s) to control the tool. Round material such as dowel rods, pipes or tubing have a tendency to roll while being cut, and may cause the bit to bind or jump toward you.
m. Position the cord clear of the spinning accessory. If you lose control, the cord may be cut or snagged and your hand or arm may be pulled into the spinning accessory. - Never lay the power tool down until the accessory has come to a complete stop. The spinning accessory may grab the surface and pull the power tool out of your control.
- After changing the bits or making any adjustments, make sure the collet nut, chuck or any other adjustment devices are securely tightened. Loose adjustment devices can unexpectedly shift, causing loss of control, loose rotating components will be violently thrown.
- Do not run the power tool while carrying it at your side. Accidental contact with the spinning accessory could snag your clothing, pulling the accessory into your body.
- Regularly clean the power tool’s air vents. The motor’s fan will draw the dust inside the housing and excessive accumulation of powdered metal may cause electrical hazards.
- Do not operate the power tool near flammable materials. Sparks could ignite these materials.
- Do not use accessories that require liquid coolants. Using water or other liquid coolants may result in electrocution or shock.
- Use only in well-ventilated area. Working in a safe environment reduces risk of injury.
- Allow for sufficient space, at least 6”, between your hand and the spinning bit. Do not reach in the area of the spinning bit. The proximity of the spinning bit to your hand may not always be obvious.
- Do not touch the bit or collet after use. After use the bit and collet are too hot to be touched by bare hands.
- Do not alter or misuse tool. Any alteration or modification is a misuse and may result in serious personal injury.
- This product is not intended for use as a dental drill, in human or veterinary medical applications. Serious injury may result.
Kickback is a sudden reaction to a pinched or snagged rotating wheel, backing pad, brush or any other accessory. Pinching or snagging causes rapid stalling of the rotating accessory which in turn causes the uncontrolled power tool to be forced in the direction opposite of the accessory’s rotation.
For example, if an abrasive wheel is snagged or pinched by the workpiece, the edge of the wheel that is entering into the pinch point can dig into the surface of the material causing the wheel to climb out or kickout. The wheel may either jump toward or away from the operator, depending on direction of the wheel’s movement at the point of pinching. Abrasive wheels may also break under these conditions.
Kickback is the result of power tool misuse and/or incorrect operating procedures or conditions and can be avoided by taking proper precautions as given below.
- Maintain a firm grip on the power tool and position your body and arm to allow you to resist kickback forces. The operator can control kickback forces, if proper precautions are taken.
- Use special care when working corners, sharp edges etc. Avoid bouncing and snagging the accessory. Corners, sharp edges or bouncing have a tendency to snag the rotating accessory and cause loss of control or kickback.
- Do not attach a toothed saw blade. Such blades create frequent kickback and loss of control.
- Always feed the bit into the material in the same direction as the cutting edge is exiting from the material (which is the same direction as the chips are thrown). Feeding the tool in the wrong direction causes the cutting edge of the bit to climb out of the work and pull the tool in the direction of this feed.
- When using rotary files, cut-off wheels, high-speed cutters or tungsten carbide cutters, always have the work securely clamped. These wheels will grab if they become slightly canted in the groove, and can kickback. When a cut-off wheel grabs, the wheel itself usually breaks. When a rotary file, high-speed cutter or tungsten carbide cutter grabs, it may jump from the groove and you could lose control of the tool.
Safety warnings specific for grinding and abrasive cutting-off operations:
- Use only wheel types that are recommended for your power tool and only for recommended applications. For example: do not grind with the side of a cut-off wheel. Abrasive cut-off wheels are intended for peripheral grinding, side forces applied to these wheels may cause them to shatter.
- For threaded abrasive cones and plugs use only undamaged wheel mandrels with an unrelieved shoulder flange that are of correct size and length. Proper mandrels will reduce the possibility of breakage.
- Do not “jam” a cut-off wheel or apply excessive pressure. Do not attempt to make an excessive depth of cut. Overstressing the wheel increases the loading and susceptibility to twisting or snagging of the wheel in the cut and the possibility of kickback or wheel breakage.
- Do not position your hand in line with and behind the rotating wheel. When the wheel, at the point of operation, is moving away from your hand, the possible kickback may propel the spinning wheel and the power tool directly at you.
- When wheel is pinched, snagged or when interrupting a cut for any reason, switch off the power tool and hold the power tool motionless until the wheel comes to a complete stop. Never attempt to remove the cut-off wheel from the cut while the wheel is in motion otherwise kickback may occur. Investigate and take corrective action to eliminate the cause of wheel pinching or snagging.
- Do not restart the cutting operation in the workpiece. Let the wheel reach full speed and carefully re-enter the cut. The wheel may bind, walk up or kickback if the power tool is restarted in the workpiece.
- Support panels or any oversized workpiece to minimize the risk of wheel pinching and kickback. Large workpieces tend to sag under their own weight. Supports must be placed under the workpiece near the line of cut and near the edge of the workpiece on both sides of the wheel.
- Use extra caution when making a “pocket cut” into existing walls or other blind areas. The protruding wheel may cut gas or water pipes, electrical wiring or objects that can cause kickback.
Safety warnings specific for wire brushing operations:
- Be aware that wire bristles are thrown by the brush even during ordinary operation. Do not overstress the wires by applying excessive load to the brush. The wire bristles can easily penetrate light clothing and/or skin.
- Allow brushes to run at operating speed for at least one minute before using them. During this time no one is to stand in front or in line with the brush. Loose bristles or wires will be discharged during the run-in time.
- Direct the discharge of the spinning wire brush away from you. Small particles and tiny wire fragments may be discharged at high velocity during the use of these brushes and may become imbedded in your skin.
Additional Safety Warnings
- GFCI and personal protection devices like electrician’s rubber gloves and footwear will further enhance your personal safety.
- Keep handles dry, clean and free from oil and grease. Slippery hands cannot safely control the power tool.
- Develop a periodic maintenance schedule for your tool. When cleaning a tool be careful not to disassemble any portion of the tool since internal wires may be misplaced or pinched or safety guard return springs may be improperly mounted. Certain cleaning agents such as gasoline, carbon tetrachloride, ammonia, etc. may damage plastic parts.
- Ensure the switch is in the off position before inserting battery pack. Inserting the battery pack into power tools that have the switch on invites accidents.
- Some dust created by power sanding, sawing, grinding, drilling, and other construction activities contains chemicals known to cause cancer, birth defects or other reproductive harm. Some examples of these chemicals are:
- Lead from lead-based paints,
- Crystalline silica from bricks and cement and other masonry products, and
- Arsenic and chromium from chemically-treated lumber.
Your risk from these exposures varies, depending on how often you do this type of work. To reduce your exposure to these chemicals: work in a well ventilated area, and work with approved safety equipment, such as those dust masks that are specially designed to filter out microscopic particles.
WARNING: Read and understand all instructions. Failure to follow all instructions listed below, may result in electric shock, fire and/or serious personal injury.
Charger Safety Rules
- This manual contains instructions for battery charger model GAL12V-20. Do not substitute any other charger.
- Before using battery charger, read all instructions and cautionary markings on
- battery charger,
- battery pack, and
- product using battery.
- Charge only Dremel rechargeable batteries listed on page 12. Other types of batteries may burst causing personal injury and damage.
- Charge battery pack in temperatures above +32 degrees F (0 degrees C) and below +113 degrees F (45 degrees C). Store tool and battery pack in locations where temperatures will not exceed 120 degrees F (49 degrees C). This is important to prevent serious damage to the battery cells.
- Do not recharge battery in damp or wet environment. Do not expose charger to rain or snow. Water entering battery charger may result in electric shock or fire.
- Battery leakage may occur under extreme usage or temperature conditions. Avoid contact with skin and eyes. The battery liquid is caustic and could cause chemical burns to tissues. If liquid comes in contact with skin, wash quickly with soap and water. If the liquid contacts your eyes, flush them with water for a minimum of 10 minutes and seek medical attention.
- Place charger on flat nonflammable surfaces and away from flammable materials when recharging battery pack. Carpeting and other heat insulating surfaces block proper air circulation which may cause overheating of the charger and battery pack. If smoke or melting of the charger or battery pack is observed, unplug the charger immediately and do not use the battery pack or charger. Contact customer service immediately.
h. Make sure cord is located so that it will not be stepped on, tripped over, or otherwise subjected to damage or stress. Damaged plug and cord may result in electric shock or fire. - Disconnect the charger by pulling the plug rather than the cord. Do not operate charger with damaged cord or plug; have them replaced immediately. Damaged plug or cord may result in electric shock or fire.
- Do not insert battery pack in charger if battery pack case is cracked. Using damaged battery pack may result in electric shock or fire.
- Do not disassemble charger or operate the charger if it has received a sharp blow, been dropped or otherwise damaged in anyway. Incorrect reassembly or damage may result in electric shock or fire.
- Before each use, check the battery charger, cable and plug. If damage is detected, do not use the battery charger. Never open the battery charger yourself, take it to a Dremel Factory Service Center, or qualified serviceman only using original spare parts. Incorrect reassembly may result in electric shock or fire.
- Do not use attachments not recommended or sold by Dremel. Using attachments not recommended may result in electric shock or fire.
- Do not store battery pack in charger. Battery pack stored in charger over a long period of time could lead to battery pack damage and fire.
- Unplug charger from outlet before storage, attempting any maintenance or cleaning. Such preventive safety measures reduce the risk of electric shock or fire.
- Keep the battery charger clean by blowing compressed air on charger vents and wiping the charger housing with a damp cloth. Contamination may result in electric shock or fire.
- Replace battery pack if a substantial drop in operating time per charge is observed. Battery pack may be nearing the end of its life.
Battery Care
WARNING: When batteries are not in tool or charger, keep them away from metal objects. For example, to protect terminals from shorting, DO NOT place batteries in a tool box or pocket with nails, screws, keys, etc. Fire or injury may result.
DO NOT PUT BATTERIES INTO FIRE OR EXPOSE TO HIGH HEAT. They may explode.
Battery Disposal
WARNING: Do not attempt to disassemble the battery or remove any component projecting from the battery terminals. Fire or injury may result. Prior to disposal, protect exposed terminals with heavy insulating tape to prevent shorting.
Lithium-ion Batteries
If equipped with a lithium-ion battery, the battery must be collected, recycled or disposed of in an environ mentally sound manner. “The EPA certified RBRC Battery Recycling Seal on the lithium-ion (Li-ion) battery indicates Robert Bosch Tool Corporation is voluntarily participating in an industry program to collect and recycle these batteries at the end of their useful life, when taken out of service in the United States or Canada. The RBRC program provides a convenient alterative to placing used Li-ion batteries into the trash or the munici pal waste stream, which may be illegal in your area.
Please call 1-800-8-BATTERY for information on Li-ion battery recycling and disposal bans/restrictions in your area, or return your batteries to a Bosch/Dremel Service Center for recycling. Robert Bosch Tool Corporation’s involvement in this program is part of our commitment to preserving our environment and conserving our natural resources.”
Licenses
Copyright (c) 2015, Infineon Technologies AG
All rights reserved.
Redistribution and use in source and binary forms, with or without modification, are permitted provided that the following conditions are met:
- Redistributions of source code must retain the above copyright notice, this list of conditions and the following disclaimer.
- Redistributions in binary form must reproduce the above copyright notice, this list of conditions and the following disclaimer in the documentation and/or other materials provided with the distribution.
- Neither the name of the copyright holders nor the names of its contributors may be used to endorse or promote products derived from this software without specific prior written permission.
THIS SOFTWARE IS PROVIDED BY THE COPYRIGHT HOLDERS AND CONTRIBUTORS “AS IS” AND ANY EXPRESS OR IMPLIED WARRANTIES, INCLUDING, BUT NOT LIMITED TO, THE IMPLIED WARRANTIES OF MERCHANTABILITY AND FITNESS FOR A PARTICULAR PURPOSE ARE DISCLAIMED. IN NO EVENT SHALL THE COPYRIGHT HOLDER OR CONTRIBUTORS BE LIABLE FOR ANY DIRECT, INDIRECT, INCIDENTAL, SPECIAL, EXEMPLARY, OR CONSEQUENTIAL DAMAGES (INCLUDING, BUT NOT LIMITED TO, PROCUREMENT OF SUBSTITUTE GOODS OR SERVICES; LOSS OF USE, DATA, OR PROFITS; OR BUSINESS INTERRUPTION) HOWEVER CAUSED AND ON ANY THEORY OF LIABILITY, WHETHER IN CONTRACT, STRICT LIABILITY,OR TORT (INCLUDING NEGLIGENCE OR OTHERWISE) ARISING IN ANY WAY OUT OF THE USE OF THIS SOFTWARE, EVEN IF ADVISED OF THE POSSIBILITY OF SUCH DAMAGE.
Symbols
Important: Some of the following symbols may be used on your tool. Please study them and learn their meaning. Proper interpretation of these symbols will allow you to operate the tool better and safer.
| Symbol | Designation ⁄ Explanation |
| V | Volts (voltage) |
| A | Amperes (current) |
| Hz | Hertz (frequency, cycles per second) |
| W | Watt (power) |
| kg | Kilograms (weight) |
| min | Minutes (time) |
| s | Seconds (time) |
| ⌀ | Diameter (size of drill bits, grinding wheels, etc.) |
| n0 | No load speed (rotational speed at no load) |
| n | Rated speed (maximum attainable speed) |
| …/min | Revolutions or reciprocation per minute (revolutions, strokes, surface speed, orbits etc. per minute) |
| Off position (zero speed, zero torque…) | |
| 1, 2, 3, … I, II, III, | Selector settings (speed, torque or position settings. Higher number means greater speed) |
| Infinitely variable selector with off (speed is increasing from 0 setting) | |
| Arrow (action in the direction of arrow) | |
| Alternating current (type or a characteristic of current) | |
| Direct current (type or a characteristic of current) | |
| Alternating or direct current (type or a characteristic of current) | |
![]() | Class II construction (designates double insulated construction tools) |
![]() | Earthing terminal (grounding terminal) |
Symbols
Important: Some of the following symbols may be used on your tool. Please study them and learn their meaning. Proper interpretation of these symbols will allow you to operate the tool better and safer.
| Symbol | Designation / Explanation |
![]() | Alerts user to read manual. |
![]() | Alerts user to wear eye protection. |
![]() | Alerts user to wear respiratory protection. |
![]() | Alerts user to wear hearing protection. |
![]() | Alerts user to wear eye, respiratory, and hearing protection. |
![]()
| This symbol designates that this tool is listed by Underwriters Laboratories, to United States and Canadian Standards. |
![]() | This symbol designates that this tool is listed by the Canadian Standards Association. |
![]() | This symbol designates that this tool is listed by the Canadian Standards Association, to United States and Canadian Standards. |
![]() | This symbol designates that this tool is listed by the Intertek Testing Services, to United States and Canadian Standards. |
![]() | This symbol designates that this tool complies to NOM Mexican Standards. |
![]() | Designates Li-ion battery recycling program. |
Functional Description and Specifications
Model 8250 Cordless Rotary Tool

- Collet Nut
- Collet
- EZ TWIST™ Integrated Wrench/Nose Cap
- Shaft
- Ventilation Openings
- Shaft Lock Button
- On/Off Switch
- Variable Speed Dial
- Red Warning LED
- Speed Indicator
- Fuel Gauge
- Battery Pack
- Battery Release Tabs
- Hanger
- Collet Wrench
- Model number . . . . . .8250
- Voltage rating . . . . .10.8V/12V MAX
- Rated speed . . . . . .n 5,000 – 30,000/min
- Collet capacities . . .1/32, 1/16″, 3/32″, 1/8″
- Charger . . . . . . . . . . . .GAL12V-20
- Voltage rating . . . . .120 V 60 Hz
Assembly
WARNING: Disconnect battery pack from tool before making any assembly, adjustments or changing accessories. Such preventive safety measures reduce the risk of starting the tool accidentally.
Inserting and Releasing Battery Pack
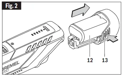
Release battery pack 12 from tool by pressing on both sides of the battery release tabs 13 and pull away from housing (Fig. 2).
To insert battery, align battery and slide battery pack into tool until it locks into position. Do not force.
Collet Nut

To loosen, first press shaft lock button 6 and rotate the shaft by hand until the lock engages the shaft preventing further rotation. Your Dremel 8250 is equipped with a quick collet lock mechanism. This mechanism engages the output shaft in 8 separate locations on the shaft for easier operation.
CAUTION: Do not engage lock while the Rotary Tool is running.
With the shaft lock engaged use the collet wrench 15 to loosen the collet nut 1 if necessary. The collet nut must be loosely threaded on when inserting an accessory. Change accessories by inserting the new one into the collet as far as possible to minimize runout and unbalance. With the shaft lock engaged, finger tighten the collet nut until the accessory shank is gripped by the collet (Fig. 3). Avoid excessive tightening of the collet nut when there is no bit inserted.

EZ TWIST™ Integrated Wrench/Nose Cap
The nose cap of your tool has an integrated wrench allowing you to loosen and tighten the collet nut without the use of the standard collet wrench. Unscrew the nose cap 3 from the tool, line-up steel insert on inside of cap with collet nut 1. With the shaft lock 6 engaged twist nose cap clockwise to tighten, and counter-clockwise to loosen (Fig. 4).
Collets
Four different size collets (Fig. 5), to accommodate different shank sizes, are avail able for your Rotary Tool. To install a different collet, remove the collet nut and remove the old collet. Insert the unslotted end of the collet in the hole in the end of the tool shaft. Replace collet nut on the shaft.
CAUTION: Always use the collet which matches the shank size of the accessory you plan to use. Never force a larger diameter shank into a collet.
COLLET IDENTIFICATION CHART
- Collet sizes can be identified by the rings on the back end of collet.
- 1/32″ Collet has one (1) ring.
- 1/16″ Collet has two (2) rings.
- 3/32″ Collet has three (3) rings.
- 1/8″ Collet has no rings (Included in most tool kits on the tool).
Note: Most rotary tool kits do not include all four collets sizes.


Fixing Stuck Collets
It is possible for a collet to get stuck within the collet nut especially if a collet nut is tightened onto the tool without a bit in place. If this happens, the collet can be removed from the collet nut by pushing the shank of an accessory into the hole in the collet nut (Fig. 6). This should cause the collet to pop out of the collet nut.
Balancing Accessories
For precision work, it is important that all accessories be in good balance (much the same as the tires on your automobile). To true up or balance an accessory, slightly loosen collet nut and give the accessory or collet a 1/4 turn. Re tighten collet nut and run the Rotary Tool. You should be able to tell by the sound and feel if your accessory is running in balance. Continue adjusting in this fashion until best balance is achieved. To maintain balance on abrasive wheel points, before each use, with the wheel point secured in the collet, turn on the Rotary Tool and run the 415 Dressing Stone lightly against the revolving wheel point. This removes high spots and trues up the wheel point for good balance.
The hanger is provided for the use of hanging your tool while using the flex-shaft or for storage. If you do not use the hanger, snap it back into place so it will be out of the way while the tool is in use.
Intended Use
This power tool is intended for carving /engraving, routing, grinding /sharpening, cutting, cleaning / polishing, sanding, grout removal and drilling applications in soft wood, hard wood, laminates / plastics, steel, aluminum /brass / copper, shell / stone, ceramic and glass materials.
Operating Instructions
WARNING: Disconnect battery pack from tool before making any assembly, adjustments or changing accessories. Such preventive safety measures reduce the risk of starting the tool accidentally.
CAUTION: Whenever you hold the tool, be careful not to cover the air vents with your hand. This blocks the air flow and causes the motor to overheat.

Slide “On/Off” Switch
- The tool is switched “ON” by the slide switch 7 located on the topside of the motor housing.
- TO TURN THE TOOL “ON”, slide the switch button forward.
- TO TURN THE TOOL “OFF”, slide the switch button backward.
Learn the Speeds
After the tool has been turned off:
- If you turn it back on within 5 minutes, the tool will turn on at its last set speed setting.
- If turned on after 5 minutes, the tool will turn on at its default speed setting of 15,000 RPM.
Variable Speed Dial
Your tool is equipped with a variable speed dial 8. The speed may be adjusted during operation by rotating the dial back or forth between any one of the settings. One of the numbers on the speed indicator 10 will light up showing the current speed (Fig. 7).
| Speed Indicator Number | Approximate Speed Range, /min (RPM) |
| 5 | 4,000-8,000 |
| 10 | 7,000–13,000 |
| 15 | 12,000–15,000 |
| 20 | 19,000–23,000 |
| 25 | 22,000–25,000 |
| 30 | 26,000–30,000 |
| Wire Brush Setting. | |
You can refer to the charts on page 18 to determine the proper speed, based on the materi al being worked and the type of accessory being used. These charts enable you to select both the correct acces sory and the optimum speed at a glance.
Increasing the pressure on the tool is not the answer when it is not performing as you think it should. Perhaps you should be using a different accessory, and perhaps an adjustment in speed would solve the problem. Leaning on the tool does not help.
Let speed do the work!
All Dremel Rotary Tool attachments are compatible with your tool, but you may experience reduced run times on the battery when using certain attachments.
Learn the LED Behavior
If you turn off the tool with the battery still inserted, the tool LEDs will behave as follows:
- The Speed LED will remain illuminated for 5 minutes to show the last set speed setting.
- The Warning and Battery Gauge LEDs will remain illuminated for 30 seconds.
To turn off all LEDs, remove the battery pack after the tool has been turned off.
Red Warning LED
The red warning LED 9 will illuminate for one of the following reasons:
- Excessive tool temperature: turn the tool off and remove the accessory (Be careful – the accessory may be hot). Then turn the tool on and allow it to run without load so the motor’s fan can help cool down the tool.
- Excessive battery temperature: turn the tool off, remove the battery pack and allow the battery to return to normal operating temperature before resuming use.
- Tool stall / overload warning: too much pressure is being applied to the tool. Reduce pressure to hold and guide the tool. Allow the speed of the tool to do the work.
Fuel Gauge
This tool is equipped with a fuel gauge 11 that tells you how much charge your battery has. A fully charged battery is indicated when all three LED lights are illuminated. As the battery discharges, the lights will turn off one by one until only one light is on. When the last light starts “flashing”, the battery is almost empty. When the battery is dead, the tool will automatically turn off. This will be a sudden stop as opposed to a gradual winding down of the tool. Simply recharge the battery and reuse.
- 3 lights – 70–100% charge remaining
- 2 lights – 40–70% charge remaining
- 1 light – 20–40% charge remaining
- 1 “flashing” light – Below 20% charge remaining. Be prepared for tool to shut off.
Charging Battery Pack
IMPORTANT CHARGING NOTES
- The charger was designed to fast charge the battery only when the battery temperature is between 32˚F (0˚C) and 113˚F (45˚C). If the battery pack is too hot or too cold, the charger will not fast charge the battery. (This may happen if the battery pack is hot from heavy use). When the battery temperature returns to between 32˚F (0˚C) and 113˚F (45˚C), the charger will automatically begin charging.
- A substantial drop in operating time per charge may mean that the battery pack is nearing the end of its life and should be replaced.
- Remember to unplug charger during storage period.
- If battery does not charge properly:
- Check for voltage at outlet by plugging in some other electrical device.
- Check to see if outlet is connected to a light switch which turns power “off” when lights are turned off.
- Check battery pack terminals for dirt. Clean with cotton swab and alcohol if necessary.
- If you still do not get proper charging, take or send tool, battery pack and charger to your local Dremel Service Center.
Note: Use of chargers or battery packs not recommended by Dremel in the battery/charger list will void the warranty.
DREMEL CHARGER GAL12V-20
Plug charger cord into your standard power outlet, then insert battery pack 12 into charger (Fig. 8).
If the indicator lights are “OFF”, the charger is not receiving power from power supply outlet. The charger’s green indicator light will begin to “BLINK”. This indicates that the battery is receiving a fast charge. Fast-charging will automatically stop when the battery pack is fully charged. When the indicator light stops “BLINKING” (and becomes a steady green light) fast charging is complete. The battery pack may be used even though the light may still be blinking. The light may require more time to stop blinking depending on temperature. The purpose of the blinking green light is to indicate that the battery pack is fast-charging. It does not indicate the exact point of full charge. The light will stop blinking in less time if the battery pack was not completely discharged. If the green indicator light is “ON”, the charger is plugged in but the battery pack is not inserted, or the battery pack is fully charged, or the battery pack is too hot or cold for fast-charging. The charger will automatically switch to fast-charging once a suitable temperature is reached. When charging several batteries in sequence, the charge time may slightly increase. When the battery pack is fully charged, unplug the charger (unless you’re charging another battery pack) and slip the battery pack back into the tool.
Maintenance
Service
WARNING: NO USER SERVICE -ABLE PARTS INSIDE.
Preventive maintenance performed by un authorized personnel may result in misplacing of internal wires and components which could cause serious hazard. We recommend that all tool service be performed by a Dremel Service Center. SERVICE MEN: Disconnect tool and/or charger from power source before servicing.
Batteries
Be alert for battery packs that are nearing their end of life. If you notice decreased tool performance or significantly shorter running time between charges then it is time to replace the battery pack. Failure to do so can cause the tool to operate improperly or damage the charger.
D.C. Motors
The motor in your tool has been engineered for many hours of dependable service. To maintain peak efficiency of the motor, we recommend it be examined every six months. Only a genuine Dremel replacement motor specially designed for your tool should be used.
Cleaning
CAUTION: Certain cleaning agents and solvents
damage plastic parts. Some of these are: gasoline, car bon tetrachloride, chlorinated cleaning solvents, ammonia and household detergents that contain ammonia.
Ventilation openings and switch levers must be kept clean and free of foreign matter. Do not attempt to clean by inserting pointed objects through opening
Dremel Accessories
WARNING: Use only Dremel® branded accessories. Other accessories are not designed for this tool and may lead to personal injury or property damage.
Store accessories in a dry and temperate environment to avoid corrosion and deterioration.
The number and variety of accessories for the Rotary Tool are almost limitless. There is a category suited to almost any job you might have to do and a variety of sizes and shapes within each category which en ables you to get the perfect accessory for every need. The accessory categories are as follows; carving / engraving, routing, grinding / sharpening, cutting, cleaning / polishing, sanding, grout removal, drilling and collets / miscellaneous. For a complete Dremel rotary accessory guide please visit – dremel.com/documents/20812/597949/bit-guide-poster.pdf

Speed Settings
The following charts are recommended speeds for each accessory and material type. Note: Each number settings listed in the speed charts = x 1,000 RPM
| Cutting Accessories | ||||||||
| Catalog Number | Soft Wood | Hard Wood | Laminates /Plastics | Steel | Aluminum, Brass, etc. | Shell/ Stone | Ceramic | Glass |
| EZ456 | – | – | – | 25-30 | 25-30 | – | – | – |
| EZ476 | – | – | 5-10 | – | – | – | – | – |
Dremel® Limited Lifetime Warranty
The Dremel® 8250 power tool (the “Product”) is warranted against defective material or workmanship for the usable lifetime of the Product, subject to the limitations described below (the “Limited Lifetime Warranty”). PLEASE NOTE THAT THE BATTERY AND CHARGER FOR THE PRODUCT ARE NOT COVERED BY THE LIMITED LIFETIME WARRANTY; all other parts and components of the Product are covered under this Limited Lifetime Warranty.
PLEASE SEE LIMITED 2-YEAR WARRANTY FOR INFORMATION ON THE COVERAGE FOR THE BATTERY AND CHARGER FOR THE PRODUCT.
In the event of a failure of the Product to conform to the Limited Lifetime Warranty, please take the following action:
- DO NOT return the Product to the place of purchase.
- Carefully package the Product by itself, with no other items, and return it, freight prepaid, along with:
- A copy of your dated proof of purchase (please keep a copy for yourself).
- A written statement about the nature of the problem.
- Your name, address and phone number to:
UNITED STATES : CANADA- Robert Bosch Tool Corporation : Giles Tool Agency
- Dremel Repairs 173 Lawrence : 47 Granger Av., Scarborough,
- 428 Dock #2 Walnut Ridge, AR : Ontario Canada M1K 3K9
- 72476 : 1-416-287-3000
OUTSIDE CONTINENTAL UNITED STATES CONTINENTAL UNITED STATES
See your local distributor or write to: Dremel Repairs 173 Lawrence 428 Dock #2 Walnut Ridge, AR 72476
We recommend that the package be insured against loss or in transit damage for which we cannot be responsible.
The Limited Lifetime Warranty applies only to the original purchaser of the Product. Limited Lifetime Warranty coverage terminates if the original purchaser of the Product sells or otherwise transfers the Product.
FAILURES OF THE PRODUCT RESULTING FROM:
- NORMAL WEAR AND TEAR;
- TAMPERING;
- ACCIDENT;
- ABUSE;
- NEGLIGENCE;
- UNAUTHORIZED REPAIRS OR ALTERATIONS;
- UNAPPROVED ATTACHMENTS; OR
- OTHER CAUSES UNRELATED TO PROBLEMS WITH MATERIAL OR WORKMANSHIP
ARE NOT COVERED BY THIS LIMITED LIFETIME WARRANTY.
No employee, agent, dealer or other person is authorized to give any warranties on behalf of Robert Bosch Tool Corporation (“Bosch”). If our inspection shows that the failure of the Product was caused by problems with material or workmanship within the scope of the Limited Lifetime Warranty, we will repair or replace the Product free of charge and pay for the return shipping of the Product to you. Repairs made necessary by normal wear and tear, abuse, or other causes outside the scope of the Limited Lifetime Warranty, if they can be made, will be charged at regular factory prices. You will be notified and asked for approval prior to Bosch making any such out-of-warranty repairs.
Tools with problems due to material or workmanship tend to fail relatively quickly once they are put in use, often within the first few uses. It is very unusual for a tool with a material or workmanship problem to operate for a prolonged period of time. Tools returned for warranty claims after months or years of use rarely show signs of defects in materials and workmanship when inspected. Normal wear and tear is not considered a defect in materials and workmanship and is not covered by the Limited Lifetime Warranty.
If you are a consumer subject to the Quebec Consumer Protection Act, the limitations contained in the immediately following paragraph do not liberate Bosh from the consequences of its own acts or the acts of its representatives, or any gross or intentional fault on their part
IN NO EVENT WILL BOSCH BE LIABLE FOR ANY DIRECT, INDIRECT, CONSEQUENTIAL, EXEMPLARY, SPECIAL, OR INCIDENTAL LOSSES, OR ANY LOSSES IN CONNECTION WITH OR ARISING FROM THIS LIMITED LIFETIME WARRANTY OR THE PRODUCT. THE CUMULATIVE LIABILITY OF BOSCH RELATED TO THIS LIMITED LIFETIME WARRANTY OR THE PRODUCT WILL NOT EXCEED THE AMOUNT ACTUALLY PAID FOR THE PRODUCT BY THE ORIGINAL PURCHASER.
If you are a consumer subject to the Quebec Consumer Protection Act, your rights and remedies under such Act are not limited, including the right to make a claim under any of the statutory warranties provided under sections 34 to 54 of such act.
This Limited Lifetime Warranty gives you specific legal rights and you may also have other rights which vary. The obligation of Bosch for any valid claim under this Limited Lifetime Warranty is solely to repair or replace the product. Some jurisdictions do not allow the exclusion or limitation of incidental or consequential damages or certain limitations on implied warranties, so some of the above limitations or exclusion may not apply to you.
For prices and warranty fulfillment in the continental United States or Canada, contact your local distributor of Dremel® brand products.
This warranty is offered by Robert Bosch Tool Corporation, 1800 West Central Road, Mt. Prospect, IL 60056.
Exportado por: © Robert Bosch Tool Corporation Mt. Prospect, IL 60056 -2230, E.U.A.
Importado a México por: Robert Bosch, S. de R.L. de C.V.
Calle Robert Bosch No. 405 – 50071 Toluca, Edo. de Méx. – México Tel.
052 (722) 279 2300 ext 1160 / Fax. 052 (722) 216-6656
Dremel® Battery and Charger 2-Year Limited Warranty
ARE NOT COVERED BY THIS LIMITED 2-YEAR WARRANTY.
No employee, agent, dealer or other person is authorized to give any warranties on behalf of Robert Bosch Tool Corporation (“Bosch”). If our inspection shows that the failure of the Battery or Charger, as the case may be, was caused by problems with material or workmanship within the scope of the Limited 2-Year Warranty, we will repair or replace the Battery or Charger, as the case may be, free of charge and pay for the return shipping of the Battery and/or Charger, as the case may be, to you. Repairs made necessary by normal wear and tear, abuse, or other causes outside the scope of the Limited 2-Year Warranty, if they can be made, will be charged at regular factory prices. You will be notified and asked for approval prior to Bosch making any such out-of-warranty repairs.
If you are a consumer subject to the Quebec Consumer Protection Act, the limitations contained in the immediately following paragraph do not liberate Bosh from the consequences of its own acts or the acts of its representatives, or any gross or intentional fault on their part.
IN NO EVENT WILL BOSCH BE LIABLE FOR ANY DIRECT, INDIRECT, CONSEQUENTIAL, EXEMPLARY, SPECIAL, OR INCIDENTAL LOSSES, OR ANY LOSSES IN CONNECTION WITH OR ARISING FROM THIS LIMITED 2-YEAR WARRANTY, THE BATTERY OR THE CHARGER. THE CUMULATIVE LIABILITY OF BOSCH RELATED TO THIS LIMITED 2-YEAR WARRANTY OR THE BATTERY AND THE CHARGER WILL NOT EXCEED THE AMOUNT ACTUALLY PAID FOR THE DREMEL® 8250 POWER TOOL BY THE ORIGINAL PURCHASER.
If you are a consumer subject to the Quebec Consumer Protection Act, your rights and remedies under such Act are not limited, including the right to make a claim under any of the statutory warranties provided under sections 34 to 54 of such act.
This Limited 2-Year Warranty gives you specific legal rights and you may also have other rights which vary. The obligation of Bosch for any valid claim under this Limited 2-Year Warranty is solely to repair or replace the Battery and/or Charger, as the case may be. Some jurisdictions do not allow the exclusion or limitation of incidental or consequential damages or certain limitations on implied warranties, so the above limitations or exclusion may not apply to you.
For prices and warranty fulfillment in the continental United States or Canada, contact your local distributor of Dremel® brand products.
This warranty is offered by Robert Bosch Tool Corporation, 1800 West Central Road, Mt. Prospect, IL 60056.
Exportado por: © Robert Bosch Tool Corporation Mt. Prospect, IL 60056 -2230, E.U.A.
Importado a México por: Robert Bosch, S. de R.L. de C.V.
Calle Robert Bosch No. 405 – 50071 Toluca, Edo. de Méx. – México Tel.
052 (722) 279 2300 ext 1160 / Fax. 052 (722) 216-6656



































