LUTEC 6050 Wall Lantern

PACKAGE CONTENTS

| PART | DESCRIPTION | QUANTITY |
| A | Fixture | 1 |
HARDWARE CONTENTS
(not shown actual size)
- Qty. 2

- Qty. 3

- Qty. 2

- Qty. 1

AFETY INFORMATION
Please read and understand this entire manual before attempting to assemble, operate or install the product.
WARNING:
- Consult a qualified electrician if you are not certain about the installation process. Always install wiring connections in accordance with local code, ordinances and the National Electric Code
- Changes or modifications to this unit not expressly approved by the party responsible for compliance could void the user’s authority to operate the equipment.
- This light fixture is designed to fit standard junction boxes as defined by the National Electrical Code.
- This light fixture is not dimmable.
PREPARATION
Before beginning to assemble or installing lighting fixture, make sure all parts are present. Compare parts with package contents list and hardware contents list. If any part is missing or damaged, do not attempt to assemble, install or operate the product. Estimated Assembly Time: 20-30 minutes. Tools Required for Assembly: Phillips Screwdriver, Silicone Caulking Adhesive, Ladder.
INSTALLATION
- Turn OFF power to work area at main circuit breaker or fuse box.
CAUTION: Do not rely on wall switch alone to turn off power.
- Remove the lamp cover from the fixture (A) by unscrewing the screws using the wrench (DD).

- Insert the bulbs (not included).

- Replace the lamp cover on the fixture (A) by screwing the previously removed screws with the wrench (DD).

- Remove the mounting bracket from the fixture (A) by unscrewing the pre-assembled screws using the wrench (DD). Put the screw a side as it will be used later.

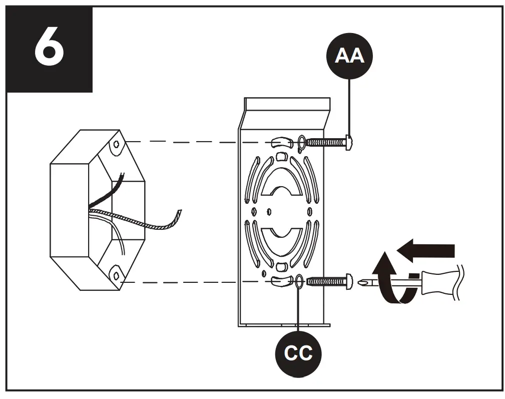
- Rotate the mounting bracket so the top is level. Attach the mounting bracket to the junction box (not included) using the two screws (AA) and the two washers (CC).

- Connect the ground wire from the junction box to the ground wire from the fixture (A) by twisting a wire nut (BB) onto the bare ends of the wires.
Connect the white wire from the junction box to the white wire from the light fixture by twisting a wire nut (BB) onto the bare ends of the wires. Connect the black wire from the junction box to the black wire from the light fixture by twisting a wire nut (BB) onto the bare ends of the wires.
Position all the wires inside the fixture junction box.
- Attach the light fixture (A) to the mounting bracket using the screw previously removed in step 5.

- After mounting the fixture, apply silicone caulking compound completely around the perimeter of the cover plate where the back of the cover plate meets the mounting surface. Silicone caulking prevents water from seeping into the junction box.

- Turn ON power to work area at main circuit breaker or fuse box.

CARE AND MAINTENANCE
- Clean surfaces with a mild, non-abrasive cleaner.
TROUBLESHOOTING
| PROBLEM | POSSIBLE CAUSE | CORRECTIVE ACTION |
| The light will not go on. |
|
|
| Fuse blows or circuit trips when fixture is turned on. | Crossed wires or power wire is grounding out. | Consult a certified electrician. |
3-YEAR LIMITED WARRANTY
If this product fails due to a defect in materials or workmanship within three (3) years from the date of purchase, return it along with proof of date of purchase and it will be replaced with the same or comparable model free of charge.
This warranty is void if damage or defect has resulted from accident, abuse, misuse or faulty repair. This warranty gives you specific legal rights and you may have other rights that vary from state to state.
IN NO EVENT WILL LIABILITY EXTEND TO ANY CONSEQUENTIAL, SPECIAL, INCIDENTAL OR INDIRECT DAMAGES OF ANY KIND ARISING OUT OF THE USE OR MISUSE OF THIS PRODUCT. SOME STATES DO NOT ALLOW THE EXCLUSION OR LIMITATION OF INCIDENTAL OR CONSEQUENTIAL DAMAGES SO THE ABOVE EXCLUSION OR LIMITATION MAY NOT APPLY TO YOU.
LUTEC USA LLC: 149B Houston Rd Troutman NC 28166
Ningbo UTEC Electric Co.,LTD CN8, Far East Industry Park, Yuyao, China
www.lutec.com
[email protected]
Please call our Customer Service line at 877-714-8669 for assistance Monday – Friday 9 a.m. to 5 p.m. EST
Printed in China




AFETY INFORMATION
























