REGIN HR1 Room Humidistat

Caution!! Read and understand the instruction before using the product.
Caution !! Ensure that the installation complies with local safety regulations.
Warning!! Before installation or maintenance, the power supply must first be disconnected in order to prevent potentially lethal electric shocks! Installation or maintenance of this unit should only be carried out by qualified personnel. The manufacturer is not responsible for any eventual damage or injury caused by inadequate skills during installation, or through removal of or deactivation of any security devices.
Function
The humidistat uses human hair as the sensor medium. The hair stretches as the humidity increases and shrinks as the humidity decreases. These changes are transmitted to a micro switch (two switches). The setpoint switch affects the position of the micro switches in relation to the hair element.
The setpoint can be set at between 10% and 95% RH. As the contacts are of the changeover type the humidistat can control both humidification and dehumidification. This tried and trusted construction with few movable parts gives a high degree of reliability and accuracy.
- step humidistat for 10A
HR1-DH is specially designed to control dehumidifying units and manage rated currents up to 10A. The humidistat has a closing contact which activates when the humidity begins to increase. - step humidistat
This model has two micro switches. The step differential between them can be set by means of an adjustment screw.
As the contacts are of the change-over type, the humidistat can control both humidification and dehumidification.
Calibration
The humidistats are calibrated at the factory before delivery to the customer, but should be precision calibrated after installation to ensure optimal results. After this, annual checks and re-calibration are recommended.
Maintenance
The hair element should be dusted off with a soft brush once a year. Do not rinse the hair element in water as this changes the calibration point. For more information concerning maintenance, see instructions supplied on delivery.
Typical applications
Can be used to control a humidifier or a dehumidifier or for on/off controlling of a fan. Can also be used to alarm when the humidity exceeds or falls below a preset level.
Technical data
General
| Ambient temperature | Maximum 40°C |
| Mounting | Wall mounting. Can be mounted in a bathroom zone 3. |
| Weight | 0.125 kg |
| Protection class | IP21 |
Output
| Relay contact data | 5A, 250 VAC, changeover contact. HR-DH, 10 A, 250 VAC, closing |
Settings
| Setpoint | 10…95%RH |
| Hysteresis | 4%RH at 45%RH |
| Step differential (HR2) | 0…30%RH |
Installation
Mount the humidistat in a location with an even temperature and good air circulation. The mounting holes have a c:c distance of 60 mm in order to fit on a wall box.
Wiring
HR1
On HR1 the contact between terminals 1 and 3 closes when the humidity exceeds the setpoint value.
| Humidification | 1 + 2 |
| Dehumidification | 1 + 3 |
HR1-DH
On HR1-DH the contact between terminals 1 and 2 closes when humidity exceeds the setpoint value.(Dehumidification).
HR2
On HR2 the contact between terminals 1 and 3 closes when the humidity exceeds the setpoint value. When the humidity continues to rise and exceeds the setpoint value for step 2 the contact between terminals 4 and 6 closes.
| 2 steps humidification | 1 + 2 and 4 + 6 |
| 2 steps dehumidification | 1 + 3 and 4 + 5 |
| Humidification + dehumidification | 1 + 2 and 4 + 6 |
Maintenance
Calibrate the humidistat after it has been mounted. Thereafter it should be calibrated at regular intervals, for example at the beginning of each heating season.
If dust or other matter is permitted to accumulate on any type of sensing material (hair, cotton or plastic) its hygroscopic interchange with the surrounding air is impaired. So remove all deposits at regular intervals using a soft brush.
Calibration
- Measure the relative humidity close to the humidistat using for example a psychrometer or other accurate instrument.
- Remove the front and loosen the setpoint locking screw.
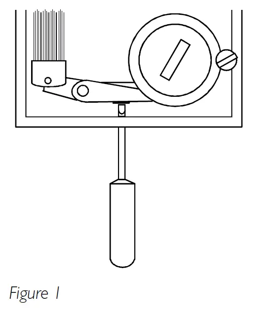
- Twist the setpoint knob until you find the switching point. If the switching point value is higher than the measured actual value, the calibration screw should be screwed clockwise. If the switching value is lower than the measured value, the screw should be screwed counter-clockwise. The calibration screw is reached through the slits at the lower end of the humidistat using a narrow screwdriver. See fig 1. Adjust the calibration screw until the switch switches when the setpoint knob is set to the actual measured humidity.
- Set the setpoint knob to the desired control value and, if desired, lock the knob using the locking screw.
- On HR2 the step differential can be set using the screw on the micro switch actuator. Factory setting is 0%. To increase the value, turn the screw clockwise.

This product carries the CE-mark. More information is available at www.regincontrols.com.
Contact
AB Regin, Box 116, 428 22 Kållered, Sweden
Tel: +46 31 720 02 00, Fax: +46 31 720 02 50
www.regincontrols.com, [email protected]




















