CRAFTSMAN CMCS340 20V Max Compact Reciprocating Saw

Product Information
The CMCS340 Reciprocating Saw is a professional power tool designed for professional sawing applications. It features a variable speed trigger switch, lock button, blade clamp, pivoting shoe, hand grip, battery pack, battery release button, main handle, work light, and CRAFTSMAN accessory attachment location. The saw comes with indicators for all chargers except CMCB101.
Product Usage Instructions
- Ensure that the work area is clean and well lit before using the saw.
- Do not operate the saw in explosive atmospheres or near flammable liquids or gases as it may create sparks that could ignite them.
- Keep children and bystanders away while operating the saw to avoid distractions that may cause loss of control.
- Ensure that the power tool plugs match the outlet and never modify the plug in any way. Do not use any adapter plugs with earthed (grounded) power tools to reduce the risk of electric shock.
- Avoid body contact with earthed or grounded surfaces, such as pipes, radiators, ranges, and refrigerators as there is an increased risk of electric shock if your body is earthed or grounded.
- Attach the appropriate accessory to the CRAFTSMAN accessory attachment location.
- Hold the main handle firmly and press the battery release button to remove or insert the battery pack into the saw.
- Press the lock button to keep the saw running without holding the trigger switch.
- Adjust the blade clamp to insert or remove the blade.
- Use the variable speed trigger switch to control the speed of the saw.
- Use the pivoting shoe to adjust the saw’s angle as needed.
- Use the work light to illuminate the work area.
- Follow all safety warnings and instructions provided in the instruction manual to avoid electric shock, fire, and serious injury.
OVERVIEW

- Variable speed trigger switch
- Lock button
- Blade clamp
- Pivoting shoe
- Hand grip
- Battery pack
- Battery release button
- Main handle
- Worklight
- CRAFTSMAN Accessory attachment location
Intended Use
- This reciprocating saw is designed for professional sawing applications.
- DO NOT use under wet conditions or in presence of flammable liquids or gases.
- This reciprocating saw is a professional power tool.
- DO NOT let children come into contact with the tool. Supervision is required when inexperienced operators use this tool.
Definitions: Safety Alert Symbols and Words
This instruction manual uses the following safety alert symbols and words to alert you to hazardous situations and your risk of personal injury or property damage.
- DANGER: Indicates an imminently hazardous situation which, if not avoided, will result in death or serious injury.
- WARNING: Indicates a potentially hazardous situation which, if not avoided, could result in death or serious injury.
- CAUTION: Indicates a potentially hazardous situation which, if not avoided, may result in minor or moderate injury. (Used without word) Indicates a safety related message.
- NOTICE: Indicates a practice not related to personal injury which, if not avoided, may result in property damage.
GENERAL POWER TOOL SAFETY WARNINGS
WARNING: Read all safety warnings, instructions, illustrations and specifications provided with this power tool. Failure to follow all instructions listed below may result in electric shock, fire and/or serious injury.
SAVE ALL WARNINGS AND INSTRUCTIONS FOR FUTURE REFERENCE.
The term “power tool” in the warnings refers to your mains‑operated (corded) power tool or battery‑operated (cordless) power tool.
- Work Area Safety
- Keep work area clean and well lit. Cluttered or dark areas invite accidents.
- Do not operate power tools in explosive atmospheres, such as in the presence of flammable liquids, gases or dust. Power tools create sparks which may ignite the dust or fumes.
- Keep children and bystanders away while operating a power tool. Distractions can cause you to lose control.
- Electrical Safety
- Power tool plugs must match the outlet. Never modify the plug in any way. Do not use any adapter plugs with earthed (grounded) power tools. Unmodified plugs and matching outlets will reduce risk of electric shock.
- Avoid body contact with earthed or grounded surfaces, such as pipes, radiators, ranges and refrigerators. There is an increased risk of electric shock if your body is earthed or grounded.
- Do not expose power tools to rain or wet conditions. Water entering a power tool will increase the risk of electric shock.
- Do not abuse the cord. Never use the cord for carrying, pulling or unplugging the power tool. Keep cord away from heat, oil, sharp edges or moving parts. Damaged or entangled cords increase the risk of electric shock.
- When operating a power tool outdoors, use an extension cord suitable for outdoor use. Use of a cord suitable for outdoor use reduces the risk of electric shock.
- If operating a power tool in a damp location is unavoidable, use a ground fault circuit interrupter (GFCI) protected supply. Use of a GFCI reduces the risk of electric shock.
- Personal Safety
- Stay alert, watch what you are doing and use common sense when operating a power tool. Do not use a power tool while you are tired or under the influence of drugs, alcohol or medication. A moment of inattention while operating power tools may result in serious personal injury.
- Use personal protective equipment. Always wear eye protection. Protective equipment such as a dust mask, non‑skid safety shoes, hard hat, or hearing protection used for appropriate conditions will reduce personal injuries.
- Prevent unintentional starting. Ensure the switch is in the off‑position before connecting to power source and/or battery pack, picking up or carrying the tool. Carrying power tools with your finger on the switch or energizing power tools that have the switch on invites accidents.
- Remove any adjusting key or wrench before turning the power tool on. A wrench or a key left attached to a rotating part of the power tool may result in personal injury.
- Do not overreach. Keep proper footing and balance at all times. This enables better control of the power tool in unexpected situations.
- Dress properly. Do not wear loose clothing or jewelry. Keep your hair, clothing and gloves away from moving parts. Loose clothes, jewelry or long hair can be caught in moving parts.
- If devices are provided for the connection of dust extraction and collection facilities, ensure these are connected and properly used. Use of dust collection can reduce dust‑related hazards.
- Do not let familiarity gained from frequent use of tools allow you to become complacent and ignore tool safety principles. A careless action can cause severe injury within a fraction of a second.
- Power Tool Use and Care
- Do not force the power tool. Use the correct power tool for your application. The correct power tool will do the job better and safer at the rate for which it was designed.
- Do not use the power tool if the switch does not turn it on and off. Any power tool that cannot be controlled with the switch is dangerous and must be repaired.
- Disconnect the plug from the power source and/or remove the battery pack, if detachable, from the power tool before making any adjustments, changing accessories, or storing power tools. Such preventive safety measures reduce the risk of starting the power tool accidentally.
- Store idle power tools out of the reach of children and do not allow persons unfamiliar with the power tool or these instructions to operate the power tool. Power tools are dangerous in the hands of untrained users.
- Maintain power tools and accessories. Check for misalignment or binding of moving parts, breakage of parts and any other condition that may affect the power tool’s operation. If damaged, have the power tool repaired before use. Many accidents are caused by poorly maintained power tools.
- Keep cutting tools sharp and clean. Properly maintained cutting tools with sharp cutting edges are less likely to bind and are easier to control.
- Use the power tool, accessories and tool bits etc. in accordance with these instructions, taking into account the working conditions and the work to be performed. Use of the power tool for operations different from those intended could result in a hazardous situation.
- Keep handles and grasping surfaces dry, clean and free from oil and grease. Slippery handles and grasping surfaces do not allow for safe handling and control of the tool in unexpected situations.
- Battery Tool Use and Care
- Recharge only with the charger specified by the manufacturer. A charger that is suitable for one type of battery pack may create a risk of fire when used with another battery pack.
- Use power tools only with specifically designated battery packs. Use of any other battery packs may create a risk of injury and fire.
- When battery pack is not in use, keep it away from other metal objects, like paper clips, coins, keys, nails, screws or other small metal objects, that can make a connection from one terminal to another. Shorting the battery terminals together may cause burns or a fire.
- Under abusive conditions, liquid may be ejected from the battery; avoid contact. If contact accidentally occurs, flush with water. If liquid contacts eyes, additionally seek medical help. Liquid ejected from the battery may cause irritation or burns.
- Do not use a battery pack or tool that is damaged or modified. Damaged or modified batteries may exhibit unpredictable behavior resulting in fire, explosion or risk of injury.
- Do not expose a battery pack or tool to fire or excessive temperature. Exposure to fire or temperature above 265 °F (130 °C) may cause explosion.
- Follow all charging instructions and do not charge the battery pack or tool outside the temperature range specified in the instructions. Charging improperly or at temperatures outside the specified range may damage the battery and increase the risk of fire.
- Service
- Have your power tool serviced by a qualified repair person using only identical replacement parts. This will ensure that the safety of the power tool is maintained.
- Never service damaged battery packs. Service of battery packs should only be performed by the manufacturer or authorized service providers.
Additional Safety Instructions for Reciprocating Saws
- Hold power tool by insulated gripping surfaces when performing an operation where the cutting accessory may contact hidden wiring. Cutting accessory contacting a “live” wire will make exposed metal parts of the power tool “live” and could give the operator an electric shock.
- Use clamps or another practical way to secure and support the workpiece to a stable platform. Holding the workpiece by hand or against your body leaves it unstable and may lead to loss of control.
- ALWAYS wear a dust mask. Exposure to dust particles can cause breathing difficulty and possible injury.
- Never switch on the tool when the saw blade is jammed in the workpiece or in contact with the material.
- Keep hands away from cutting area. Never reach underneath the material for any reason. Hold front of saw by grasping the contoured gripping area. Do not insert fingers or thumb into vicinity of the reciprocating blade and blade clamp. Do not stabilize the saw by gripping the shoe.
- Use extra caution when cutting overhead and pay particular attention to overhead wires which may be hidden from view. Anticipate the path of falling branches and debris ahead of time.
- When cutting pipe or conduit, ensure that they are free from water, electrical wiring, etc.
- Do not operate this tool for long periods of time. Vibration caused by the operating action of this tool may cause permanent injury to fingers, hands, and arms. Use gloves to provide extra cushion, take frequent rest periods, and limit daily time of use.
When Sawing
- Wherever possible, use clamps and vices to fasten the workpiece securely.
- Do not attempt to saw extremely small workpieces.
- Do not lean too far forward. Make sure that you always stand firmly, particularly on scaffolding and ladders.
Additional Safety Information
- WARNING: Never modify the power tool or any part of it. Damage or personal injury could result.
- WARNING: ALWAYS use safety glasses. Everyday eyeglasses are NOT safety glasses. Also use face or dust mask if cutting operation is dusty. ALWAYS WEAR CERTIFIED SAFETY EQUIPMENT:
- ANSI Z87.1 eye protection (CAN/CSA Z94.3),
- ANSI S12.6 (S3.19) hearing protection,
- NIOSH/OSHA/MSHA respiratory protection.
- WARNING: Some dust created by power sanding, sawing, grinding, drilling, and other construction activities contains chemicals known to the State of California to cause cancer, birth defects or other reproductive harm. Some examples of these chemicals are:
- lead from lead‑based paints,
- crystalline silica from bricks and cement and other masonry products, and
- arsenic and chromium from chemically‑treated lumber.
- Your risk from these exposures varies, depending on how often you do this type of work. To reduce your exposure to these chemicals: work in a well ventilated area, and work with approved safety equipment, such as those dust masks that are specially designed to filter out microscopic particles.
- Wear protective clothing and wash exposed areas with soap and water. Allowing dust to get into your mouth, eyes, or lay on the skin may promote absorption of harmful chemicals. Direct particles away from face and body.
- Use the appropriate dust extractor vacuum to remove the vast majority of static and airborne dust. Failure to remove static and airborne dust could contaminate the working environment or pose an increased health risk to the operator and those in close proximity.
- Use clamps or other practical ways to secure and support the workpiece to a stable platform. Holding the work by hand or against your body is unstable and may lead to loss of control and injury.
- Air vents often cover moving parts and should be avoided. Loose clothes, jewelry or long hair can be caught in moving parts.
- CAUTION: When not in use, place tool on its side on a stable surface where it will not cause a tripping or falling hazard. Some tools with large battery packs will stand upright on the battery pack but may be easily knocked over.
The label on your tool may include the following symbols. The symbols and their definitions are as follows:
BATTERIES AND CHARGERS
The battery pack is not fully charged out of the carton. Before using the battery pack and charger, read the safety instructions below and then follow charging procedures outlined. When ordering replacement battery packs, be sure to include the catalog number and voltage.
Important Safety Instructions for All Battery Packs
- WARNING: Read all safety warnings, instructions, and cautionary markings for the battery pack, charger and product. Failure to follow the warnings and instructions may result in electric shock, fire and/or serious injury.
- Do not charge or use the battery pack in explosive atmospheres, such as in the presence of flammable liquids, gases or dust. Inserting or removing the battery pack from the charger may ignite the dust or fumes.
- NEVER force the battery pack into the charger. DO NOT modify the battery pack in any way to fit into a non‑compatible charger as battery pack may rupture causing serious personal injury. Consult the chart at the end of this manual for compatibility of batteries and chargers.
- Charge the battery packs only in CRAFTSMAN chargers.
- DO NOT splash or immerse in water or other liquids.
- DO NOT allow water or any liquid to enter battery pack.
- Do not store or use the tool and battery pack in locations where the temperature may reach or exceed 104 °F (40 °C) (such as outside sheds or metal buildings in summer). For best life store battery packs in a cool, dry location.
NOTE: Do not store the battery packs in a tool with the trigger switch locked on. Never tape the trigger switch in the ON position. - Do not incinerate the battery pack even if it is severely damaged or is completely worn out. The battery pack can explode in a fire. Toxic fumes and materials are created when lithium‑ion battery packs are burned.
- Do not expose a battery pack or appliance to fire or excessive temperature. Exposure to fire or temperature above 265 °F (130 °C) may cause explosion.
- Follow all charging instructions and do not charge the battery pack or appliance outside of the temperature range specified in the instructions. Charging improperly or at temperatures outside of the specified range may damage the battery and increase the risk of fire.
- If battery contents come into contact with the skin, immediately wash area with mild soap and water. If battery liquid gets into the eye, rinse water over the open eye for 15 minutes or until irritation ceases. If medical attention is needed, the battery electrolyte is composed of a mixture of liquid organic carbonates and lithium salts.
- Contents of opened battery cells may cause respiratory irritation. Provide fresh air. If symptoms persist, seek medical attention.
- Battery liquid may be flammable if exposed to spark or flame.
- Never attempt to open the battery pack for any reason. If the battery pack case is cracked or damaged, do not insert into the charger. Do not crush, drop or damage the battery pack. Do not use a battery pack or charger that has received a sharp blow, been dropped, run over or damaged in any way (e.g., pierced with a nail, hit with a hammer, stepped on). Damaged battery packs should be returned to the service center for recycling.
Storage Recommendations
The best storage place is one that is cool and dry, away from direct sunlight and excess heat or cold. Store the fully charged battery pack out of the charger.
Battery Pack Cleaning Instructions
Dirt and grease may be removed from the exterior of the battery pack using a cloth or soft non‑metallic brush. Do not use water or any cleaning solutions.
Fuel Gauge Battery Packs (Fig. B)
Some battery packs include a fuel gauge. When the fuel gauge button is pressed and held, the LED lights will indicate the approximate level of charge remaining. This does not indicate tool functionality and is subject to variation based on product components, temperature, and end‑user application.
Transportation
WARNING: Fire hazard. Do not store, carry, or transport the battery pack so that metal objects can contact exposed battery terminals. For example, do not place the battery pack in aprons, pockets, tool boxes, product kit boxes, drawers, etc., with loose nails, screws, keys, coins, hand tools, etc. When transporting individual battery packs, make sure that the battery terminals are protected and well insulated from materials that could contact them and cause a short circuit.
NOTE: Li‑ion battery packs should not be put in checked baggage on airplanes and must be properly protected from short circuits if they are in carry‑on baggage.
The RBRC® Seal
Please take your spent battery packs to an authorized CRAFTSMAN service center or to your local retailer for recycling. In some areas, it is illegal to place spent battery packs in the trash. You may also contact your local recycling center for information on where to drop off the spent battery pack. Do not place in curbside recycling. For more information visit www.call2recycle.org. or call the toll free number in the RBRC® Seal RBRC® is a registered trademark of Call 2 Recycle, Inc.
Important Safety Instructions for All Battery Chargers
- WARNING: Read all safety warnings, instructions, and cautionary markings for the battery pack, charger and product. Failure to follow the warnings and instructions may result in electric shock, fire and/or serious injury.
- DO NOT attempt to charge the battery pack with any chargers other than a CRAFTSMAN charger. CRAFTSMAN chargers and battery packs are specifically designed to work together.
- These chargers are not intended for any uses other than charging CRAFTSMAN rechargeable battery packs. Charging other types of battery packs may cause them to overheat and burst, resulting in personal injury, property damage, fire, electric shock or electrocution.
- Do not expose the charger to rain or snow.
- Do not allow water or any liquid to enter charger.
- Pull by the plug rather than the cord when disconnecting the charger. This will reduce the risk of damage to the electric plug and cord.
- Make sure that the cord is located so that it will not be stepped on, tripped over or otherwise subjected to damage or stress.
- Do not use an extension cord unless it is absolutely necessary. Use of improper extension cord could result in risk of fire, electric shock or electrocution.
- When operating a charger outdoors, always provide a dry location and use an extension cord suitable for outdoor use. Use of a cord suitable for outdoor use reduces the risk of electric shock.
- An extension cord must have adequate wire size (AWG or American Wire Gauge) for safety. The smaller the gauge number of the wire, the heavier the cord and thus the greater its capacity. An undersized cord will cause a drop in line voltage resulting in loss of power and overheating. The following table shows the correct size to use depending on total length of all extension cords plugged together, and the nameplate ampere rating. If in doubt, use the next heavier gauge.
Minimum Gauge for Cord Sets
- Do not place any object on top of the charger or place the charger on a soft surface that might block the ventilation slots and result in excessive internal heat. Place the charger in a position away from any heat source. The charger is ventilated through slots in the top and the bottom of the housing.
- Do not operate the charger with a damaged cord or plug. Have them replaced immediately.
- Do not operate the charger if it has received a sharp blow, been dropped or otherwise damaged in any way. Take it to an authorized service center.
- Do not disassemble the charger; take it to an authorized service center when service or repair is required. Incorrect reassembly may result in a risk of electric shock, electrocution or fire.
- The charger is designed to operate on standard 120V household electrical power. Do not attempt to use it on any other voltage. This does not apply to the vehicular charger.
- Foreign materials of a conductive nature, such as, but not limited to, grinding dust, metal chips, steel wool, aluminum foil or any buildup of metallic particles should be kept away from the charger cavities and ventilation slots.
- Always unplug the charger from the power supply when there is no battery pack in the cavity.
Charging a Battery (Fig. C, D)


- Plug the charger into an appropriate outlet.
- Insert and fully seat battery pack 6 . Green charging light(s) will continuously blink while charging.
- Charging is complete when the green charging light(s) remain(s) continuously ON. Battery pack can be left in charger or removed.
WARNING: Only charge batteries in air temperature over 40 ° F (4.5 ° C) and below 104 ° F (+40 ° C). - Charger will not charge a faulty battery pack, which may be indicated by the charging light(s) staying OFF. Take charger and battery pack to an authorized service center if light(s) stay(s) OFF.
NOTE: Refer to label near charging light(s) on charger for blink patterns.
NOTE: To remove the battery pack, some chargers require the battery pack release button to be pressed.
Hot/Cold Pack Delay
When the charger detects a battery pack that is too hot or too cold, it automatically starts a Hot/Cold Pack Delay, suspending charging until the battery pack has reached an appropriate temperature. The charger then automatically switches to the pack charging mode. This feature ensures maximum battery pack life. A cold battery pack may charge at a slower rate than a warm battery pack. The hot/cold pack delay will be indicated by the green light(s) continuing to blink but with the red light continuously ON. Once the battery pack has reached an appropriate temperature, the red light will turn OFF and the charger will resume the charging procedure.
Electronic Protection System
Li‑Ion tools are designed with an Electronic Protection System that will protect the battery pack against overloading, overheating or deep discharge. The tool will automatically turn off and the battery pack will need to be recharged.
Important Charging Notes
- Longest life and best performance can be obtained if the battery pack is charged when the air temperature is between 65 °F – 75 °F (18 ° C– 24 °C). DO NOT charge when the battery pack is below +40 °F (+4.5 °C), or above +104 °F (+40 °C). This is important and will prevent serious damage to the battery pack.
- The charger and battery pack may become warm to the touch while charging. This is a normal condition, and does not indicate a problem. To facilitate the cooling of the battery pack after use, avoid placing the charger or battery pack in a warm environment such as in a metal shed or an uninsulated trailer.
- If the battery pack does not charge properly:
- Check operation of receptacle by plugging in a lamp or other appliance;
- Check to see if receptacle is connected to a light switch which turns power off when you turn out the lights;
- If charging problems persist, take the tool, battery pack and charger to your local service center.
- You may charge a partially used pack whenever you desire with no adverse effect on the battery pack.
Charger Cleaning Instructions
WARNING: Shock hazard. Disconnect the charger from the AC outlet before cleaning. Dirt and grease may be removed from the exterior of the charger using a cloth or soft non‑metallic brush. Do not use water or any cleaning solutions.
Wall Mounting
Some CRAFTSMAN chargers are designed to be wall mountable or to sit upright on a table or work surface. If wall mounting, locate the charger within reach of an electrical outlet, and away from a corner or other obstructions which may impede air flow. Use the back of the charger as a template for the location of the mounting screws on the wall. Mount the charger securely using drywall screws (purchased separately) at least 1” (25.4 mm) long, with a screw head diameter of 0.28–0.35” (7–9 mm), screwed into wood to an optimal depth leaving approximately 7/32” (5.5 mm) of the screw exposed. Align the slots on the back of the charger with the exposed screws and fully engage them in the slots.
NOTE: Do not attempt to mount CMCB101 charger under a bench or table.
NOTE: Only mount CMCB101 charger with the charging lights pointed upward toward the ceiling.
VersaTrack™
WARNING: Do not charge batteries while charger is hung on Trackwall. CRAFTSMAN chargers, except the CMCB101, can be stored on CRAFTSMAN VersaTrack™ Trackwall. Hooks and accessories are sold separately. Please refer to the VersaTrack™ Trackwall accessory sheet for further information.
NOTE: The CMCB101 charger is not CRAFTSMAN VersaTrack™ Trackwall compatible.
ASSEMBLY AND ADJUSTMENTS
WARNING: To reduce the risk of serious personal injury, turn unit off and remove the battery pack before making any adjustments or removing/installing attachments or accessories. An accidental start‑up can cause injury.
WARNING: Cut hazard. Blade breakage may occur if the blade does not extend past the shoe and the thickness of the workpiece during the cut. Increased risk of personal injury, as well as damage to the shoe and workpiece may result.
WARNING: Only sharp saw blades in perfect working condition should be used; cracked or bent saw blades should be discarded and replaced at once.
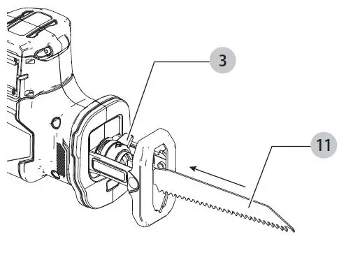
Blade Installation and Removal (Fig. E)
- To Install a Blade
- Use the tab on the blade clamp collar 3 , rotate open the collar to its full open position.
- Insert blade 11 fully into blade clamp collar.
NOTE: Blade can be installed with the teeth facing up to assist in Flush Cutting. - Release blade clamp collar and gently tug on the blade to ensure blade is clamped securely.
- To Remove a Blade (Fig. E)
WARNING: Burn hazard. Do not touch the blade and blade clamp collar immediately after use. Contact with the blade may result in personal injury.- Rotate open blade clamp collar 3 to its full open position.
- Remove blade.
OPERATION
WARNING: To reduce the risk of serious personal injury, turn unit off and remove the battery pack before making any adjustments or removing/installing attachments or accessories. An accidental start‑up can cause injury.
Installing and Removing the Battery Pack (Fig. F)
WARNING: Ensure the tool/appliance is in the off position before inserting the battery pack.
NOTE: For best results, make sure your battery pack is fully charged. To install the battery pack 6 into the tool handle, align the battery pack with the rails inside the tool’s handle and slide it into the handle until the battery pack is firmly seated in the tool and ensure that it does not disengage. To remove the battery pack from the tool, press the release button 7 and firmly pull the battery pack out of the tool handle. Insert it into the charger as described in the charger section of this manual.
Proper Hand Position (Fig. G)
WARNING: To reduce the risk of serious personal injury, ALWAYS use proper hand position as shown.
WARNING: To reduce the risk of serious personal injury, ALWAYS hold securely in anticipation of a sudden reaction. With the material being cut properly clamped, proper hand position requires one hand on the main handle 8 and one hand the hand grip 5 or one hand on the main handle and other hand far away from cutting action.
Worklight (Fig. A)
CAUTION: Do not stare into worklight. Serious eye injury could result.
There is a worklight 9 located on the end of the tool near the shoe. The worklight is activated when the trigger switch is depressed, and will remain on for a short time after the trigger switch is released. If the trigger switch remains depressed, the worklight will remain on.
NOTE: The worklight is for lighting the immediate work surface and is not intended to be used as a flashlight.
Variable Speed Trigger Switch (Fig. H)
- Lock Button and Trigger switch
Your saw is equipped with a lock button 2. To lock the trigger switch, press the lock button as shown in Figure H. Always lock the trigger switch 1 when carrying or storing the tool to eliminate unintentional starting. To lock the tool, slide lock button to the locked position. When in the locked position, the tool is locked and the trigger switch cannot be pulled. To unlock the trigger switch, press the lock button as shown in Figure H. Pull the trigger switch to turn the motor ON. Releasing the trigger switch turns the motor OFF.
WARNING: This tool has no provision to lock the switch in the ON position, and should never be locked ON by any other means. The variable speed trigger switch will give you added versatility. The further the trigger is depressed the higher the speed of the saw.
CAUTION: Use of very slow speed is recommended only for beginning a cut. Prolonged use at very slow speed may damage your saw.
Cutting (Fig. A, G–K)
The blade 11 should extend past the pivoting shoe 4 and the thickness of the workpiece throughout the cut. Select the blade best suitable for the material to be cut and use the shortest blade suitable for the thickness of the material.
NOTE: Do not use jigsaw blades with this tool.
NOTE: Before cutting any type of material, be sure it is firmly anchored or clamped to prevent slipping.
Place blade 11 and pivoting shoe 4 lightly against work to be cut. Switch on saw motor and allow it to obtain maximum speed before applying pressure. Always hold saw firmly with both hands while cutting as shown in Fig. G. Whenever possible, the pivoting shoe must be held firmly against the material being cut. This will prevent the saw from jumping or vibrating and will minimize blade breakage.
Wood Cutting (Fig. G, I)
- Before cutting any type of wood, be sure the workpiece is firmly anchored or clamped to prevent slipping.
- Place blade 11 and pivoting shoe 4 firmly against work to be cut.
- Switch on saw motor before starting the cut.
- Always hold saw firmly as shown in Fig. G while cutting. Whenever possible, the pivoting shoe must be held firmly against the material being cut. This will prevent the saw from jumping or vibrating and minimize blade breakage.
Metal Cutting (Fig. J)
- Use a finer blade for ferrous metals and a coarse blade for non-ferrous materials.
- In thin gauge sheet metals it is best to clamp wood to the underside of the sheet. This will ensure a clean cut without excess vibration or tearing of metal.
- Avoid forcing cutting blade as this reduces blade life and causes costly blade breakage.
NOTE: You should spread a thin film of oil or other coolant along the line ahead of the saw cut for easier operation and longer blade life. For cutting aluminum, kerosene is preferred.
Pocket Cutting – Wood Only (Fig. K)
Measure the surface area to be cut and mark clearly with a pencil, chalk or scriber.
- Insert blade 11 in blade clamp collar 3 and tighten blade clamp securely.
- Tip the saw backward until the back edge of the pivoting shoe is firmly on the work surface.
- Switch motor on, permitting blade to attain maximum speed.
- Grip handle steadily and begin a slow, deliberate upward swing with the handle of the saw.
- The blade will begin to feed into material. Always be sure blade is completely through material before continuing with pocket cut.
NOTE: In areas where blade visibility is limited, use the edge of the pivoting shoe as a guide.
Project Tips
- Cut only with sharp blades; they cut cleaner, faster and put less strain on the motor while cutting.
- When cutting, always ensure that the pivoting shoe is resting against the workpiece. This will improve operator control and minimize vibration.
- For longer blade life, use bi-metal blades or carbide tipped blades. These utilize a carbon steel back welded to high speed steel teeth making the blade more flexible and less prone to breaking.
MAINTENANCE
WARNING: To reduce the risk of serious personal injury, turn unit off and remove the battery pack before making any adjustments or removing/installing attachments or accessories. An accidental start‑up can cause injury.
Your CRAFTSMAN power tool has been designed to operate over a long period of time with a minimum of maintenance. Continuous satisfactory operation depends upon proper tool care and regular cleaning.
Cleaning
- WARNING: Blow dirt and dust out of all air vents with clean, dry air at least once a week. To minimize the risk of eye injury, always wear ANSI Z87.1 approved eye protection when performing this procedure.
- WARNING: Never use solvents or other harsh chemicals for cleaning the non‑metallic parts of the tool. These chemicals may weaken the plastic materials used in these parts. Use a cloth dampened only with water and mild soap. Never let any liquid get inside the tool; never immerse any part of the tool into a liquid.
Accessories
- WARNING: Since accessories, other than those offered by CRAFTSMAN, have not been tested with this product, use of such accessories with this product could be hazardous. To reduce the risk of injury, only CRAFTSMAN recommended accessories should be used with this product. Recommended accessories for use with your product are available at extra cost from your local dealer or authorized service center. If you need assistance in locating any accessory, please contact CRAFTSMAN call.
Belt Hook

Optional Accessory
- WARNING: To reduce the risk of serious personal injury, ONLY use the tool’s belt hook to hang the tool from a work belt. DO NOT use the belt hook for tethering or securing the tool to a person or object during use. DO NOT suspend tool overhead or suspend objects from the belt hook.
- WARNING: To reduce the risk of serious personal injury, ensure the screw holding the belt hook is secure.
- WARNING: Before hanging the tool from a work belt, ALWAYS remove the blade and ensure that the lock-off button is in the locked postion to eliminate unintentional starting.
IMPORTANT: When attaching or replacing the belt hook 12 , use only the screw 13 that is provided. Be sure to securely tighten the screw. The belt hook 12 can be attached to either side of the tool using only the screw 13 provided, to accommodate left- or right- handed users. If the belt hook is not desired at all, it can be removed from the tool. To move the belt hook, remove the screw that holds it in place then reassemble on the opposite side. Be sure to securely tighten the screw.
VersaTrack™ (Fig. M)
- WARNING: To reduce the risk of serious personal injury, turn unit off and remove the battery pack before making any adjustments or removing/installing attachments or accessories. An accidental start‑up can cause injury.
- WARNING: To reduce the risk of serious personal injury, do not use a damaged VersaTrack™ hang hook or VersaTrack™ Trackwall. A damaged VersaTrack™ hang hook or VersaTrack™ Trackwall will not support the weight of the tool.
- WARNING: To reduce the risk of serious personal injury, ensure the screw holding the VersaTrack™ hang hook is securely tightened.
- WARNING: To reduce the risk of serious personal injury, DO NOT suspend tool overhead or suspend objects from the hang hook. ONLY suspend tool on the VersaTrack™ Trackwall using the hang hook.
- WARNING: The Versatrack™ integral hang hook is not a belt hook.
- WARNING: Ensure that the tool weight does not exceed the maximum rated weight of 20 lb (9 kg) for the selected VersaTrack™ hook.
- WARNING: When hanging objects on a VersaTrack™ Trackwall rail, adequately space the tools in order to not exceed 75 lb (35 kg) per linear foot.
IMPORTANT: When attaching the VersaTrack™ hang hook, use only the screw that is provided. Be sure to securely tighten the screw. VersaTrack™ accessories mount compatible tools securely to the VersaTrack™ Trackwall system.
- Turn the tool off, remove the battery pack and accessories.
CAUTION: Remove blade from saw before placing on the VersaTrack™ Trackwall. - Attach the hang hook 14 on the tool.
- Place the VersaTrack™ hang hook onto the mounting location 10 at the base of the tool.
- Use a screwdriver to secure the hang hook with the provided screw 15. Do not use any other screw for this.
NOTE: VersaTrack™ accessories for use with your tool are available at extra cost from your local dealer or authorized service center. If you need assistance in locating any accessory, please contact CRAFTSMAN, call 1‑888‑331‑4569.
Repairs
The charger and batteries are not serviceable. There are no serviceable parts inside the charger or battery pack.
WARNING: To assure product SAFETY and RELIABILITY, repairs, maintenance and adjustment (including brush inspection and replacement, when applicable) should be performed by a CRAFTSMAN factory service center or a CRAFTSMAN authorized service center. Always use identical replacement parts.
Register Online
Thank you for your purchase. Register your product now for:
- WARRANTY SERVICE: Registering your product will help you obtain more efficient warranty service in case there is a problem with your product.
- CONFIRMATION OF OWNERSHI P: In case of an insurance loss, such as fire, flood or theft, your registration of ownership will serve as your proof of purchase.
- FOR YOUR SAFETY: Registering your product will allow us to contact you in the unlikely event a safety notification is required under the Federal Consumer Safety Act.
- Register online at www.craftsman.com/registration
Three-Year Limited Warranty
CRAFTSMAN will repair or replace, without charge, any defects due to faulty materials or workmanship for three years from the date of purchase (two years for batteries). This warranty does not cover part failure due to normal wear or tool abuse. For further detail of warranty coverage and warranty repair information, visit www.craftsman.com or call 1‑888‑331‑4569. This warranty does not apply to accessories or damage caused where repairs have been made or attempted by others. THIS LIMITED WARRANTY IS GIVEN IN LIEU OF ALL OTHERS, INCLUDING THE IMPLIED WARRANTY OF MERCHANTABILITY AND FITNESS FOR A PARTICULAR PURPOSE, AND EXCLUDES ALL INCIDENTAL OR CONSEQUENTIAL DAMAGES. Some states do not allow limitations on how long an implied warranty lasts or the exclusion or limitation of incidental or consequential damages, so these limitations may not apply to you. This warranty gives you specific legal rights and you may have other rights which vary in certain states or provinces.
- 2 YEARS FREE SERVICE ON CRAFTSMAN BATTERY PACKS
CMCB201, CMCB2011, CMCB2015 - 3 YEARS FREE SERVICE ON CRAFTSMAN BATTERY PACKS
CMCB202, CMCB204, CMCB205, CMCB206
NOTE: Battery warranty voided if the battery pack is tampered with in any way. CRAFTSMAN is not responsible for any injury caused by tampering and may prosecute warranty fraud to the fullest extent permitted by law.
NOTE: Battery warranty voided if the battery pack is tampered with in any way. CRAFTSMAN is not responsible for any injury caused by tampering and may prosecute warranty fraud to the fullest extent permitted by law.
90-DAY MONEY BACK GUARANTEE
If you are not completely satisfied with the performance of your CRAFTSMAN Power Tool or Nailer for any reason, you can return it within 90 days from the date of purchase with a receipt for a full refund – no questions asked.
LATIN AMERICA: This warranty does not apply to products sold in Latin America. For products sold in Latin America, see country specific warranty information contained in the packaging, call the local company or see website for warranty information.
FREE WARNING LABEL REPLACEMENT: If your warning labels become illegible or are missing, call 1‑888‑331‑4569 for a free replacement.
CRAFTSMAN 701 East Joppa Road, Towson, MD 21286
Copyright © 2022
1-888-331-4569
WWW.CRAFTSMAN.COM




















