BELNICK HG-3WPB21-T01-T-BK-GG Platform Bed Frame Instruction Manual
BEAD SIZES
- TWIN SIZE

- FULL SIZE

- QUEEN SIZE

- KING SIZE

ASSEMBLY INSTRUCTIONS
Before You Begin:
Please indentify all component parts and hardware pieces required before you begin. Carefully remove all of the components from the packaging and set aside for assembly. Assemble on a soft surface to prevent scratching during assembly.
Caution:
Tighten all components securely before use. Failure to do so may result in personal injury. DO NOT use any sharp objects to open plastic wrapped components as damage to product or components may result.
Warning:
CHOKING HAZARD – Small Parts. Adult Assembly Required.
DO NOT ALLOW CHILDREN TO CLIMB ON FURNITURE
Serious or fatal injuries can occur from furniture tipping over. You must install Tipping Restraint Hardware (where included) to help prevent the unit from tipping and causing accidental injury, instability, death or damage. The tipping restraint is intended only as a safety measure, it is not a substitute for proper adult supervision.
To help prevent furniture from tipping over it must be permanently attached to the wall. Anti-Tip Safety Wall Straps suitable for the unit weight and wall materials (if not included) should be purchased and installed.
Have a Question/Concern?
Quality products and first-class customer service are the cornerstone of long-lasting consumer relationships. We strive toward excellence in all we do and want you to be completely satisfied with your purchase.
Please contact our exceptional Customer Experience Agents at the email address or phone number shown below to assist you with any product questions or issues before requesting a return.
We look forward to serving you in a friendly, efficient manner to resolve any issues you may have.
Customer Service Email: [email protected]
Customer Service Phone: 866-552-2810
For warranty information, please visit www.belnick.com
PLATFORM BED FRAME INSTRUCTION
- A Headboard 1pc

- B Headboard J N Side Legs 2pcs

- C Headboard Middle Leg 1pc

- D Footboard 1pc

- E Side rails 1pcs

- F Middle Brace 1pc

- G Middle Cross Beam 2pcs

- H Middle Leg 1pc

- I Middle Brace Feet 2pcs

- J Slats 28pcs

- K Bed Legs 2pcs

- L Washers f8 11pcs

- M Screw f8*40 11pcs

- N Allen Wrench 1pc

- O Outer Slat Holder 28 pcs

- P Middle Slat Holders 14pcs

ASSEMBLY INSTRUCTIONS
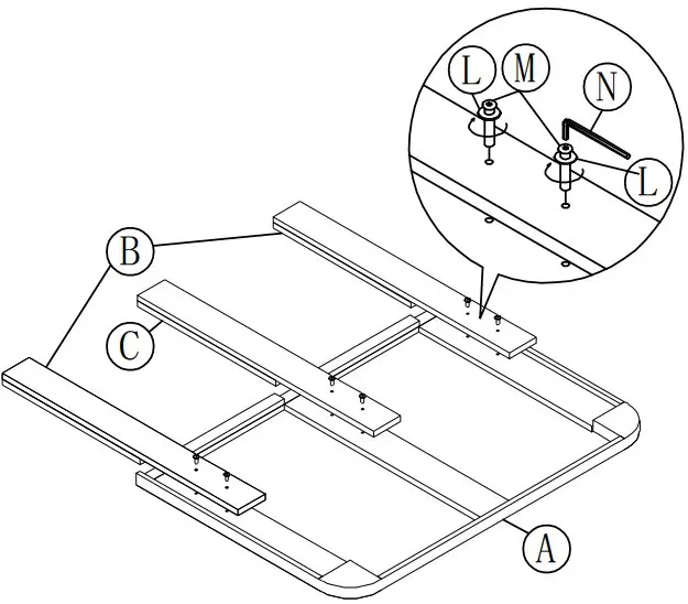
STEP 1: Attach Headboard Side Legs (Part B) and Headboard Middle Leg (Part C) to Headboard (Part A) using (6) Washers (Part L) and (6) 8*40 Screws (Part M). Tighten with Allen Wrench (Part N)
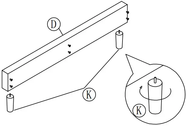
STEP 2: Insert Bed Legs (Part K) into Footboard (Part D) and turn clockwise to tighten.
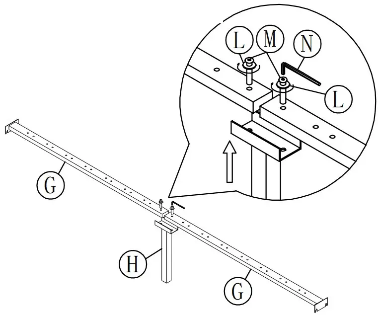
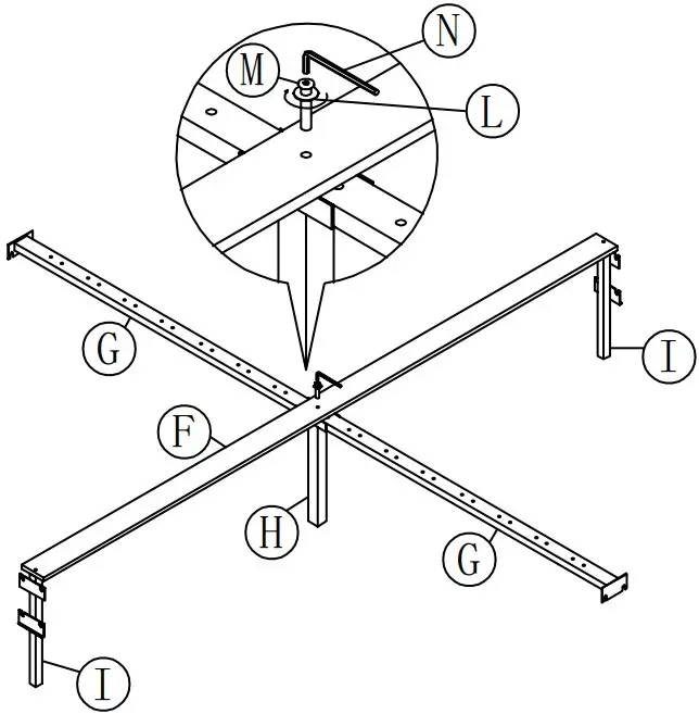
STEP 3: Attach Middle Cross Beam (Part G) to Middle Leg (Part H) using (2) Washers (Part L) and (2) 8*40 Screws (Part M). Tighten with Allen Wrench (Part N)
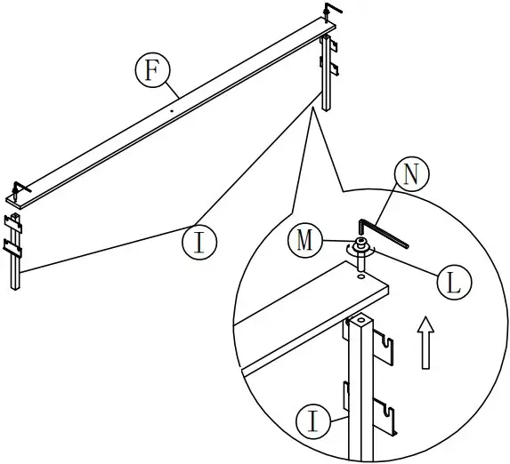
STEP 4: Attach Middle Brace (Part F) to Middle Brace Feet (Part I) using (2) Washers (Part L) and (2) 8*40 Screws (Part M).Tighten with Allen Wrench (Part N)
STEP 5: Attach Middle Brace (Part F) to Middle Cross Beam (Part G) using (1) Washer (Part L) and (1) 8*40 Screw (Part M). Tighten with Allen Wrench (Part N)
STEP 6B: Remove preassembled screws from Footboard. Attach Middle Brace to Footboard (Part D) using preassembled screws.
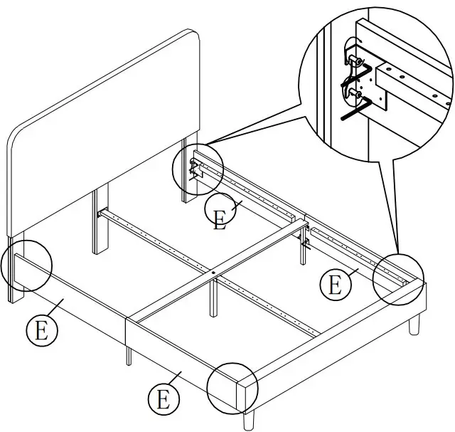
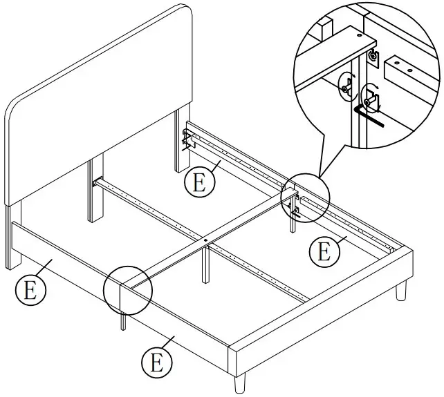
STEP 7: Remove remaining preassembled screws from Headboard Side Legs and Footboard. Attach Siderails (Part E) to Headboard and Footboard using preassembled screws.
STEP 8: Loosen preassembled screws from Siderails (Part E). Insert screws into the slots of the Middle Legs then tighten screws.
STEP 9: Insert (28) Slats (Part J) into the left and right sides of the Middle Slat Holders (Part P). Insert Slats into Outer Slat Holders (Part O). Push down on slat holders to secur.
STEP 10: Ensure all screws and slats are secure.







































