
Filing Sander
INSTRUCTION MANUAL

9032 Filing Sander


Explanation of general view
| 1-1. Screw | 4-3. Cam lever | 6-4. Vacuum cleaner |
| 1-2. Arm | 4-4. Rear pulley | 7-1. Dust nozzle |
| 2-1. Lock button | 5-1. Arm | 7-2. Hose 28 |
| 2-2. Switch trigger | 5-2. Adjusting dial | 7-3. Dust collector |
| 3-1. Speed adjusting dial | 6-1. Dust nozzle | 10-1. Limit mark |
| 4-1. Arm | 6-2. Hose 28 | 11-1. Brush holder cap |
| 4-2. Abrasive belt | 6-3. Hose of vacuum cleaner | 11-2. Screwdriver |
SPECIFICATIONS
| Model | 9032 |
| Belt size | 9 mm x 533 mm |
| Belt speed | 5 -28 m/s |
| Overall length | 420 mm |
| Net weight | 1.6 kg |
| Safety class |
- Due to our continuing programme of research and development, the specifications herein are subject to change without notice.
- Specifications may differ from country to country.
- Weight according to EPTA-Procedure 01/2003
Intended use
The tool is intended for the sanding of large surface of wood, plastic, and metal materials as well as painted surfaces. ENE052-1
Power supply
The tool should be connected only to a power supply of the same voltage as indicated on the nameplate, and can only be operated on single-phase AC supply. They are double-insulated and can, therefore, also be used from sockets without earth wire. ENF002-2
Noise
The typical A-weighted noise level determined according to EN60745: ENG905-1
Sound pressure level (LpA): 84 dB(A)
Sound power level (LWA): 95 dB(A)
Uncertainty (K) : 3 dB(A)
Wear ear protection
Vibration
The vibration total value (tri-axial vector sum) determined according to EN60745:
Work mode: sanding metal plate
Vibration emission (ah) : 2.5 m/s2 or less
Uncertainty (K) : 1.5 m/s 2 ENG901-1
- The declared vibration emission value has been measured in accordance with the standard test method and may be used for comparing one tool with another.
- The declared vibration emission value may also be used in a preliminary assessment of exposure.
WARNING:
- The vibration emission during actual use of the power tool can differ from the declared emission value depending on the ways in which the tool is used.
- Be sure to identify safety measures to protect the operator that are based on an estimation of exposure in the actual conditions of use (taking account of all parts of the operating cycle such as the times when the tool is switched off and when it is running idle in addition to the trigger time).
For European countries only
EC Declaration of Conformity
We Makita Corporation as the responsible manufacturer declare that the following Makitamachine(s):
Designation of Machine: Filing Sander
Model No./ Type: 9032 are of series production and
Conforms to the following European Directives:
2006/42/EC
And are manufactured in accordance with the following standards or standardised documents:
EN60745
The technical documentation is kept by our authorised representative in Europe who is:
Makita International Europe Ltd.
Michigan Drive, Tongwell,
Milton Keynes, Bucks MK15 8JD, England
30.1.2009
Tomoyasu Kato
Director
Makita Corporation
3-11-8, Sumiyoshi-cho, Anjo, Aichi, 446-8502, JAPAN
GEA010-1
General Power Tool Safety Warnings
WARNING Read all safety warnings and all instructions. Failure to follow the warnings and instructions may result in electric shock, fire, and/or serious injury.
Save all warnings and instructions for future reference.
GEB015-3
BELT SANDER SAFETY WARNINGS
- Hold power tool by insulated gripping surfaces, because the belt may contact its own cord. Cutting a “live” wire may make exposed metal parts of the power tool “live” and could give the operator an electric shock.
- Ventilate your work area adequately when you perform sanding operations.
- Some material contains chemicals which may be toxic. Take caution to prevent dust inhalation and skin contact. Follow material supplier safety data.
- Always use the correct dust mask/respirator for the material and application you are working with.
- Always use safety glasses or goggles. Ordinary eye or sunglasses are NOT safety glasses.
- Hold the tool firmly with both hands.
- Make sure the belt is not contacting the workpiece before the switch is turned on.
- Keep hands away from rotating parts.
- Do not leave the tool running. Operate the tool only when hand-held.
- This tool has not been waterproofed, so do not use water on the workpiece surface.
SAVE THESE INSTRUCTIONS.
WARNING:
DO NOT let comfort or familiarity with product (gained from repeated use) replace strict adherence to safety rules for the subject product. MISUSE or failure to follow the safety rules stated in this instruction manual may cause serious personal injury.
FUNCTIONAL DESCRIPTION
CAUTION:
- Always be sure that the tool is switched off and unplugged before adjusting or checking function on the tool.
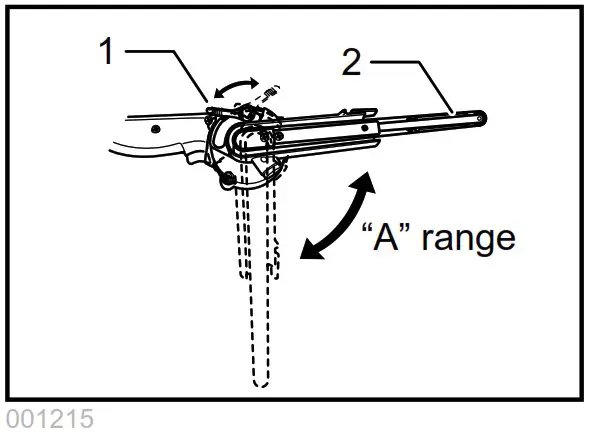
Adjusting arm inclination
The arm can be pivoted and fixed at any desired angle within the “A” range according to the operating position or the figure of the workpiece.
1. Lock lever
2. Arm
Loosen the lock lever by raising it. Pivot the arm to the desired position, and secure the lock lever to fix the arm firmly.
Replacing arm
By replacing the standard-equipped arm by optional one, a 6 mm or 13 mm width belt can be used. Remove the arm by loosening the screw that secures the arm. Insert the arm that fits the belt to be used, and tighten the screw firmly.
Fig.1
Switch action
Fig.2
CAUTION:
- Before plugging in the tool, always check to see that the switch trigger actuates properly and returns to the “OFF” position when released.
To start the tool, simply pull the switch trigger. Release the switch trigger to stop.
For continuous operation, pull the switch trigger and then push in the lock button.
To stop the tool from the locked position, pull the switch trigger fully, and then release it.
Speed adjusting dial
Fig.3
The belt speed can be infinitely adjusted between 5 m and 28 m per second by turning the speed-adjusting dial to a given number setting from 1 to 6.
Higher speed is obtained when the dial is turned in the direction of number 6; lower speed is obtained when it is turned in the direction of number 1. Select the proper speed for the workpiece to be sanded.
CAUTION:
- The speed-adjusting dial can be turned only as far as 6 and back to 1. Do not force it past 6 or 1, or the speed-adjusting function may no longer work.
ASSEMBLY
CAUTION:
- Always be sure that the tool is switched off and unplugged before carrying out any work on the tool.
Installing or removing abrasive belt
Fig.4
Pull the cam lever all the way out. Install the belt over the rear pulley, and slip the belt over the front pulley, with the belt pulled out to the front arm. Return the cam lever to the original position.
Adjusting belt tracking
Fig.5
Switch on the tool and make sure that the belt is aligned properly.
Use the adjusting dial to center the belt tracking. Turn the adjusting dial clockwise to incline the arm to the right, or counterclockwise to incline it to the left.
Connecting to Makita vacuum cleaner
Fig.6
CAUTION:
- Always close the nozzle cap when the vacuum cleaner is not connected to the nozzle. Never insert your finger into the nozzle.
Cleaner sanding operations can be performed by connecting the belt sander to Makita vacuum cleaner.
Open the nozzle cap, and install the dust nozzle. Connect the hose of a vacuum cleaner to the dust nozzle.
When connecting to Makita vacuum cleaner, an optional hose 28 mm in inner diameter is necessary.
Fig.7
OPERATION
Hold the tool firmly with both hands. Turn the tool on and wait until it attains full speed. Gently apply the tool to the workpiece surface and move the tool forward and back. Press the belt only lightly on the workpiece. Excessive pressure may damage the belt and shorten tool life. Always use “A” range of the belt to sand the workpiece.
1. Flat shoe
Fig.8
Fig.9
CAUTION:
- Secure the workpiece with clamps, etc. if there is any possibility of it moving during the work operations.
- The tool should not already be in contact with the workpiece surface when you turn the tool on or off. Otherwise, a poor sanding finish, damage to the belt, or loss of control of the tool may result.
- When working with the tool, be very careful to avoid any contact of the tool and belt with any part of your body or anyone or anything near you.
MAINTENANCE
CAUTION:
- Always be sure that the tool is switched off and unplugged before attempting to perform inspection or maintenance.
- Never use gasoline, benzine, thinner, alcohol, or the like. Discoloration, deformation, or cracks may result.
Replacing carbon brushes
Fig.10
Remove and check the carbon brushes regularly. Replace them when they are worn down to the limit mark. Keep the carbon brushes clean and free to slip in the holders. Both carbon brushes should be replaced at the same time. Use only identical carbon brushes.
Use a screwdriver to remove the brush holder caps. Take out the worn carbon brushes, insert the new ones, and secure the brush holder caps.
Fig.11
To maintain product SAFETY and RELIABILITY, repairs, any other maintenance or adjustment should be performed by Makita Authorized Service Centers, always using Makita replacement parts.
OPTIONAL ACCESSORIES
CAUTION:
- These accessories or attachments are recommended for use with your Makita tool specified in this manual. The use of any other accessories or attachments might present a risk of injury to persons. Only use accessory or attachment for its stated purpose.
If you need any assistance for more details regarding these accessories, ask your local Makita Service Center.
- Abrasive belts
- Hose 28
- Arm (6,9,13mm)
- Dust nozzle assembly
NOTE:
- Some items in the list may be included in the tool package as standard accessories. They may differ from country to country.
Makita Corporation
Anjo, Aichi, Japan
www.makita.com
884410A982
















