Taylor Made WAVEMAKER-BUNDLE Audio System and Exciters for Marine and Powersports

Introduction
The Taylor Made® Wavemaker amplifier is a 360 watt, four channel class D fully-integrated amplifier with 31 bands of equalization. The Wavemaker can be controlled, tuned and streamed from the available phone app. When coupled with Taylor Made Exciter speakers, the Wavemaker can turn the glass into speakers for an immersive listening experience. Additional information about this product can be obtained from lci1.com/support or by using the my LCI app. Replacement kits can be ordered from https://store.lci1. com/ or by using the my LCI app.
The my LCI app is available for free on iTunes® for iPhone® and iPad® and also on Google Play™ for Android™ users. iTunes®, iPhone®, and iPad® are registered trademarks of Apple Inc. Google Play™ and Android™ are trademarks of Google Inc.
Safety
Read and fully understand all instructions before installing or operating this product. Adhere to all safety labels. This manual provides general instructions. Many variables can change the circumstances of the instructions, i.e., the degree of difficulty, operation and ability of the individual performing the instructions. This manual cannot begin to plot out instructions for every possibility, but provides the general instructions, as necessary, for effectively interfacing with the device, product or system. Failure to correctly follow the provided instructions may result in death, serious personal injury, severe product and/or property damage, including voiding of the LCI limited warranty.
WARNING
THE “WARNING” SYMBOL ABOVE IS A SIGN THAT AN INSTALLATION PROCEDURE HAS A SAFETY RISK INVOLVED AND MAY CAUSE DEATH OR SERIOUS PERSONAL INJURY, SEVERE PRODUCT OR PROPERTY DAMAGE IF NOT PERFORMED SAFELY AND WITHIN THE PARAMETERS SET FORTH IN THIS MANUAL.
CAUTION
THE “CAUTION” SYMBOL ABOVE IS A SIGN THAT AN INSTALLATION PROCEDURE HAS A SAFETY RISK INVOLVED AND MAY CAUSE PERSONAL INJURY OR PRODUCT DAMAGE IF NOT PERFORMED SAFELY AND WITHIN THE PARAMETERS SET FORTH IN THIS MANUAL.
Parts List

NOTE:
Part numbers are shown for identification purposes only. Not all parts are available for individual sale. All parts with a link to the Lippert Store can be purchased.
Resources Required
- Cordless or electric drill with Phillips and drill bits
- Wire stripper and crimper
Installation
- Select a location to mount the Wavemaker amplifier. It should be mounted to a flat, solid location that is in close proximity to the power source.
NOTE:
Do not mount near heat sources and make sure there is sufficient air flow around the unit. - Mount the amplifier using supplied screws (Fig.1). Pre-drilling holes is recommended.

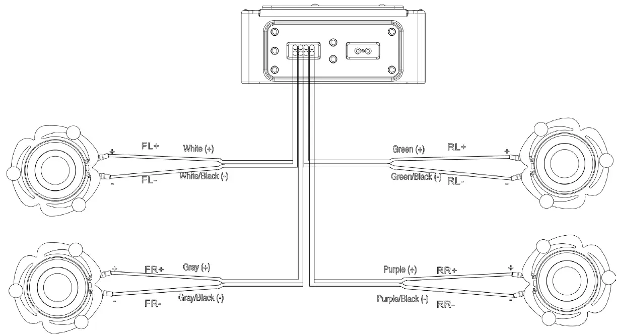
- Connect the speaker wires from installed Exciters to the amplifier (Fig.2) according to the wiring diagrams on the next two pages.
NOTE:
See Exciter Speaker Aftermarket Document CCD-0003867 for Exciter installation instructions.
Inside View
Outside View
Operation – PC
The Wavemaker system is operated by an app available at taylormadeproducts.com/wavemaker.
- Download and install the app on a PC.
- Apply power to the amplifier.
- Go to the Wi-Fi settings on the PC.
- Connect to the TM_FX_DSP network to get to the DSP Audio Adjustment System Screen
See pages 5 and 6 for more information on adjusting these features.
Delay
Delay for all channels can be adjusted in a range from 0 to 12.5 in Time (ms) or Distance (mm)
Master Volume Control
The master volume can be adjusted from 0 to -59dB
Equalizer Reset Buttons
• Reset All – Restores default settings
• Reset EQ – Sets the gain to 0 and the Q and Hz to default
• PEQ Parameter or Graphic Equalizer – In graphic mode, the Q or Hz cannot be adjusted
• Reset Gain – Will set all 31 gains to 0
Current Settings
- Save Mode – Indicates which EQ preset is saved in the DSP
- Current Mode – Indicates which EQ setting is active .
- Source – Indicates if Aux Line or Bluetooth is in use

Crossover Configuration
Choose between Butterworth or Bessel filter type (Fig. 8A). Select the appropriate frequencies (Fig. 8B) and slopes for each speaker
CAUTION
WHEN USING EXCITERS, IT IS RECOMMENDED THAT THE HIGH PASS FREQUENCY BE SET TO 80Hz AND THE SLOPE AT 24dB. ANY OTHER SETTING MAY RESULT IN DAMAGE TO THE EXCITERS.
Save Modes - Save DSP – Saves the EQ parameters into the DSP EQ1 through 8. EQ name is limited to 20 characters
- Load DSP – Accesses EQ1 through 8 parameters that are stored in the DSP
- Source – Allows selection between Bluetooth or RCA Line In
- Save PC – Saves the EQ parameters to the Documents folder on the PC
- Load PC – Accesses the Documents folder on the PC and allows previously saved EQ parameters to be loaded
- Update – Not supported

Equalization
There are 31 bands of equalization that can be tuned independently or combined (Fig.10).
NOTE:
The center channel is not supported.
Input Configuration
Each channel has independent volume, mute, and polarity control
Channel Linking
Each channel can be linked by selecting one channel (FL) to control all four channels or two channels (FL/RL) for front and rear channels. The OFF position allow for four independent channels
Operation – Android & iOS
The Wavemaker system is operated by an app available at the Google Play Store and iTunes.
- Download and install the app on an Android or iOS device.
- Apply power to the amplifier.
- Go to the Wi-Fi settings.
- Connect to the TM_FX_DSP network
- Open the app and establish sync to DSP

- EQ1 is the OEM Factory default setting that was tuned during production, if the system came from an OEM
- EQ2 through 8 are flat and can be adjusted. Select one of the EQ buttons to make changes
- Select the correct audio source, either Line-in or
Digital BT (Fig.13C). - Press the Advanced Function button to access the DSP settings
- If the DSP does not automatically connect, press the DSP Sync button
- Press the Info button to display software versions of DSP and App
- To use the Master/Main Volume control (Fig. 14), move the white ball around the circle or use the (+) plus or (-) minus controls to set the master volume level.
NOTE:
It is important to match is volume to the audio source to prevent distortion.
See the next page for additional adjustment screens.
Time Delay
Delay for each speakers can be adjusted in a range from 0 to 12.5 in Time (ms) or Distance (mm)
Input Configuration
Each channel has independent volume, mute, and polarity control. Channel linking is possible by selecting (FL-FR-RL-RR), (FL-FR) OR (RL-RR) to control all four channels or two channels for front and rear. The off position allows for independent channel adjustment
Crossover Configuration
Choose between Butterworth or Bessel filter type. Select the appropriate frequencies and slopes for each speaker
CAUTION
WHEN USING EXCITERS, IT IS RECOMMENDED THAT THE HIGH PASS FREQUENCY BE SET TO 80Hz AND THE SLOPE AT 24dB. ANY OTHER SETTING MAY RESULT IN DAMAGE TO THE EXCITERS.
Equalization
There are 31 bands of equalization. Each channel can be tuned independently or combined. Swipe left or right over the sliders to reveal additional frequency bands
Wiring Diagrams
Amplifier

Bridge Mode

Stereo Mode

INFORMATION TO THE USER
FCC ID: XNI-ID25351
FCC COMPLIANCE STATEMENT
Any Changes or modifications not expressly approved by the party responsible for compliance could void the user’s authority to operate the equipment.
This device complies with part 15 of the FCC Rules. Operation is subject to the following two conditions:
- this device may not cause interference, and
- this device must accept any interference, including interference that may cause undesired operation of this device.
FCC Radiation Exposure Statement:
This equipment complies with FCC radiation exposure limits set forth for an uncontrolled environment .This equipment should be installed and operated with minimum distance 20cm between the radiator& your body.
NOTE:
This equipment has been tested and found to comply with the limits for a Class B digital device, pursuant to Part 15 of the FCC Rules. These limits are designed to provide reasonable protection against harmful interference in a residential installation. This equipment generates, uses and can radiate radio frequency energy and, if not installed and used in accordance with the instructions, may cause harmful interference to radio communications. However, there is no guarantee that interference will not occur in a particular installation. If this equipment does cause harmful interference to radio or television reception, which can be determine by turning the equipment off and on the user is encouraged to try to correct the interference by one or more of the following measures:
- Relocate or reorient the receiving antenna.
- Increase the separation between the equipment and receiver.
- Connect the equipment into the outlet on a circuit different from that to which the receiver is connected.
- Consult the dealer or an experienced radio/TV technician for help.
CAUTION
ADJUSTMENT OR ALTERATIONS OF THIS DEVICE MAY RESULT IN HAZARDOUS RADIATION EXPOSURE.


Outside View

Equalizer Reset Buttons



Input Configuration























