HINKLEY 1500SMT Transformer

Transformer diagram

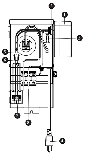
Mounting Instructions
start here
- Find a clear area in which you can work.
- Unpack fixture and glass from carton.
- Carefully review instructions prior to assembly.
- First plug photocell jumper (3) in (if needed)
- Next knockout conduit knockout in order to create an opening for dimmer box (1)
- Secure dimmer box (1) to transformer using lock ring (2). Wires from dimmer box should run through the conduit knockout.
- Connect key connectors form dimmer box (5) and daughter board (6) together.
- Connect the free wires from the dimmer box into the COM and 12V terminal block connectors (8)
- Connect light fixture wires to the positive and negative terminals at the end of the daughter board
Note: fixture wire can larger then 10 gage cannot be used on the daughter board. The board also features two positive and negative terminals to run multiple fixture lines. Wire zone 1 fixtures to Z1+ and Z1- and wire Zone 2 fixtures to Z2+ and Z2-. - Use wall plug (4) to power on transformer
- Download the Hinkley app to control dimmer settings. Refer to page 2 for app instructions
33000 Pin Oak Parkway, Avon Lake, OH 44012 800.446.5539 / 440.653.5500 hinkley.com

















