B00UG9HB1Q Steel Security Safe and Lock Box
Instruction Manual
Security Safe
| BOOUGSHB1Q | BOIBGY010C | BO1BGY043Q | BO1BGY6GPG |
| 0.45 ft ³ (14L) | 0.7 ft³(19.8L) | 1 ft³ (28.3L) | 1.2 ft³ (33.9 L) |
Safety and Compliance
- Read this instruction manual carefully before using the appliance. Familiarize yourself with the operation, adjustments and functions of switches. Understand and follow the safety and operation instructions in order to avoid possible risks and hazards. Keep for future reference. If you give this device to someone else, this instruction manual must be included too.
- To reduce the risk of theft, the safe must be fixed to a wall or floor.
- Store the emergency keys in a secret and safe place.
- Do not store the emergency keys inside the safe. If the battery runs out you will not be able to open the safe.
- The preset passcode should be changed before using the safe.
- Place the product on a stable, secure place, possibly not elevated, lest it may fall over and suffer damages or cause injury to people.
- Keep liquids away from the control panel and battery compartment. Liquids spilling over the electronic parts may cause damage and lead to malfunctioning.
- Never attempt to dismantle the product by yourself.
- If maintenance is required, please contact the local service center or local distributor.
1.1 Battery safety advice
- Danger of explosion if the battery is replaced with one of the wrong type.
- Replace the battery only with the same or equivalent type.
WARNING
The batteries (battery block or built-in batteries) must not be exposed to excessive heat, i.e. direct sunlight, fire or the likes.
WARNING
Do not swallow the battery, there’s risk of chemical burns.
- The product contains batteries. If a battery gets swallowed, can cause internal burns and cause death within 2 hours.
- Keep new and used batteries out of the reach of children.
- If the battery compartment doesn’t close properly, stop using the product and keep it out of the reach of children.
- If you think that the batteries were swallowed or introduced in any part of the body, seek medical attention immediately.
- Leaking battery acid may cause harm.
- If batteries should leak, remove them with a cloth from the battery compartment. Dispose of batteries according to the regulations.
- If battery acid has leaked avoid contact with skin, eyes and mucous membranes. Rinse affected areas immediately after contact with the acid and wash with plenty of clean water. Visit a physician.
- Do not allow children to replace batteries without adult supervision.
DANGER
Danger of explosion!
Batteries may not be charged, re-activated by other means, disassembled, thrown into fire or short-circuited.
- Always insert batteries correctly with regard to the polarities (+ and -}) marked on the battery and the battery compartment.
- Batteries shall be stored in well-ventilated, dry and cool conditions.
- Exhausted batteries should be immediately removed from equipment and properly disposed of.
- Use the correct type (AA battery).
- Remove the battery if you will not be using the appliance for an extended period of time,
Product Description

| A Reset button B Battery compartment C Door bolts, x2 D Backup supply socket | E Emergency lock F Knob G Expansion bolts, x4 H Emergency key, x2 |
Setting Up the Product
NOTICE To open the safe the first time you w i l l need to use the emergency key (H).
NOTICE The default preset passcode is “159”, change it immediately.
- Remove t h e cover of the emergency lock (E).

- Insert the emergency key (H) and turn it counterclockwise.

- Turn the knob (F) clockwise to open the door.

- Open the battery compartment (B} and insert 4 x AA batteries (not included).

NOTICE | When the batteries run out, the fl icon will turn on. Replace the batteries then.
NOTICE In the event of battery failure , connect a suitable external power source (5 V
) to the backup supply socket (D) for supplying power to the safe.
- With the door open, press the reset button (A). The safe will emit two beeps.

- Choose a new passcode (3-8 digits), punch it on the keypad and press the # key to confirm . If the d icon turns on , the new passcode is successfully set.
NOTICE | If the
icon flashes, the safe failed to set the new passcode. Repeat the steps above until successful.
NOTICE | Test the new passcode with the door open before locking the door.
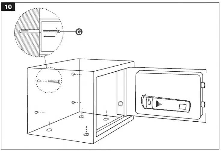
Securing to a Floor or Wall
NOTICE
- Select a stable, dry and secure location for your safe.
- If bolting to a wall, make sure that your sale is resting on a supporting surface (such as the floor or a shelf). Do not bolt your safe to both the floor and wall.
- Place the safe on the selected location. Use a pencil to mark the mounting holes on the floor or wall.
- Move the safe and drill 2-inch-deep mounting holes (~50 mm) using a 12 mm drill bit.
- Move the safe back in place , align the mounting holes to the openings in the safe.
Insert the expansion bolts (G) through the holes and into the mounting holes and tighten them securely.
Operation
5.1 Opening the safe using your passcode
- Input your passcode (3 to 8 digits) on the keypad. Press # key to confirm. The
icon turns on.
NOTICE The default preset passcode is “159″, change it immediately. - Rotate the knob (F) clockwise and open the door.

5.2 Locking the safe
Close the door, then turn the knob (F) counterclockwise to lock it.
5.3 Setting the master code
NOTICE | Should you forget your passcode, the safe can still be accessed with the master code.
- With the door open, press O key twice and then press the reset button (A}.

- Input the new code (3-8 digits), then press # key to confirm. The
icon turns on. The master code is set.
NOTICE | If the
icon doesn’t turn on , the safe failed to set the new master code.
Repeat the steps above until successful.

Automatic Lockout
- The safe will enter a 30-second lockout if the wrong passcode is entered 3 consecutive times.
- After the 30-second lockout it will automatically unlock.
NOTICE Entering the wrong passcode 3 more times will lock the safe for 5 minutes.
Cleaning and Maintenance
- If necessary wipe the outside and inside of the product with a slightly damp cloth.
- Avoid contact with corrosive substances like acids, alkaline or similar substances.
Troubleshooting
| Problem | Solution |
| The safe won’t open when entering the passcode. | • Make sure you entered the correct passcode. • Press the # key after entering the passcode. • The safe might be in lockout. Wait 5 minutes and try again. • Replace the batteries. |
| The door won’t shut. | • Make sure there are no obstructions. • If the door bolts (C) are extended, re-enter the passcode and turn the knob (F) clockwise to retract them. |
| The n icon turns on. | Replace the batteries. |
| Them | • Make sure you entered the correct passcode. • Press the # key after entering the passcode. |
Environmental Protection
This marking indicates that this product should not be disposed with other household wastes throughout the EU. To prevent possible harm to the environment or human health from uncontrolled waste disposal, recycle it responsibly to promote the sustainable reuse of material resources. To return your used device, please use the return and collection systems or contact the retailer where the product was purchased. They can take this product for environmental safe recycling.
Used batteries must not be disposed of through household garbage, since they might contain toxic elements and heavy metals that can be harmful to the environment and human health.
Consumers are therefore obligated to return batteries to retail or local collection facilities free of charge. Used batteries will be recycled.
They contain important raw materials such as iron, zinc, manganese or nickel. The crossed-out wheelie bin symbol indicates: Batteries and rechargeable batteries must not be disposed of through household garbage.
The symbols below the wheelie bin indicate:
Pb: Battery contains lead
Cd; Battery contains cadmium
Hg: Battery contains mercury
The packaging consists of cardboard and correspondingly marked plastics that can be recycled. Make these materials available for recycling.
FCC – Supplier’s Declaration of Conformity
| Unique Identifier | BOOUG9HB1Q, BO1BGY010C, BO1BGY043Q, BO1BGY6GPG – Security Safe |
| Responsible Party | Amazon.com Services LLC. |
| U.S. Contact Information | 410 Terry Ave N. Seattle, WA 98109 USA |
| Telephone Number | (206) 266-1000 |
10.1 FCC Compliance Statement
- This device complies with Part 15 of the FCC rules. Operation is subject to the following two conditions:
(1) this device may not cause harmful interference, and
(2) this device must accept any interference received, including interference that may cause undesired operation. - Changes or modifications not expressly approved by the party responsible for compliance could void the user’s authority to operate the equipment
10.2 FCC Interference Statement
This equipment has been tested and found to comply with the limits for a Class B digital device, pursuant to part 15 of the FCC Rules. These limits are designed to provide reasonable protection against harmful interference in a residential installation. This equipment generates, uses and can radiate radio frequency energy and, if not installed and used in accordance with the instructions, may cause harmful interference to radio communications. However, there is no guarantee that interference will not occur in a particular installation. If this equipment does cause harmful interference to radio or television reception, which can be determined by turning the equipment off and on, the user is encouraged to try to correct the interference by one or more of the following measures:
- Reorient or relocate the receiving antenna.
- Increase the separation between the equipment and receiver.
- Connect the equipment into an outlet on a circuit different from that to which the receiver is connected.
- Consult the dealer or an experienced radio/TV technician for help.
Disposal
The Waste Electrical and Electronic Equipment (WEEE) Directive aims to minimize the impact of electrical and electronic goods on the environment, by increasing re-use and recycling and by reducing the amount of WEEE going to landfill. The symbol on this product or its packaging signifies that this product must be disposed separately from ordinary household wastes at its end of life. Be aware that this is your responsibility to dispose of electronic equipment at recycling centers in order to conserve natural resources. Each country should have its collection centers for electrical and electronic equipment recycling. For information about your recycling drop off area, please contact your related electrical and electronic equipment waste management authority, your local city office, or your house hold waste disposal service.
Specifications
| Model No. | BOOUG9HB1Q | BO1BGY010C | BO1BGY043Q | B01 BGY6GPG |
| Power supply | 4 x 1.5 V | |||
| Dimensions | 9.8 x 13.8 x 9.8″ (250 x 350 x250 mm) | 7,1 x 16.9 x14.6″ (180 x 428 x370 mm) | 8.9 x 16.9 x 14.6″ (226 x 430 x370 mm) | 10.6 x 16.9 x 14.6″ (270 x 430 x370 mm) |
| Weight | 18.3 lbs (8.3 kg) | 19.8 lbs (9 kg) | 24lbs (10.9 kg) | 26.9 lbs (17.7 kg) |
| Capacity | 0.45 ft3 (14 L) | 0.7 ft3 (19.8 L) | 1 ft3 (28.3 L) | 1.2 ft’ (33.9 L) |
Feedback and Help
Love it? Hate it? Let us know with a customer review.
Amazon Basics is committed to delivering customer-driven products that live up to your high standards. We encourage you to write a review sharing your experiences with the product.
US: amazon.com/review/review-your-purchases#
UK: amazon.co.uk/review/review-your-purchases#
US: amazon.com/gp/help/customer/contact-us
UK: amazon.co.uk/gp/help/customer/contact-us

amazon.com/AmazonBasics
MADE IN CHINA
V09-11/22 ![]()






NOTICE | If the 




















