PDUMN15-NET Monitored Rack PDU
and Switched Rack PDU
Owner’s Manual![]()
Manufacture
Excellence
| PDUMN15/NET (120V 12A Model) Series Number: AG-0008 | PDUMNV20/NET (120V 16A Model) Series Number: AG-0009 | PDUMNV30/NET (120V 24A Model) Series Number: AG-0010 |
PROTECT YOUR INVESTMENT!
Register your product for quicker service and ultimate peace of mind.
You could also win an ISOBAR6ULTRA surge protector— a $100 value! 
1111 W. 35th Street, Chicago, IL 60609 USA • www.tripplite.com/support
Copyright © 2016 Tripp Lite. All rights reserved.
Important Safety Instructions
SAVE THESE INSTRUCTIONS
This manual contains instructions and warnings that should be followed during the installation, operation, and storage of this product. Failure to heed these instructions and warnings will void the product warranty.
CAUTION Only those who are properly trained or qualified to use this device should do so. Anyone who is not trained or qualified should not use this device unless it is under the supervision of someone who is properly trained or qualified to do so.
Children must be supervised to ensure that they do not use the device as a toy.
Never use the device if the cord and plug are damaged; if it is not working properly, or if it has been dropped or damaged, take it to an authorized service center for inspection and repair.
If the power cord is damaged, it must be replaced by the manufacturer, its authorized service agent, or by qualified personnel in order to avoid danger.
- The PDU provides the convenience of multiple outlets but DOES NOT provide surge or line noise protection for connected equipment.
- The PDU is designed for indoor use only, in a controlled environment, away from excess moisture, temperature extremes, conductive contaminants, dust, or direct sunlight.
- Keep the indoor ambient temperature between 32°F and 122°F (0°C and 50°C).
- The PDU must be installed by a qualified technician only.
- Do not attempt to mount the PDU to an insecure or unstable surface.
- Install in accordance with National Electrical Code standards. Be sure to use the proper overcurrent protection for the installation, in accordance with the plug/equipment rating.
- Connect the PDU to an outlet that is in accordance with your local building codes and that is adequately protected against excess currents, short circuits, and earth faults.
- The electrical outlets supplying power to the equipment should be installed near the equipment and easily accessible.
- Do not connect the PDU to an ungrounded outlet or to extension cords or adapters that eliminate the connection to the ground.
- Be sure to provide a local disconnect device on any models that are permanently installed without a plug that is easily accessible.
- Never attempt to install electrical equipment during a thunderstorm.
- Individual equipment connected to the PDU should not draw more current than the individual PDU’s outlet’s rating.
- The total load connected to the PDU must not exceed the maximum load rating for the PDU.
- Do not attempt to modify the PDU, input plugs, or power cables.
- Do not drill into or attempt to open any part of the PDU housing. There are no user-serviceable parts inside.
- Do not attempt to use the PDU if any part of it becomes damaged.
- Use of this equipment in life support applications where the failure of this equipment can reasonably be expected to cause the failure of the life support equipment or to significantly affect its safety or effectiveness is not recommended.
Monitored Rack PDU Features
- Network interface enables remote power monitoring and event notification.
- Digital amp meter for on-site load monitoring.
- Optional EnviroSense2 modules (E2MT, E2MTDO, E2MTDI, E2MTHDI) allow for a variety of environmental monitoring and control options.
- Toolless button-mount installation in Tripp Lite SmartRack® and many third-party enclosures.
Switched Rack PDU Features
- Network interface enables remote power monitoring and individual outlet control.
- Individually controllable outlets allow remote rebooting of locked-up network devices.
- Digital amp meter for on-site load monitoring.
- Optional EnviroSense2 modules (E2MT, E2MTDO, E2MTDI, E2MTHDI) allow for a variety of environmental monitoring and control options.
- Toolless button-mount installation in Tripp Lite SmartRack and many third-party enclosures.
Installation
Mounting the PDU
Note: The illustrations may differ somewhat from your PDU model. Regardless of configuration, the user must determine the fitness of hardware and procedures before mounting. The PDU and included hardware are designed for a common rack and rack enclosure types and may not be appropriate for all applications. Exact mounting configurations may vary. Screws for attaching the mounting brackets and cord retention shelf to the PDU are included. Use only the screws supplied by the manufacturer, or their exact equivalent (#6-32, ¼” flat head).
If installing the PDU in a rack that has button-mount slots, you only need to perform step 1-1.
If your rack enclosure does not have button-mount slots, proceed to the steps 1-2.
1-1 To install the PDU in a rack equipped with button-mount slots, insert the mounting buttons on the rear of the PDU into the button-mount slots on the rack and slide the PDU down until the mounting buttons engage the narrow section of the button-mount slots.
Note: To install the PDU with its outlets facing the rear of the rack, use the included PDUMVROTATEBRKT accessory. This V-shaped bracket provides a mounting button on one leg of the V and a button-mount slot on the other, effectively repositioning the mounting buttons. See Features section for image.
1-2 Attach the mounting brackets to the PDU.
1-3 (Optional) Attach the cord retention bracket(s) to the PDU.
1-4 Attach the PDU to a vertical rail in your rack or rack enclosure. Use the included mounting hardware to attach the mounting brackets to the rail.
Connecting the PDU
2-1 (Models with IEC power inlet or 3-pole IEC 309 plug only) Select models have a detachable power cord. Attach the included power cord to the PDU by inserting the IEC connector A of the power cord into the IEC power inlet B located near the end of the PDU. Use the included bracket C to secure the power cord connection.
Note: Optionally, a user-supplied power cord can be attached to the PDU by connecting it to the IEC inlet. Do not attempt to attach a user-supplied power cord unless it is certified to be compatible with the input power source that will be used by the PDU.
2-2 (Optional – models with input plug adapter only) Select models to include an input plug adapter that converts the twist-lock input plug to a straight-blade input plug. Attach the input plug adapter A to the input plug B if you wish to plug the PDU into a compatible straight-blade outlet.
2-3 Connect the input plug to a compatible AC power outlet. If the PDU does not have a circuit breaker, it should be provided with a branch-rated overcurrent protection device that matches the rated amperage of the PDU.
Note: The AC power source should not share a circuit with a heavy electrical load.
2-4 (Optional) If you attached the cord retention bracket(s), tie each equipment power cord to the retention bracket. Attach each cord to the retention shelf by looping the cord and securing it with one of the included cable ties A. Make sure each cord can be unplugged from the PDU without removing the cable tie.
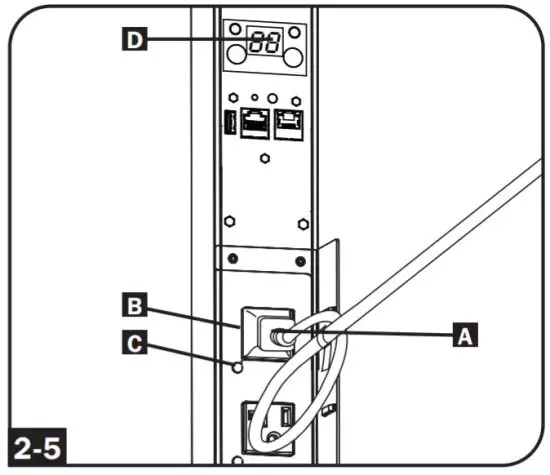
2-5 Connect your equipment’s input plugs A to outlets B of the PDU. The LED C near each outlet (Switched Models Only) illuminates when the outlet is ready to distribute live AC power. The digital load meter D displays the total connected equipment load in amps. Select models provide additional load data. See the Features section for more information.
Note: In order to minimize interference among connected devices, connect each device to the nearest PDU outlet and coil excess power cord length.
Networking the PDU
Note: The MAC address of the PDU (a 12-digit string in this format: 00 06 67 XX XX XX) is printed on a label attached to the PDU enclosure.
If your network’s DHCP server will assign a dynamic IP address to the PDU automatically, go to Step 3-1. If you will assign a static IP address to the PDU manually, go to Step 4-1. If you are uncertain which method to use, contact your network administrator for assistance before continuing the installation process.
Dynamic IP Address Assignment
3-1 Connect Network Interface to Network: Connect a standard Ethernet patch cable to your network using the RJ45 Ethernet port on the PDU’s Network Interface.
Note: This port does not support PoE (Power over Ethernet) applications. 
The interface will attempt to obtain an IP address via DHCP. This may take as long as several minutes, depending on your network environment.
3-2 Determine IP Address: To identify the IP address assigned to the Network Interface, contact your network administrator and provide the MAC address of the Network Interface. You can also determine the IP address locally on the card.
Start a terminal emulation program, such as Tera Term Pro. Configure the COM port intended for use by following these settings: 115.2 Kbps, 8, NONE, 1. Using the included RJ45 to DB9 cable (part number 73-1243), connect your PC to the PDU’s CONFIG port. When the login prompt appears, login as local admin/local admin. When the Menu appears, navigate to “3- Network Configuration”, then to “1- IP Configuration”. The assigned IP address will be displayed. After you have determined the IP address, proceed to the Test Network Connection section.
Note: You may wish to request a long-term lease period for the IP address, depending on your application.
Note: PowerAlert Device Manager and the PDU’s Network Interface support both IPv4 and IPv6. The card is set up by default to receive a DHCP address for IPv4, IPv6, or both. Receiving both addresses allows connection to the card via either the IPv4 or IPv6 address.
Static IP Address Assignment/Terminal Menu Configuration Settings
4-1 Determine IP Information: The Network Interface can support a single static IPv4 address (requires setting the IP address, subnet mask, and gateway) and/or a single static IPv6 address. In addition, the Network Interface can support a single static IPv4 or an IPv6 DNS address that is required to be entered.
4-2 Configure Terminal Emulation Program: Set your terminal emulation program to use the COM port with its corresponding USB port.
4-3 Select Option 3: IPv4 setting, or Option 4: IPv6 settings. Select Option 1: Method. Select Option 2: Static.
Assign the address, subnet mask, gateway, etc. Save your settings by selecting “A” (apply).
Choose “y” to restart PowerAlert now. Close your terminal session.
4-4 Remove Cable: Remove the cable and proceed to the Test Network Connection section.
Test Network Connection
After an IP address has been assigned to the card, try to access it with a Web browser. Open Firefox or Chrome on a computer connected to the network and enter http:// or https:// followed by the IP address. The login screen for PowerAlert Device Manager will display. The default user name is a local admin and the password is a local admin. After you enter the user name and password, the PowerAlert Device Manager Overview page will appear in the browser window. For more information about the configuration and operation of the managed device, refer to the LX Platform User’s Guide located in the support section of the product web page. 
Features
Input Plug Adapter (Select Models): Converts the PDU’s twist-lock input plug to a straight-blade input plug.
Power Inlet (Select Models): The IEC power inlet connects to the included power cord or a compatible user-supplied power cord. The inlet includes a bracket to secure the cord connection.
IEC 309 3-Pole Input Plug: Available on select models.
Outlets (Vary by Model): During normal operation, the outlets distribute AC power to connected equipment. Select models feature an LED that indicates outlet status.
Outlet LEDs: On switched models, each outlet LED illuminates when the associated outlet is ready to distribute live AC power.
Digital Load Meter (Ammeter): The total connected equipment load in amperes is displayed by the digital meter A . 20-amp models feature a Scroll IP/Rotate Switch B. Press this switch for one second to display the PDU’s IP address (two characters at a time). Press for two seconds to rotate the LED display for ease of reading in vertical installations with the input cord at the top or bottom of the PDU. 30-amp models feature a Select/Rotate Switch C and a dedicated Scroll IP Switch D. Press the Select/Rotate Switch once to display the total load (in amps) on the PDU. Press again to display the load on Bank 1 of the PDU and again to display the load on Bank 2. The Load Bank LEDs E will indicate display status as follows. Both outlet bank LEDs illuminated: total PDU load displayed. Bank 1 or Bank 2 LED illuminated: load on corresponding load bank displayed. Press the Select/Rotate Switch for two seconds to rotate the LED display for ease of reading in vertical installations with the input cord at the top or bottom of the PDU.
Circuit Breakers (Select Models): If the connected equipment load on a load bank exceeds the Maximum Load Rating of the load bank, the circuit breaker will trip. Disconnect excess equipment and switch the breaker to the on position to reset the breaker. Models with multiple outlet banks have a circuit breaker for each bank. Circuit breakers are only used to protect output load banks.
Cord Retention Bracket: Provides secure attachment points for connected equipment cords.
Mounting Brackets: Use these brackets to mount the PDU.
PDUMVROTATEBRKT Mounting Accessory: Use these V-shaped brackets to mount the PDU with its outlets facing the rear of the rack.
Network Interface
A Ethernet Port: RJ45 jack connects the PDU’s Network Interface to the network using a standard Ethernet patch cable. LEDs A1 and A2 indicate the operating conditions (shown in the table below).B RJ45 Configuration Port: Use this port to provide a direct terminal connection to a computer with a terminal emulation program. An RJ45 to DB9 cable (part number 73-1243) is included with the PDU. To request a replacement cable, visit www.tripplite.com for ordering information.C USB Type-A Port: Use this port to connect a Tripp Lite EnviroSense2 module (E2MT, E2MTDO, E2MTDI, E2MTHDI) for a variety of environmental monitoring and control options. See www.tripplite.com for more information about these modules.
Note: Do not connect a keyboard or mouse to this port.D Reset Button: Accessible through a small hole on the faceplate above the RJ45 Configuration Port. Press once to reset the Network Interface. Press and hold for 15 seconds to reset the Network Interface to factory default settings.
Note: PDU loads will not be affected.
E Status LED: Shows the Network Interface status (shown in the table below).
Identifier | LED Function | LED Color | Status | Description |
Al | Ethernet Link/ Activity Indicator | Green | Flashing | There is a network activity on the port |
| Off | There is no network activity on the port | |||
A2 | Ethernet Network Speed Indicator | Yellow | On steady | 100 Mbps network speed |
| Off | ||||
| 10 Mbps speed if Al is flashing | ||||
| Off | ||||
| No network activity if Al is also off | ||||
E | Network Interface Status | Green | On steady | Normal operation |
| Green | Single flash | Power up indicator | ||
| Green/ Orange | Off | No power or card is initializing | ||
| Green/ Orange | Alternating (-1/sec.) | A software update in progress | ||
| Green/ Orange | Alternating (-2/sec.) | Restoring factory default configuration |
Configuration and Operation
Remote Monitoring and Control
The PDU provides remote monitoring, outlet control, and more via Web browser, telnet, and SNMP-based Network Management Systems. For more information about the configuration and operation of the PDU via the PowerAlert Device Manager, refer to the LX Platform User’s Guide, which can be found by going to www.tripplite.com/support and typing LX Platform in the search field.
Service
Your Tripp Lite product is covered by the warranty described in this manual. A variety of Extended Warranty and On-Site Service Programs are also available from Tripp Lite. For more information on the service, visit www.tripplite.com/support. Before returning your product for service, follow these steps:
- Review the installation and operation procedures in this manual to ensure that the service problem does not originate from a misreading of the instructions.
- If the problem continues, do not contact or return the product to the dealer. Instead, visit www.tripplite.com/support.
- If the problem requires service, visit www.tripplite.com/support and click the Product Returns link. From here you can request a Returned Material Authorization (RMA) number, which is required for service. This simple online form will ask for your unit’s model and serial numbers, along with other general purchaser information. The RMA number, along with shipping instructions will be emailed to you. Any damages (direct, indirect, special, or consequential) to the product incurred during shipment to Tripp Lite or an authorized Tripp Lite service center is not covered under warranty. Products shipped to Tripp Lite or an authorized Tripp Lite service center must have transportation charges prepaid. Mark the RMA number on the outside of the package. If the product is within its warranty period, enclose a copy of your sales receipt. Return the product for service using an insured carrier to the address given to you when you request the RMA.
Warranty and Product Registration
LIMITED WARRANTY
Seller warrants this product, if used in accordance with all applicable instructions, to be free from original defects in material and workmanship for a period of 2 years (except internal UPS system batteries outside USA and Canada, 1 year) from the date of initial purchase. If the product should prove defective in material or workmanship within that period, Seller will repair or replace the product, at its sole discretion. Service under this Warranty can only be obtained by your delivering or shipping the product (with all shipping or delivery charges prepaid) to Tripp Lite, 1111 W. 35th Street, Chicago, IL 60609 USA. Seller will pay return shipping charges. Visit www.tripplite.com/support before sending any equipment back for repair.
THIS WARRANTY DOES NOT APPLY TO NORMAL WEAR OR TO DAMAGE RESULTING FROM ACCIDENT, MISUSE, ABUSE, OR NEGLECT. SELLER MAKES NO EXPRESS WARRANTIES OTHER THAN THE WARRANTY EXPRESSLY SET FORTH HEREIN. EXCEPT TO THE EXTENT PROHIBITED BY APPLICABLE LAW, ALL IMPLIED WARRANTIES, INCLUDING ALL WARRANTIES OF MERCHANTABILITY OR FITNESS, ARE LIMITED IN DURATION TO THE WARRANTY PERIOD SET FORTH ABOVE; AND THIS WARRANTY EXPRESSLY EXCLUDES ALL INCIDENTAL AND CONSEQUENTIAL DAMAGES. (Some states do not allow limitations on how long an implied warranty lasts, and some states do not allow the exclusion or limitation of incidental or consequential damages, so the above limitations or exclusions may not apply to you. This Warranty gives you specific legal rights, and you may have other rights which vary from jurisdiction to jurisdiction).
WARNING: The individual user should take care to determine prior to use whether this device is suitable, adequate or safe for the use intended. Since individual applications are subject to great variation, the manufacturer makes no representation or warranty as to the suitability or fitness of these devices for any specific application.
PRODUCT REGISTRATION
Visit www.tripplite.com/warranty today to register your new Tripp Lite product. You’ll be automatically entered into a drawing for a chance to win a FREE Tripp Lite product!*
* No purchase necessary. Void where prohibited. Some restrictions apply. See website for details.
FCC Notice, Class A
This device complies with part 15 of the FCC Rules. Operation is subject to the following two conditions: (1) This device may not cause harmful interference, and (2) this device must accept any interference received, including interference that may cause undesired operation.
Note: This equipment has been tested and found to comply with the limits for a Class A digital device, pursuant to part 15 of the FCC Rules. These limits are designed to provide reasonable protection against harmful interference when the equipment is operated in a commercial environment. This equipment generates, uses, and can radiate radio frequency energy and, if not installed and used in accordance with the instruction manual, may cause harmful interference to radio communications. Operation of this equipment in a residential area is likely to cause harmful interference in which case the user will be required to correct the interference at his own expense. The user must use shielded cables and connectors with this equipment. Any changes or modifications to this equipment not expressly approved by Tripp Lite could void the user’s authority to operate this equipment.
Regulatory Compliance Identification Numbers
For the purpose of regulatory compliance certifications and identification, your Tripp Lite product has been assigned a unique serial number. The serial number can be found on the product nameplate label, along with all required approval markings and information. When requesting compliance information for this product, always refer to the series number. The series number should not be confused with the marketing name or model number of the product.
Tripp Lite has a policy of continuous improvement. Specifications are subject to change without notice.

Manufacture
Excellence



















