Galanz RED330JKH-PAHH0A 1.2Cu.Ft. Oven-the-Range Microwave
IMPORTANT SAFETY INSTRUCTIONS
When using electrical appliances, basic safety precautions should be followed, including the following:
WARNING – To reduce the risk of burns, electric shock, fire, and injury to persons or exposure to excessive microwave energy:
- Read all instructions before using the appliance.
- Read and follow the specific “PRECAUTIONS TO AVOID POSSIBLE EXPOSURE TO EXCESSIVE MICROWAVE ENERGY” on page 4.
- This appliance must be grounded. Connect only to properly grounded outlet. See “GROUNDING INSTRUCTIONS” on page 5.
- Install or locate this appliance only in accordance with the provided installation instructions.
- Some products such as whole eggs and sealed containers -for example, closed glass jars- are able to explode and should not be heated in this oven.
- Use this appliance only for its intended use as described in this manual. Do not use corrosive chemicals or vapors in this appliance. This type of oven is specifically designed to heat, cook, or dry food. It is not designed for industrial or laboratory use.
- As with any appliance, close supervision is necessary when used by children.
- To reduce the risk of fire in the oven cavity:
- Do not overcook food. Carefully attend appliance when paper, plastic, or other combustible materials are placed inside the oven to facilitate cooking.
- Remove wire twist-ties from paper or plastic bags before placing bag in oven.
- If materials inside the oven should ignite, keep oven door closed, turn oven off, and disconnect the power cord or shut off power at the fuse or circuit breaker panel.
- Do not use the cavity for storage purposes. Do not leave paper products, cooking utensils or food in the cavity when not in use.
- Liquids, such as water, coffee, or tea can be overheated beyond the boiling point without appearing to be boiling due to surface tension of the liquid. Visible bubbling or boiling when the container is removed from the microwave oven is not always present. THEIS COULD RESULT IN VERY HOT LIQUIDS SUDDENLY BOILING OVER WHEN A SPOON OR OTHER UTENSIL IS INSERTED INTO THE LIQUID. To reduce the risk of injury to person:
- Do not overheat the liquid.
- Stir the liquid both before and halfway through heating it.
- Do not use straight-sided containers with narrow necks.
- After heating, allow the container to stand in the microwave oven for a short time before removing the container.
- Use extreme care when inserting a spoon or other utensil into the container.
- Do not heat oil or fat for deep-frying. It is difficult to control the temperature of oil in microwave oven.
- Pierce foods with heavy skins such as potatoes, whole squash, apples and chestnuts before cooking.
- The contents of feeding bottles and baby jars should be stirred or shaken and the temperature should be checked before serving in order to avoid burns.
- Cooking utensils may become hot because of heat transferred from the heated food. Potholders may be needed to handle the utensil.
- Do not cover or block any openings on the appliance.
- Do not store or use this appliance outdoors. Do not use this product near water, for example, near a kitchen sink, in a wet basement, near a swimming pool, or similar locations.
- Do not operate this appliance if it has a damaged cord or a plug, if it is not working properly or if it has been damaged or dropped.
- Do not immerse cord or plug in water. Keep cord away from heated surface. Do not let cord hang over edge of table or counter.
- Use only thermometers, which are specifically designed for use in microwave ovens.
- Do not operate any heating or cooking appliance beneath this appliance.
- Be certain the glass tray and roller rings are in place when you operate the oven
- This appliance should be serviced only by qualified service personnel, contact nearest authorized service facility for examination, repair, or adjustment.
- When cleaning surfaces of door and oven that comes together on closing the door, use only mild, nonabrasive soaps, or detergents applied with a sponge or soft cloth.
- VENTILATING HOODS
- Clean Ventilating Hoods Frequently-Grease should not be allowed to accumulate on hood or filter.
- When flaming foods under the hood, turn the fan on.
- Use care when cleaning the vent-hood filter. Corrosive cleaning agents, such as lye-based oven cleaners, may damage the filter.
- Suitable for use above both gas and electric cooking equipment.
- This equipment generates, uses and can radiate radio frequency energy and, if not installed and used in accordance with the instructions, may cause harmful interference to radio communications. However, there is no guarantee that interference will not occur in a particular installation. If this equipment does cause harmful interference to radio or television reception, which can be determined by turning the equipment off and on, the user is encouraged to try to correct the interference by one or more of the following measures:
- Reorient or relocate the receiving antenna.
- Increase the separation between the equipment and receiver.
- Connect the equipment into an outlet on a circuit different from that to which the receiver is connected.
- Consult the dealer or an experienced radio/TV technician for help.
PRECAUTIONS
TO AVOID POSSIBLE EXPOSURE TO EXCESSIVE MICROWAVE ENERGY
- (a) Do not attempt to operate this oven with the door open since open-door operation can result in harmful exposure to microwave energy. It is important not to defeat or tamper with the safety interlocks.
- (b) Do not place any object between the oven front face and the door or allow soil or cleaner residue to accumulate on sealing surfaces.
- (c) Do not operate the oven if it is damaged. It is particularly important that the oven door close properly and that there is no damage to the:
- Door (bent),
- Hinges and latches (broken or loosened),
- Door seals and sealing surfaces.
- (d) The oven should not be adjusted or repaired by anyone except properly qualified service personnel.
UNPACKING INSTRUCTIONS
Unpacking and Examining Your Oven Carefully remove oven from carton. SAVE THE CARTON AS IT MAY MAKE INSTALLATION EASIER. Remove:
- All packing materials from inside the oven cavity; however, DO NOT REMOVE THE WAVEGUIDE COVER, which is located on the right side in the oven cavity. Check to see that there are Installation Instructions, Wall Template, Top Cabinet Template, bag of Installation Hardware, Charcoal Filter and Exhaust Damper Assembly. Read enclosures and SAVE the Owner’s Instructions.
- The feature sticker from the outside of the door, if there is one. Check the oven for any damage, such as misaligned or bent door, damaged door seals and sealing surfaces, broken or loose door hinges and latches and dents inside the cavity or on the door. If there is any damage, do not operate the oven and contact your dealer. See Installation Instruction for more details.
GROUNDING INSTRUCTIONS
This appliance must be grounded. In the event of an electrical short circuit, grounding reduces the risk of electric shock by providing an escape wire for the electric current. This appliance is equipped with a cord having a grounding wire with a grounding plug. The plug must be plugged into an outlet that is properly installed and grounded.
WARNING- Improper use of the grounding plug can result in a risk of electric shock. Consult a qualified electrician or serviceman if the grounding instructions are not completely understood or if doubt exists as to whether the appliance is properly grounded. If it is necessary to use an extension cord, use only a 3-wire extension cord that has a 3-blade grounding plug, and a 3-slot receptacle that will accept the plug on the appliance. The marked rating of the extension cord shall be equal to or greater than the electrical rating of the appliance.
Electrical Requirements
The electrical requirements are a 120 volt 60 Hz, AC only, 20 amp. It is recommended that a separate circuit serving only the oven be provided. The oven is equipped with a 3-prong grounding plug. It must be plugged into a wall receptacle that is properly installed and grounded. Power Supply Cord
- A short power supply cord is provided to reduce the risks resulting from becoming entangled in or tripping over a longer cord.
- Longer cord sets or extension cords are available and may be used if care is exercised in their use.
- If long cord or extension cord is used:
- a) The marked electrical rating of the cord set or extension cord should be at least as great as the electrical rating of the appliance.
- b) The extension cord must be a grounding-type 3-wire cord, and The longer cord should be arranged so that it will not drape over the counter top or table top where it can be pulled on by children or tripped over unintentionally.
NOTES:
- If you have any questions about the grounding or electrical instructions, consult a qualified electrician or service person.
- Neither Galanz nor the dealer can accept any liability for damage to the oven or personal injury resulting from failure to observe the electrical connection procedures.
Radio or TV Interference
Should there be any interference caused by the microwave oven to your radio or TV, check that the microwave oven is on a different circuit, relocate the radio or TV as far away from the oven as feasible or check position and signal of receiving antenna.
INFORMATION YOU NEED TO KNOW
ABOUT YOUR OVEN
NEVER use the oven without the turntable and support nor turn the turntable over so that a large dish could be placed in the oven. The turntable will turn both clockwise and anticlockwise. ALWAYS have food in the oven when it is on to absorb the microwave energy. When using the oven at power levels below 100%, you may hear the magnetron cycling on and off. Condensation is a normal part of microwave cooking. Room humidity and the moisture in food will influence the amount of moisture that condenses in the oven. Generally, covered foods will not cause as much condensation as uncovered ones. Ventilation openings must not be blocked. In using recipes or package directions, check food a minute or two before the minimum time and add time accordingly.
ABOUT MICROWAVE COOKING
Arrange food carefully. Place thickest areas towards outside of dish.
- Watch cooking time. Cook for the shortest amount of time indicated and add more as needed. Food severely overcooked can smoke or ignite.
- Cover foods while cooking. Check recipe or cookbook for suggestions: paper towels, wax paper, microwave plastic wrap or a lid. Covers prevent spattering and help foods to cook evenly.
- Shield with small flat pieces of aluminum foil any thin areas of meat or poultry to prevent overcooking before dense, thick areas are cooked thoroughly.
- Stir foods from outside to center of dish once or twice during cooking, if possible.
- Turn foods over once during microwaving to speed cooking of such foods as chicken and hamburgers. Large items like roasts must be turned over at least once.
- Rearrange foods such as meatballs halfway through cooking both from top to bottom and from the center of the dish to the outside.
- Add standing time. Remove food from oven and stir, if possible. Cover for standing time that allows the food to finish cooking without overcooking.
- Check for doneness. Look for signs indicating that cooking temperatures have been reached.
- Doneness signs include:
- Food steams throughout, not just at edge.
- Center bottom of dish is very hot to the touch.
- Poultry thigh joins move easily.
- Meat and poultry show no pinkness.
- Fish is opaque and flakes easily with a fork.
ABOUT FOOD
| FOOD | DO | DON’T |
| Eggs, sausages, fruits & vegetable | Puncture egg yolks before cooking to prevent “explosion”. Pierce skins of potatoes, apples, squash, hot dogs and sausages so that steam escapes. | Cook egg in shells. Reheat whole eggs. |
|
Popcorn | Use specially bagged popcorn for the microwave oven. Listen while popping corn for the popping to slow to 1 or 2 seconds or use special Popcorn pad. | Pop popcorn in regular brown bags or glass bowls. Exceed maximum time on popcorn package. |
|
Baby food | Transfer baby food to small dish and heat carefully, stirring often. Check temperature before serving. Put nipples on bottles after heating and shake thoroughly. “Wrist” test before feeding. | Heat disposable bottles. Heat bottles with nipples on. Heat baby food in original jars. |
|
General | Cut baked goods with filling after heating to release steam and avoid burns Stir liquids briskly before and after heating to avoid “eruption”. Use deep bowl, when cooking liquids or cereals, to prevent boilovers. | Heat or cook in closed glass jars or airtight containers. Can in the microwave as harmful bacteria may not be destroyed. Deep fat fry. Dry wood, gourds, herbs or wet papers. |
ABOUT SAFETY
Check foods to see that they are cooked to the following recommended temperatures.
| TEMP | FOOD |
| 160℉ | …for fresh pork, ground meat, boneless white poultry, fish, seafood, egg dishes and frozen prepared food. |
| 165℉ | …for leftover, ready-to-reheat refrigerated, and deli and carry-out “fresh” food. |
| 170℉ | …white meat of poultry. |
| 180℉ | …dark meat of poultry. |
- To test for doneness, insert a meat thermometer in a thick or dense area away from fat of bone. NEVER leave the thermometer in the food during cooking, unless it is approved for microwave oven use.
- ALWAYS use potholders to prevent burns when handling utensils that are in contact with hot food. Enough heat from the food can transfer through utensils to cause skin burns.
- Avoid steam burns by directing steam away from the face and hands. Slowly lift the farthest edge of a dish’s covering and carefully open popcorn and oven cooking bags away from the face.
- Stay near the oven while it’s in use and check cooking progress frequently so that there is no chance of overcooking food.
- NEVER use the cavity for storing cookbooks or other items.
- Select, store and handle food carefully to preserve its high quality and minimize the spread of food borne bacteria.
- Keep waveguide cover clean. Food residue can cause arcing and/or fires.
- Use care when removing items from the oven so that utensil, your clothes or accessories do not touch the safety door latches.
ABOUT UTENSILS AND COVERINGS
It is not necessary to buy all new cookware. Many pieces already in your kitchen can be used successfully in your new microwave oven. Make sure the utensil does not touch the interior walls during cooking. Use these utensils for safe microwave cooking and reheating
- glass ceramic
- heat-resistant glass
- microwave-safe plastics
- paper plates
- microwave-safe pottery, stoneware and porcelain
- browning dish These items can be used for short time reheating of foods that have little fat or sugar in them:
- wood, straw, wicker
DO NOT USE
- metal pans and bake ware
- dishes with metallic trim
- non-heat-resistant glass
- non-microwave-safe plastic
- recycled paper bags
- food storage bags
- metal twist-ties Should you wish to check if a dish is safe for microwaving, place the empty dish in the oven and microwave on HIGH for 30 seconds. A dish which becomes very hot should not be used. The following coverings are ideal:
- Paper towels are good for covering foods for reheating and absorbing fat while cooking bacon.
- Wax paper can be used for cooking and reheating.
- Plastic wrap that is specially marked for microwave use can be used for cooking and reheating. DO NOT allow plastic wrap to touch food. Vent so steam can escape.
- Lids that are microwave-safe are a good choice because heat is kept near the food to hasten cooking.
- Oven cooking bags are good for large meats or foods that need tenderizing. DO NOT use metal twist ties. Remember to slit bag so steam can escape.
How to use aluminum foil in your microwave oven:
- Small flat pieces of aluminum foil placed smoothly on the food can be used to shield areas that are either defrosting or cooking too quickly.
- Foil should not come closer than one inch to any surface of the oven.
ACCESSORIES There are many microwave accessories available for purchase. Evaluate carefully before you purchase so that they meet your needs. A microwave-safe thermometer will assist you in determining correct doneness and assure you that foods have been cooked to safe temperatures. Galanz is not responsible for any damage to the oven when accessories are used
ABOUT CHILDREN AND THE MICROWAVE
- Children below the age of 7 should use the microwave oven with a supervising person very near to them. Between the ages of 7 and 12, the supervising person should be in the same room.
- The children must be able to reach the oven comfortably; if not, he/she should stand on a sturdy stool.
- At no time should anyone be allowed to lean or swing on the oven door.
- Children should be taught all safety precautions; use potholders, remove coverings carefully and pay special attention to packages that crisp food because they may be extra hot.
- Don’t assume that because a child has mastered one cooking skill he/she can cook everything.
- Children need to learn that the microwave oven is not a toy.
SPECIFICATIONS
| Power Supply | 120V 20AC 60Hz Single phase | |
| Microwave | Power Consumption | 1500W |
| Output Power | 1000W | |
| Frequency | 2450MHz | |
| Outside Dimensions | 10 7/8”(H) ×29 7/8 ”(W) ×18 13/16”(D) | |
| Cavity Dimensions | 7 3/16”(H)× 18 3/4”(W) ×14 3/4”(D) | |
| Oven Capacity | 1.2Cu.Ft. | |
| Cooking Uniformity | Turntable | |
| Weight | Approx. (net) 59.7lb | |
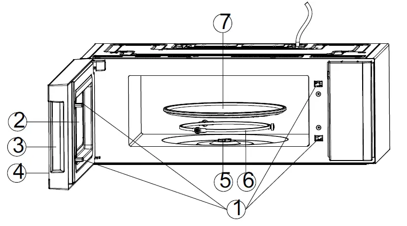
PARTS FEATURES DIAGRAM

- Door Safety Lock System
- Oven Window
- Door Handle
- Control Panel
- Shaft
- Roller Ring
- Glass Tray
CONTROL PANEL FEATURES
Your microwave oven control panel lets you select the desires cooking function quickly and easily. All you have to do is touch the necessary Command pad. The following is a list of all the Command and Number pads located on the control panel. For more information on these features, see the operation section.

- Display. Cooking time, power, indicators and clock time are displayed.
- Sensor Cook. Use to cook sensor cook menus.
- Sensor Reheat. Use to cook sensor reheat menus.
- Defrost/Time/Weight. Touch to set defrost programs.
- Micro. Touch to set microwave cooking program.
- Vent 4 Speed. Touch this pad to change vent speed.
- Timer. Touch the pad to set timer function.
- Popcorn. Touch the pad to cook popcorn.
- Potato. Touch the pad to cook potato.
- Soften Melt. Touch this pad to soften and melt food.
- Power Level. Touch to set microwave cooking power level.
- Light Hi/Lo/Off. Touch this pad to adjust the light on or turn off the light.
- Clock. Touch this pad to set clock time.
- Number. Touch number pads to enter cooking time, power level or food weight.
- Lock Turntable/Off. Touch this pad to turn on or off the oven turntable and set child lock.
- Stop/Cancel. Touch this pad once to temporarily stop cooking, or twice to cancel cooking altogether.
- + 30 Sec. Touch to add cooking time.
- Start. Touch to start the oven; It is also used to start the oven quickly at full power.
BASIC CONTROLS
Learn about your microwave oven.
CAUTION
- To avoid risk of personal injury or property damage, do not operation the microwave oven empty.
- To avoid risk of personal injury or property damage, do not use stoneware, aluminum foil, metal utensils, or mental trimmed utensils in the microwave oven.
Function description:
- When the oven first plugged in, the display is on for 2 seconds, and then the display shows “AM12:00”.
- When cooking setting is interrupted for 1 minute, a beep will sound and the system will back to the standby mode automatically.
- During cooking, if touch Stop/Cancel pad once or open the door, the program will be paused, close the door, then touch Start pad to resume. But if touch Stop/Cancel pad once at pausing state, the system will return to standby mode.
- After cooking end, “END” will display and the system will sound beeps to remind user every 1 minute, after 3 minutes, the system stops to sound the warning tone. After user touch Stop/Cancel pad or open the door, the system returns to standby mode.
- In the process of operation, touch a valid pad, the buzzer rings once, but if touch a invalid pad, the buzzer rings twice. In the non cooking state, short press the “Lock/Turntable Off” pad once, and there will be no prompt sound.
Setting the Clock
This is a 12- or 24- hour clock. You can choose it by touching Clock pad. Example 1: Suppose you want to set the 12- hour clock to 5:00 pm.
- In standby mode, touch Clock pad once.
- Touch number pads 5, 0, 0, the display will show “5:00”.
- Touch Start to confirm. The display shows “SELECT 1-AM 2-PM”.
- Press number pad “2” once. The display shows “PM 5:00”.
Example 1: Suppose you want to set the 24- hour clock to 5:00 pm.- In standby mode, touch Clock pad twice.
- Touch number pads 5, 0, 0, the display will show “5:00”.
- Touch Start pad to confirm
NOTE:
- “:0” will display and two beeps will sound to remind user to resume load the time, if you enter time is beyond the scope of clock when you set the clock.
- During cooking or pausing state, you can check the current clock time by pressing Clock pad.
Setting Microwave cooking program
For microwave cooking, cooking power and time should be set. The longest cooking time you can set is 99 minutes and 99 seconds. Touch Power Level pad once and then touch number pads to choose cooking power level.
| Use number pad choose cooking power level | |||
| Touch Number pad | Power level (Display) | Touch Number pad | Power level (Display) |
| 1,0 | 100% (PL100) | 4 | 40% (PL40) |
| 9 | 90% (PL90) | 3 | 30% (PL30) |
| 8 | 80% (PL80) | 2 | 20% (PL20) |
| 7 | 70% (PL70) | 1 | 10% (PL10) |
| 6 | 60% (PL60) | 0 | 0% (PL00) |
| 5 | 50% (PL50) | ||
For example, suppose you want to cook at 80% power level for 10 minutes.
- In standby mode, touch Micro pad once.
- Use the number pads to enter cooking time.
- Touch Power Level pad once, and then use the number pad “8” to select 80% power level.
- Touch Start pad to confirm.
NOTE: During cooking, you can touch Power level pad to check the power level, and you can adjust the power level by touching number pads when the display shows the power level.
Multi stage cooking
For best results, some recipes call for different cook power during different stages of a cook cycle. You can program your oven to switch from one power to other for up to 2 stages. For example, suppose you want to set the following cooking program.
Microwave cooking
- In standby mode, input the first microwave cooking program. Do not touch Start pad
- Touch Micro pad once,
- Input the second microwave cooking program.
- Touch Start pad to start.
NOTE: Express cooking, sensor menus, auto cook menus, time defrost and weight defrost cannot set in multi stage cooking program. Only microwave cooking can be set in multi stage cooking.
Light Control
This feature is designed for the convenience of doing things outside the oven. To adjust the light, touch Light Hi/Lo/Off pad:
| Touch Light Hi/Lo/Off pad. | Working Mode |
| Touch Light Hi/Lo/Off pad once when the oven lamp is off. | HIGH |
| Touch Light Hi/Lo/Off pad once when the oven lamp is in “HIGH” gear. | LOW |
| Touch Light Hi/Lo/Off pad once when the oven lamp is in “LOW” gear. | OFF |
Vent Fan Control
Your oven can be used as a range hood. When it is turned on, the fan motor starts filtering out smoke, odors, and grease generated from cooking. In standby mode, the vent fan is manual control, continuous touch Vent 4 Speed can choose three cycle gears:
| Touch Vent 4 Speed pad | Working Mode |
| Touch Vent 4 Speed pad once when the exhaust fan is off. | BOOST |
| Touch Vent 4 Speed pad once when the exhaust fan is in “BOOST” gear. | HIGH |
| Touch Vent 4 Speed pad once when the exhaust fan is in “HIGH” gear. | MEDIUM |
| Touch Vent 4 Speed pad once when the exhaust fan is in “MEDIUM” gear. | LOW |
| Touch Vent 4 Speed pad once when the exhaust fan is in “LOW” gear. | OFF |
NOTE:
- If the microwave is started by manually switching the “BOOST” gear, first 15 minutes, the exhaust fan will run in “BOOST” gear (“BOOST”, “HIGH”, “MEDIUM”, “LOW” or “OFF” gear can be switched), after 15 minutes, it will run in “HIGH” gear (“HIGH”, “MEDIUM”, “LOW” or “OFF” gear can be switched) until the end of cooking.
- After cooking start, when a certain temperature is reached if the exhaust fan is not turned on, the exhaust fan will automatically turn on the “HIGH” gear (“BOOST” or “HIGH” gear can be switched), but the exhaust motor cannot be turned off manually. When the temperature drops to a certain value, the exhaust fan will automatically turn off.
- Manually turn on the exhaust fan, and it is necessary to manually turn off the exhaust fan.
SPECIAL FEATURES
NOTE: For sensor menus (sensor cook menus, sensor reheat menus and potato):
- When the system senses the steam generated by the food, the display will display “:” (cooking time remaining).
- In order to ensure the induction effect, after starting, the oven should blow for 45 seconds before cooking. (except beverage).
- After cooking for a period of time, the system will detect whether there is error, if there is error, for example, the sensor short circuit or open circuit, the system will stop automatically with the display showing “E-1”, beeps sound every 2 seconds until press Stop/Cancel pad.
- If there is no error, the system will judge corresponding cooking time based on the steam generated by the food, after cooking for a period of time, the countdown will display on the screen.
- During sensor cooking, if press Stop/Cancel pad once or open the door, the cooking program will end automatically and the system will return to standby mode.
- During the longest sensor time, if the oven cannot test the cooking time according to the steam which produced by food in the oven, the cooking program will end automatically.
Sensor cook
For the following food, it is not necessary to program the cooking power and time. It is sufficient to indicate the type of food that you wish to cook.
- In standby mode, touch Sensor Cook pad once.
- Use number pad (1 – 6) to choose food type.
- Touch Start pad to start cooking.
Sensor cook menus:
| Press number | Food type | Weight/Serving |
| 1 | FRESH VEGETABLE | 8 oz ~ 20 oz |
| 2 | FROZEN VEGETABLE | 8 oz ~ 20 oz |
| 3 | OATMEAL | 1 ~ 3 |
| 4 | FISH | 8 oz ~ 20 oz |
| 5 | CORN ON THE COB | 1 ~ 4 root |
| 6 | RICE | 8 oz ~ 20 oz |
Sensor reheat
For the following food, it is not necessary to program the cooking power and time. It is sufficient to indicate the type of food that you wish to cook.
- In standby mode, touch Sensor Reheat pad once.
- Use number pad (1 – 9) to choose food type. (If touch number “1” to choose “BEVERAGE”, then you need to touch number pad 1-3 to choose servings.).
- Touch Start pad to start cooking.
Sensor reheat menus:
| Press number | Food type | Weight/Serving |
| 1 | BEVERAGE | 1 cup |
| 2 cups | ||
| 3 cups | ||
| 2 | FROZEN ENTREE | 8 oz ~ 24 oz |
| 3 | PIZZA | 1 ~3 slice (6 oz/slice) |
| 4 | DINNER PLATE | 8 oz ~ 24 oz |
| 5 | SOUP/SAUCE | 8 oz ~ 24 oz |
| 6 | CHILI | 8 oz ~ 24 oz |
| 7 | PASTA | 8 oz ~ 24 oz |
| 8 | MAC AND CHEESE | 8 oz ~ 24 oz |
| 9 | MASHED POTATOES | 8 oz ~ 24 oz |
| 0 | RICE | 8 oz ~ 24 oz |
Potato
In standby mode, touch Potato pad once. The oven will start working automatically.
NOTE: The potato weight ranges from 6 oz to 24 oz (6 oz – 8 oz/serving).
Popcorn
In standby mode, touch Popcorn pad once. The oven will start working automatically.
NOTE: The popcorn weight is 3.5 oz.
Soften Melt
- In standby mode, touch the Soften Melt pad once.
- Touch number pad 1-4 to choose food type.
- Touch number pad 1 or 2 to choose the food weight or servings.
- Touch Start pad to start cooking.
Soften melt menus:
| Press number | Food type | Press number | Weight/Serving |
| 1 | SOFTEN CHEESE | 1 | 4 OZ |
| 2 | 8 OZ | ||
| 2 | SOFTEN ICE CREAM | 1 | 4 OZ |
| 2 | 8 OZ | ||
| 3 | SOFTEN BUTTER | 1 | 1 STICK |
| 2 | 2 STICKS | ||
| 4 | MELT BUTTER | 1 | 1 STICK |
| 2 | 2 STICKS |
Time Defrost
If the food weight is exceed the maximum weight recommended, you need to use defrost by time.
- In standby mode, touch Defrost/Time/Weight pad once.
- Enter defrosting time by touching the number pads. The longest defrosting time you can set is 99 minutes and 99 seconds.
- Touch Start pad to start.
NOTE: During defrosting, the oven will pause and sound beep to remind user to turn the food over, after that, touch Start pad to resume.
Weight Defrost
The oven allows you to defrost food based on the weight entered by user. The defrosting time and power level are automatically set once the food weight is programmed. The frozen food weight ranges from 4 oz to 64 oz.
- In standby mode, touch Defrost/Time/Weight pad twice.
- Touch number pad to enter food weight.
- Touch Start pad to confirm.
NOTE: During defrosting, the oven will pause and sound beep to remind user to turn the food over, after that, touch Start pad to resume.
OTHER CONVENIENT FEATURES
Express cooking
Use this feature to program the oven to microwave food at 100% power conveniently. In standby mode, touch Start pad pad once (Default cooking time is 30 seconds), the oven will start working automatically.
Add 30 seconds function
During cooking (except sensor menus, auto cook menus, time defrost and weight defrost), you can add cooking time by touching +30 Sec pad. Each touch to increase 30 seconds , and up to 99 minutes and 99 seconds.
Setting the Timer
- In standby mode or during cooking, touch the Timer pad once.
- Use the number pads to enter time. The longest time you can set is 99 minutes and 99 seconds.
- Touch Start pad.
NOTE: When the countdown ends, the buzzer will beep to remind you. Once you have set the timer function, you can check the countdown by touching Timer pad. You can touch the Stop/Cancel pad to cancel the timer function when the display shows timer time.
Child Lock
The child lock prevents unsupervised operation by children and this program only works in standby mode. To set: In standby mode, touch and hold Lock Turntable/Off for 3 seconds, then a beep will sound and the display will show “LOCK ON”. In the lock state, all pads are disabled. To cancel: Touch and hold Lock Turntable/Off for 3 seconds, then a beep will sound and the display will show “LOCK OFF”.
Turntable
Turn off the turntable: During cooking, touch Lock Turntable/Off pad once to turn off the turntable, the display will show ” TURNTABLE OFF “. Turn on the turntable: During cooking, if user have turned off the turntable, touch Lock Turntable/Off pad once to turn on the turntable. The display will show ” TURNTABLE ON “.
NOTE: When the cooking starts, the default turntable function is turn on.
Pad adhesion protection
In any state, if any pad on the control panel is adhesion for 60 seconds, the program stops working immediately, the display shows “FAIL” and the system will sound beep. If the pad is adhesion all the time, beep will sound every one minute. Any pad is invalid at this time. After troubleshooting, touch the Stop/Cancel pad to return standby mode.
CLEAR AND CARE
Exterior
The outside surface is pre-coated steel and plastic. Clean the outside with mild soap and water; rinse and dry with a soft cloth. Do not use any type of household or abrasive cleaner.
Door
Wipe the window on both sides with a damp cloth to remove any spills or spatters. Metal parts will be easier to maintain if wiped frequently with a damp cloth. Avoid the use of spray and other harsh cleaners as they may stain, streak or dull the door surface.
Touch Control Panel
Care should be taken in cleaning the touch control panel. If the control panel becomes soiled, open the oven door before cleaning. Wipe the panel with a cloth dampened slightly with water only. Dry with a soft cloth. Do not scrub or use any sort of chemical cleaners. Close door and touch STOP/CANCEL.
Interior
Cleaning is easy because little heat is generated to the interior surfaces; therefore, there is no baking and setting of spills or spattering. To clean the interior surfaces, wipe with a soft cloth and warm water. DO NOT USE ABRASIVE OR HARSH CLEANERS OR SCOURING PADS. For heavier soil, use baking soda or a mild soap; rinse thoroughly with hot water.
Waveguide Cover
The waveguide cover is located on the right side in the oven cavity. It is made from mica so requires special care. Keep the waveguide cover clean to assure good oven performance. Carefully wipe with a damp cloth any food spatters from the surface of the cover immediately after they occur. Built-up splashes may overheat and cause smoke or possibly catch fire. DO NOT REMOVE THE WAVEGUIDE COVER.
Odor Removal
Occasionally, a cooking odor may remain in the oven. To remove, combine 1 cup water, grated peel and juice of 1 lemon and several whole cloves in a 2-cup glass measuring cup. Boil for several minutes using 100% power. Allow to set in oven until cool. Wipe interior with a soft cloth.
Turntable/Turntable Support
The turntable and turntable support can be removed for easy cleaning. Wash them in mild, sudsy water; for stubborn stains use a mild cleanser and non-abrasive scouring sponge as described above. They are also dishwasher-proof. Use upper rack of dishwasher. The turntable motor shaft is not sealed, so excess water or spills should be wiped up immediately.
Grease Filters
Filters should be cleaned at least once a month. Never operate the fan or oven without the filters in place. Pull down slightly on the tab toward the front of the oven and remove the filter. Repeat for the other filter. Soak the filter in a sink or dish pan filled with hot water and detergent. DO NOT use ammonia or other alkali; they will react with the filter material and darken it. Agitate and scrub with a brush to remove embedded dirt. Rinse thoroughly and shake dry. Replace by fitting the filter back into the opening. 
Light
- To replace LED, first disconnect power to the oven at the circuit breaker panel or by unplugging. To release cover, remove the screw on the light cover. (See illustration.)
- To release LED, remove the screw on the LED. (See illustration.)
- Special LED is needed.
- Close light cover and secure with screw removed in step 2.
CAUTION: Light cover may become very hot. Do not touch glass when light is on.

Charcoal Filter
Charcoal filter is used for nonvented, recirculated installation. The filter should be changed every 6 to 12 months depending on use.
- Disconnect power to the oven at the circuit breaker panel or by unplugging.
- Remove the Grease Filter from the bottom of microware.(See illustration.)
- Change the charcoal filter.
- Carefully insert the Grease Filter back into place in step 2.

Oven Light
To replace oven light first disconnect power to the oven at the circuit breaker panel or by unplugging.
- To release vent cover, remove the screw on the vent cover. (See illustration.)
- To release oven light, remove the screw on the LED. (See illustration.)

- Dedicated oven light is needed.
- Replace the oven light cover by carefully pushing into place. Replace the charcoal filter, if used. Push the louver back into place and replace the louver mounting screw.




















