VOLVO Car Seat Base Unit

Contents

Installation

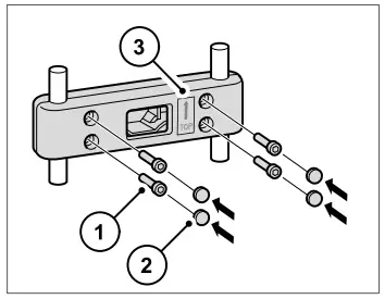
Position the bracket’s rear section (1) and front section (2) on the head restraint’s two rods. Make sure the arrow points upwards.

- Screw in the four screws using the enclosed tool as firmly as possible (max. 2 Nm).
- Fit the covers in the holes to cover the screws.
- Remove the decal with the arrow pointing upwards

















