Voltcraft BS-1000T Endoscope basic device


Introduction
Dear customer,
Thank you for purchasing this product.
This product complies with the statutory national and European requirements.
To maintain this status and to ensure safe operation, you as the user must observe these operating instructions! These operating instructions are part of this product. They contain important notes on commissioning and handling. Also consider this if you pass on the product to any third party. Therefore, retain these operating instructions for reference!
If there are any technical questions, please contact: www.conrad.com/contact
Explanation of symbols
- The symbol with the exclamation mark in the triangle is used to indicate important information in these operating instructions. Always read this information carefully.
- The arrow symbol indicates special information and advice on operation.
Intended use
The endoscope basic device is a visual aid for optical troubleshooting and inspection at powered-down systems and facilities in connection with a separately available endoscope camera. The camera image is displayed on the integrated TFT monitor, and the lighting in the tip of the camera can be controlled smoothly with this endoscope basic device. A PAL/NTSC video output is available. The gooseneck cameras that can be connected are water-tight and suitable for use in watery liquids (no acids or lye). The basic device must not be exposed to humidity or submersed.
Voltage supply is achieved through an integrated LiPo battery or USB mains adapter that can be operated with 100 – 240 V/AC, 50/60 Hz.
Operation in explosive atmospheres or use with persons and animals is not permissible. For safety and approval purposes, you must not rebuild and/or modify this product. Use other than that described above may lead to damage to the product and injury. Read the instructions carefully and store them in a safe place. Make this product available to third parties only together with its operating instructions. All company names and product names are trademarks of their respective owners. All rights reserved.
Delivery content
- Endoscope basic device
- Storage case
- Mains adapter
- USB cable
- 4 GB SD card
- Cleaning accessories
- AV cable
- Operating instructions
Up-to-date operating instructions
Download the latest operating instructions at www.conrad.com/downloads or scan the QR code shown. Follow the instructions on the website.
Safety instructions
Read the operating instructions carefully and especially observe the safety information. If you do not follow the safety instructions and information on proper handling in this manual, we assume no liability for any resulting personal injury or damage to property. Such cases will invalidate the warranty/guarantee.
- General information
- The device is not a toy. Keep it out of the reach of children and pets.
- Do not leave packaging material lying around carelessly. This may become dangerous playing material for children.
- The endoscope basic device is not water-tight and therefore cannot be used underwater.
- The endoscope must only be used for inspection in powered-down systems. The different camera heads are metal and can lead to short circuit.
- Sensitive surfaces (with furniture polish, etc.) may cause chemical reactions with the casing.
- Protect the appliance from extreme temperatures, direct sunlight, strong jolts, high humidity, moisture, flammable gases, steam and solvents.
- Do not place the product under any mechanical stress.
- If it is no longer possible to operate the product safely, take it out of operation and protect it from any accidental use. Safe operation can no longer be guaranteed if the product:
- is visibly damaged,
- is no longer working properly,
- has been stored for extended periods in poor ambient conditions or
- has been subjected to any serious transport-related stresses.
- Please handle the product carefully. Jolts, impacts or a fall even from a low height can damage the product.
- Consult an expert when in doubt about the operation, safety or connection of the appliance.
Maintenance, modifications and repairs must only be completed by a technician or an authorised repair centre.
If you have questions which remain unanswered by these operating instructions, contact our technical support service or other technical personnel.
- Connected devices
- Also observe the safety and operating instructions of any other devices which are connected to the product.
- LiPo battery
- Never damage the rechargeable battery. Damaging the casing of the rechargeable battery might cause an explosion or a fire! Unlike conventional batteries/rechargeable batteries (e.g. AA or AAA type), the casing of the LiPo rechargeable battery does not consist of a thin sheet but rather a sensitive plastic film only.
- Never short-circuit the contacts of the rechargeable battery. Do not throw the battery or the product into fire. There is a danger of fire and explosion!
- Charge the rechargeable battery regularly, even if you do are not using the product. Due to the rechargeable battery technology being used, you do not need to discharge the rechargeable battery first.
- When charging, place the product on a surface that is not heat-sensitive. It is normal that a certain amount of heat is generated during charging.
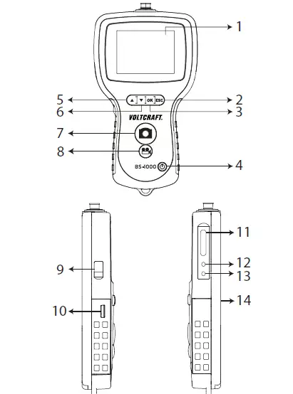
Operating elements
See fold-out page.
- TFT screen
- ESC button
- OK button
- On/off button
- button
- button
- button
- button
- Mini-USB port
- LED control wheel
- SD card slot
- Video output socket
- DC input socket
- Attachment thread
Getting started
The endoscope must only be used for inspection in powered-down systems. The different camera heads are metal and can lead to short circuit.
- Inserting the rechargeable battery
- Slide the battery compartment cover downwards.
- Insert the battery and connect the two plugs.
- Close the battery compartment.
The rechargeable battery is located on the back of the endoscope basic device. Do not replace the rechargeable battery with another rechargeable battery or any normal battery. Remove the battery if the endoscope will not be used for any extended period. Make sure that the polarity is correct when replacing the battery.
- Charging the battery
- Connect the plug of the mains unit with the DC input socket.
- Connect the mains adapter to a mains outlet.
- The battery is now charged. The endoscope basic device is ready for operation even during the battery charging process. Only connect the mains adapter to the mains socket after performing all other connections.
Please observe that the ambience temperature is not less than 0 °C or more than 40 °C while charging.
- Inserting the SD memory card
The BS-1000T can store recordings (images, videos) on an SD card. The memory card included in the delivery has a memory capacity of 4 GB. The endoscope basic device is also compatible with SD cards with a memory of up to 8 GB.
To use the photo or video function, you need to insert an SD memory card first.- Open the device’s SD card slot lid.
- Press on the SD card until it is completely inserted.
- Only one input alignment is correct.
If the SD card is not inserted correctly, the endoscope cannot make any recordings. Do not drop the SD card and do not subject it to vibration or impacts. Otherwise, stored images may be damaged.
Do not store or use the SD cards close to devices that generated strong magnetic fields, such as TVs, speakers or magnets. Also avoid sites with electrostatic charges. Otherwise, the images/videos stored on the SD card may be lost.
Do not subject SD cards to any direct solar irradiation or other sources of heat. Otherwise, the SD card may deform and become useless. Do not pour any liquid onto the SD card. Always keep the SD card in the storage box included to protect the data stored. Do not bend the memory card, do not use any force and do not subject it to impacts. Do not keep the SD card in any hot, moist of dusty environments.
- Connecting a matching endoscope camera
- Connect a compatible camera to the socket. Observe correct alignment; the hollow part on the plug (at the endoscope cam-era) should fit over the protruding part on the socket (basic device). Make sure not to break off the pins.
- Turn the metal screw lock clockwise to fasten the camera.
- Loosen the camera by turning the metal lock counter-clockwise. For a matching endoscope camera, see the chapter on matching accessories.

- Switching the device on/off
- Keep the button pressed for 3 seconds to switch the endoscope on or off. After the start-up-screen, the battery charging state and the SD card capacity is briefly displayed on the screen. Charge the endoscope when the battery level is low. A camera live image is displayed on the screen. The endoscope is now in preview mode.
- Camera lighting
- To use the endoscope in absolutely dark areas as well, the BS-1000T has an integrated rotary control for smooth dimming of the LED lighting contained in the camera head.
Turn the controller at the left side of the basic device to increase or reduce brightness. Set lighting so that the screen image is not too bright or too dark.
- To use the endoscope in absolutely dark areas as well, the BS-1000T has an integrated rotary control for smooth dimming of the LED lighting contained in the camera head.
Operation
- Setting the language
- Press the “OK” button once to call the menu.
- Use the / buttons to move the cursor upwards or downwards and then choose “Sprache” / “LANGUAGE” / “Langue” / “Taal” and press “OK”.
- Use the / buttons to move the cursor upwards or downwards and to choose the desired language.
- Press “OK” to save the change and return to preview mode.
- Setting the date/time
Set the date and time before recording images or videos. The index will be sorted by recording date and time.- Press the “OK” button once to call the menu.
- Use the / buttons to move the cursor upwards or downwards and then choose “Date/Time setup” and press “OK”.
- Enter the correct date and time. Use the / buttons to move the cursor upwards or downwards and use the / buttons to change the value.
- Switch the date and time display on the screen on or off by setting the “DISPLAY” parameter to “ON” or “OFF”. Time and date indications are always noted on the photos or videos recorded. This parameter only refers to preview on the monitor.
- Automatic power-off
With the “Auto Off” Menu function, you can set the time after which the device automatically powers off if no recording is running or a button is pressed.- Press the “OK” button once to call the menu.
- Use the / buttons to move the cursor upwards or downwards and then choose “Auto Off” and press “OK”.
- Use the / buttons to move the cursor upwards or downwards and choose the desired automatic power-off time. The endoscope will switch off automatically after the corresponding time if it is not in use then.
- Press “OK” to save the change and return to preview mode.
- Recording photos
To record an individual image, simply press the button in preview mode. For this, a matching SD memory card must be inserted (see chapter “Inserting the SD memory card”). Keep the connected camera as calm as possible to receive a good recording.
Press the button to record a photo in video playback. (See chapter “Playback of photos/videos”)
The recorded picture is stored in JPG format on the “DCIM” folder on the SD card, and the file names are assigned serial numbers. In narrow tubes, it may be of advantage to reduce lighting slightly to prevent reflections and too bright images. - Recording a video
To record videos, proceed as in still recording. For this, a matching SD memory card must be inserted (see chapter “Inserting the SD memory card”).- Press the button in preview mode to start the recording.
- The symbol for video recording appears on the monitor. The current recording duration is indicated on the display.
- Press the button again to terminate recording.
The recorded video is stored in ASF format on the “DCIM” folder on the SD card, and the file names are assigned serial numbers.
- Playback of photos/videos
- Press the / buttons to call the playback mode. You are not in the playback mode for photos/videos.
- Use the / buttons to search the photos. Photos are marked by the symbol, videos by the symbol.
- Press to play a video. The symbol is displayed.
- Press the button again to stop playback. The symbol is displayed.
- To make a still recording of a video, press the button during playback or pause.
- Deletion of photos/videos
- Press the / buttons to call the playback mode. You are not in the playback mode for photos/videos.
- Use the / buttons to search the photos. Photos are marked by the symbol, videos by the symbol.
- To delete the photo/video currently viewed, press “OK”. Use the / buttons to select “yes” and confirm deletion of the file; otherwise, select “no” to cancel deletion.
- Press the button “ESC” to return to preview mode.
- Formatting the memory card
To delete all data on the inserted SD card, proceed as follows:- Press the “OK” button once to call the menu.
- Use the / buttons to move the cursor upwards or downwards and then choose “Delete All” and press “OK”.
- Use the / buttons to select “YES” and confirm deletion of the file; otherwise, select “NO” to cancel deletion.
- Digital zoom
The recorded image can be enlarged in ten stages (max. 2.0 times). Proceed as follows:- Press the “OK” button once to call the menu.
- Use the / buttons to move the cursor upwards or downwards and then choose “DIGITAL ZOOM” and press “OK”.
- The endoscope switches back to preview mode with the function “Digital Zoom” activated. Press the / buttons to zoom in or out.
- To switch off digital zoom again, call the menu, select “DIGITAL ZOOM” and press “OK” again.
- Mirror function / image rotation
- Press the “OK” button once to call the menu.
- Use the / buttons to move the cursor upwards or downwards and then choose “MIRROR” and press “OK”.
- Use the / buttons to choose the desired effects.
DEACTIVATE No effect. HORIZONTAL The image is mirrored horizontally. VERTICAL The image is mirrored vertically. FOLD The figure is rotated by 180°.
- Setting video output format
To play back the recorded images/videos, first set the correct playback format. Proceed as follows:- Press the “OK” button once to call the menu.
- Use the / buttons to move the cursor upwards or downwards and then choose the menu item “Video Format” and press “OK”.
- Select the correct video format with the / buttons and press “OK” to confirm. For correct connection of the AV cable, please also observe the notes in chapter “Outputting video signals to a TV”. PAL is the European TV standard. If you are using a TV that uses the North American TV standard NTSC, use this selection instead.
PC connection
- Switch on the endoscope.
- Connect the mini-USB plug of the USB cable to the mini-USB socket of the endoscope basic device.
- Connect the other end of the USB cable to a free USB port of your PC.
The BS-1000T now acts as a card reader and you can search the files on the SD card. Instead of a USB cable, you can also use an SD card reader/writer or a computer with an SD card slot to read the stored data.
Outputting video signals to a TV
If you want to connect the endoscope to a TV via the AV output, you first need to determine your TV standard (see chapter “Setting video output format”). Also observe the indications on your TV.
The endoscope enables image output for recording and documentation via an integrated composite video output. The output socket is on the right of the device. Use the included video cable to establish the connection to your playback or recording device.
- Switch on the endoscope.
- Plug the jack into the video output socket (12) of the endoscope basic device.
- Connect the cinch plug to the video input of your playback or recording device.
- Select your TV device’s video input. Also observe the notes in the operating instructions of your playback or recording device.
- Press the “OK” button at the BS-1000T to call the menu.
- Use the / buttons to move the cursor upwards or downwards and then choose “Video Output” and press “OK”.
- The camera image is displayed if the video source is correctly connected and chosen.
- To switch off, press the on/off button (4) briefly. The device and the video output switch off. By disconnecting the video cable from the BS-1000T or your TV device, the basic device automatically switches to preview mode.
Endoscope Restart
If the BS-1000T does not react, you can reset the device.
- Switch on the device with the on/off button (4).
- Insert a thin object of about 3 cm length (e.g. a ballpoint mine) into the reset opening at the back of the device.
- Touch it to the small reset button inside the opening.
- The device switches off. Proceed with care when resetting. The device can be damaged when pointy objects are used.
All settings made before this are lost. The device restarts.
Care and cleaning
Do not use any aggressive cleaning agents, rubbing alcohol or other chemical solutions as they can cause damage to the housing and malfunctioning.
- The device requires no servicing apart from occasional cleaning. Only use a soft, anti-static and lint-free cloth for cleaning.
- Switch the power off and disconnect all cables before each cleaning.
- Flush a used gooseneck camera thoroughly with clean water after each use in liquids and dry it off before returning it to the case.
- Always store the basic device and its accessories in the case when not using them.
Disposal
- Product
Electronic devices are recyclable waste and must not be disposed of in the household waste. At the end of its service life, dispose of the product in accordance with applicable regulatory guidelines.
Remove any inserted (rechargeable) batteries and dispose of them separately from the product. - (Rechargeable) batteries
You as the end user are required by law (Battery Ordinance) to return all used (rechargeable) batteries. Disposing of them in the household waste is prohibited. Contaminated (rechargeable) batteries are labeled with this symbol to indicate that disposal in the domestic waste is forbidden. The designations for the heavy metals involved are: Cd = Cadmium, Hg = Mercury,
Pb = Lead (name on (rechargeable) batteries, e.g. below the trash icon on the left). Used (rechargeable) batteries can be returned to collection points in your municipality, our stores or wherever (rechargeable) batteries are sold. You thus fulfill your statutory obligations and contribute to the protection of the environment.
Matching accessories
To operate the BS-1000T endoscope basis device, you need an endoscope camera that is available separately. The following products are suitable for operation with the basic device.
Flexible endoscope cameras
| Order no. | 101048 | 101049 | 101050 | 101051 | 101053 |
| Camera Ø | 5.5 mm | ||||
| Length | 1 m | 2 m | 3 m | 5 m | 10 m |
| Visual field | 67º | ||||
| Sharpness depth | 15 – 100 mm | ||||
| Order no. | 101054 | 101056 | 101057 | 101058 | 101059 |
| Camera Ø | 4 mm | ||||
| Length | 1 m | 2 m | 3 m | 5 m | 10 m |
| Visual field | 56º | ||||
| Sharpness depth | 15 – 50 mm | ||||
Semi-stiff endoscope cameras
| Order no. | 101065 | 101066 | 101067 |
| Camera Ø | 5.5 mm | ||
| Length | 1 m | 2 m | 3 m |
| Visual field | 67º | ||
| Sharpness depth | 15 – 100 mm | ||
Endoscope cameras for pipe inspection
| Order no. | 101061 | 101063 | 101064 |
| Camera Ø | 28 mm | ||
| Length | 3 m | 10 m | 25 m |
| Visual field | 67º | ||
| Sharpness depth | 15 – 100 mm | ||
For more accessories, also see conrad.com.
Technical data
BS-1000T
- Operating voltage……………………………………….rechargeable 3.7 V lithium polymer battery / ………………………………………………………………..5 V/DC mains adapter
- Display………………………………………………………8.89 cm (3.5”) TFT screen
- Resolution (dynamic / static)………………………..320 X 240 / 640 x 480
- Connection………………………………………………..Mini-USB, AV out
- Storage medium…………………………………………SD card (up to 8 GB)
- Video compression format……………………………MPEG4
- Image format……………………………………………..JPEG (640 x 480)
- Video output format…………………………………….NTSC / PAL
- Video format………………………………………………ASF (640 x 480)
- Operating temperature………………………………..-20 to +60 ºC 0 to +40 ºC (while charging)
- Dimensions (W x H x D)………………………………123 x 34 x 240 mm
- Weight………………………………………………………450 g
Mains adapter for charging:
- Input voltage………………………………………………100 – 240 V/AC, 50/60 Hz
- Input current………………………………………………0.3 A
- Connection………………………………………………..Euro plug
- Output voltage……………………………………………5 V/DC
- Output current…………………………………………….2 A
- Connection………………………………………………..hollow plug 3.5 x 1.35 x 9 mm
References
Conrad Electronic » Your Sourcing Platform
France.fr : Actualités, destinations et infos du tourisme en France
Conrad Electronic » Your sourcing platform
Conrad Electronic » Your Sourcing Platform
Conrad Electronic – Alle Teile des Erfolgs
Conrad Electronic » Your Sourcing Platform
Contact Us | Conrad.com
Document
Conrad Electronic Online Shop » Alle Teile des Erfolgs
Conrad Electronic » Your Sourcing Platform
























