CASIO 5544 Metal and Resin Beauty with Bluetooth
Basic Operations
This section provides an overview of the watch and its operations.
Note
- The illustrations included in this operation guide have been created to facilitate explanation. An illustration may differ somewhat from the item it represents.
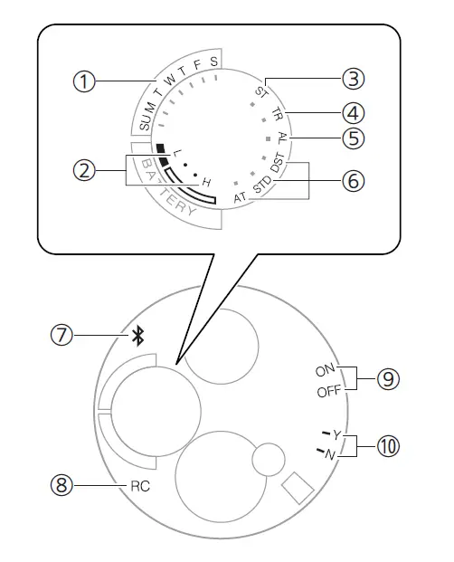
Watch Face Items
- Day of week
In the Timekeeping Mode, the mode hand points to the day of the week in the Home City. - Battery level
The current charge level is indicated by the mode hand after you enter the
Timekeeping Mode. - [ST]
In the Stopwatch Mode, the mode hand points to [ST]. - [TR]
In the Timer Mode, the mode hand points to [TR]. - [AL]
In the Alarm Mode, the mode hand points to [AL]. - Summer time setting
The mode hand points to the current summer time setting. 
The second-hand points to this mark while
there is a connection between the watch and a phone.- [RC]
The second-hand points to [RC] while calibration signal reception is in progress. - The alarm on/off setting
In the Alarm Mode, the second hand indicates if the alarm is enabled or disabled.
[ON]: Alarm enabled
[OFF]: Alarm disabled - Last auto-time adjustment results The second-hand points to [Y(YES)] or [N(NO)] to indicate the result of the last auto-time adjustment operation based on time signal reception or connection with a phone.
[Y(YES)]: Last time adjustment operation was successful.
[N(NO)]: Last time adjustment operation failed.
Navigating Between Modes
Press (C) to cycle between modes.
- In any mode, hold down (C) for about one second to enter the Timekeeping Mode.

- Connecting with a Phone
Hold down (C) for about four seconds to establish a connection with a phone.- To disconnect, press any button.

- To disconnect, press any button.
Mode Overview
- Timekeeping Mode
The main hour, minute, and second hands indicate the current time.
The small hour and minute hands indicate the current World Time.
- Current location time (24-hour time) One revolution every 24 hours. Day of the week at current location C World Time hour
- World Time minute
- World Time hour (24-hour time) The hand points to the A-side for a.m. times, and to the P-side for p.m. times.
Checking the Last Time Adjustment Result
Press (B).
Checking the Last Time Adjustment Result
Connecting with a Phone to Adjust the Watch’s Time
Hold down (B) for about 0.5 seconds. Release the button as soon as the second-hand moves from [Y/N] to e.
Time Adjustment Using a Time Calibration Signal
Hold down (B) for about 1.5 seconds. Release the button as soon as the second-hand moves from e to [RC].
Phone Finder
Hold down (B) for about 3.5 seconds. Release the button as soon as the second-hand moves from [RC] to e.
Swapping the Current Location Time and World Time
Hold down (A) for about three seconds.
Checking the Charge Level
Immediately after you press (C) to return to the Timekeeping Mode, you can check the battery charge level by noting the mode hand position.
Stopwatch Mode
The second hand, and the small hour and minute hands indicate the elapsed stopwatch time.
- The main hour and minute hands indicate the current time.

- Stopwatch seconds
- Stopwatch hours
- Stopwatch minutes
- Stopwatch hours (24-hour time)
The hand points to the A-side for hours 0 through 12, and to the P-side for hours 12 through 24.
Timer Mode
The second hand, and the small hour and minute hands indicate the current countdown time.
- The main hour and minute hands indicate the current time.

- Timer seconds
- Timer hours
- Timer minutes
- Timer hours (24-hour time)
The hand points to the A-side for hours 0 through 12, and to the P-side for hours 12 through 24
Alarm Mode
The small hour and minute hands indicate the alarm time.
The second hand indicates the alarm enabled/disabled setting.
- The main hour and minute hands indicate the current time.

- Alarm enabled/disabled
- Alarm hour
- Alarm minute
- Alarm hour (24-hour time)
The hand points to the A-side for a.m. times, and to the P-side for p.m. times.
Using the Crown
The watch’s crown is a screw-in (screw lock) type. To use the crown, you first need to rotate it towards you (leftwards) to loosen it.
Pulling Out and Pushing In the Crown
To perform a crown operation, pull it out to the first or second click and then rotate it. Do not pull the crown with too much force.
First click
Second click
Important!
- To prevent loss of water resistance and/or damage due to impact, be sure to screw the crown in by rotating it away from you as you push it in.

- When pushing the crown back in, take care not to apply too much force.
Fast Forward/Fast Reverse
After pulling out the crown, rotating it quickly in succession in either direction will cause the hands to move forward or back at high speed. While the hands are moving forward at high speed, quickly rotating the crown in succession again will increase the speed even further.
Stopping Fast Forward/Fast Reverse
Rotate the crown in the direction opposite that of the ongoing operation or press any button.
Note
- If you do not perform any operation for about two minutes after pulling out the crown, crown operations will automatically become disabled. If that happens, push the crown back in and then pull it out again.
Hand and Day Indicator Movement
Mode Hand and Day Indicator Movement
Changing the day setting of the watch will also cause the mode hand to move.
Day
- It can take anywhere from about 10 to 40 seconds for the day indicator to change after timekeeping reaches midnight. The mode hand moves as the day indicator changes.
- The day may not be indicated correctly while the watch’s crown is pulled out.
Solar Charging
This watch runs on power supplied from a rechargeable (secondary) battery that is charged by a solar panel. The solar panel is integrated into the face of the watch, and power is generated whenever the face is exposed to light.
Charging the Watch
When you are not wearing the watch, put it in a location where it is exposed to bright light.
While you are wearing the watch, make sure that its face (solar panel) is not blocked from light by the sleeve of your clothing. Power generation efficiency is reduced even when the face of the watch is blocked only partially.
Important!
- Depending on light intensity and local conditions, the watch may become hot to the touch when exposed to light for charging. Take care to avoid burn injury after charging. Also, avoid charging the watch under high-temperature conditions like the ones described below.
- On the dashboard of a vehicle parked in the sun
- Near an incandescent light bulb or another source of heat
- Under direct sunlight or in other hot areas for long periods
Checking the Charge Level
Immediately after you press (C) to return to the Timekeeping Mode, the mode hand will indicate the battery charge level. After a short while, the mode hand will indicate the current day of the week.
- Good (high charge)
- Good (medium charge)
- Low Battery
Remaining Charge and Dead Battery
You can determine if the charge level is low by checking the hand movement. Functions become disabled as battery power goes low.
Important!
- Should the battery go low or go dead, expose the face (solar panel) to light as soon as possible.
Low Battery Power
The second hand jumps at two-second intervals.
Dead Battery
All hands and the day indicator are stopped.
Note
- Exposing the watch face to light after the battery goes dead will cause the second hand to revolve counterclockwise until it stops at second 57. This indicates charging has started.
Charging Time Guidelines
The table below shows guidelines for approximate charging times.
Charging Times Required for 1 Day of Operation
| Light Level (Lux) | Approximate Charging Time |
| 50,000 | 8 minutes |
| 10,000 | 30 minutes |
| 5,000 | 48 minutes |
| 500 | 8 hours |
Times Required to Achieve Next Charge Level
Sunny day, outdoors (50,000 lux)
| Dead battery n Medium charge | 2 hours |
| Medium charge n High charge | 17 hours |
| High charge n Full charge | 5 hours |
Sunny day, near a window (10,000 lux)
| Dead battery n Medium charge | 5 hours |
| Medium charge n High charge | 62 hours |
| High charge n Full charge | 17 hours |
Overcast day, near a window (5,000 lux)
| Dead battery n Medium charge | 8 hours |
| Medium charge n High charge | 100 hours |
| High charge n Full charge | 27 hours |
Indoor fluorescent lighting (500 lux)
| Dead battery n Medium charge | 87 hours |
| Medium charge n High charge | – |
| High charge n Full charge | – |
Note
- Actual charging time depends on the local charging environment.
Power Saving
Leaving the watch in a dark location for about one hour between the hours of 10 p.m. and 5:50 a.m. will cause the second hand to stop, and the watch to enter Level 1 power saving. If the watch is left in this condition for six or seven days, all hands will stop and the watch will enter Level 2 power saving.
Level 1: Basic timekeeping functions are operational.
Level 2: Only the day indicator is operational.
Note
- Note that the watch also may enter the power saving state if its face is blocked from light by your sleeve while you are wearing it.
- The watch will enter power saving from the Timekeeping Mode only.
Recovering from Power Saving Operation
Press any button, perform a crown operation, or place the watch in a well-lit area to recover from power saving.
Connecting with a Phone
To connect the watch with a phone, first install the CASIO “G-SHOCK Connected” app on the phone and then use Bluetooth to pair the watch with the phone.
- Install the app on your phone.
In Google Play or the App Store, search for the CASIO “G-SHOCK Connected” app and install it on your phone. - Configure Bluetooth settings.
Enable the phone’s Bluetooth.
Note
For details about setting procedures, see your phone documentation. - Pair the watch with a phone.
Before you can use the watch in combination with a phone, you first need to pair them.- Move the phone to be paired with close to (within one meter of) the watch.
- On the phone’s Home Screen, tap the “GSHOCK Connected” icon.
- Follow the instructions on the phone’s screen to pair with the watch.
- If a pairing prompt message appears, perform the operation shown on the phone screen.
- If pairing fails for some reason, perform the procedure again from step 1.

Note
- The first time you start up G-SHOCK Connected, a message will appear on your phone asking if you want to enable location information acquisition. Configure settings to allow background use of location information.
Adjusting the Time Setting
Your watch can receive time signals and connect with a phone to obtain information that it uses to adjust its date and time setting.
Important!
- Disable auto time adjustment whenever you are inside an aircraft or in any other area where radio wave reception is prohibited or restricted.
Using G-SHOCK Connected to Configure Settings
Using Watch Operations to Configure Settings
Connecting with a Phone to Adjust the Watch’s Time
You can configure watch settings to connect with a phone at preset times each day and adjust its time settings in accordance with information obtained from an online time server.
- Using This Function
Your watch adjusts its time setting four times a day according to a preset schedule. If you leave your watch in the Timekeeping Mode, it will perform the adjustment operation automatically as you go about your daily life, without any operation required by you.
Note
The watch will connect with the phone and perform auto time adjustment at around 12:30 a.m., 6:30 a.m., 12:30 p. m. and 6:30 p.m. The connection is automatically terminated after auto time adjustment is complete.
Triggering Immediate Time Adjustment
The watch will synchronize its time setting with that of an online time server whenever a connection is established between it and a phone. Perform the operation below to connect the watch with a phone whenever you want to have the watch’s time setting synchronized with that of an online time server.
- Hold down (B) for about 0.5 seconds. Release the button as soon as the second-hand points to e.
When the watch connects with a phone, the second hand will move to [Y(YES)], and then the watch’s time setting will be synchronized with that of an online time server.- The connection is terminated automatically after time adjustment is complete.

- The connection is terminated automatically after time adjustment is complete.
Note
- If the watch time is adjusted by connection with a phone, the watch’s Home City setting will change to the city that is being used for the phone’s time setting. If summer time is in effect in the city being used for the phone’s time setting, the watch’s time setting will also become summer time.
- If the watch does not indicate the correct time even if it is able to connect with a phone, adjust the hand and day indicator positions.
Adjusting Hand and Day Indicator Alignment - If there is a World Time City specified with G-SHOCK Connected, its time will also be adjusted automatically.
Time Adjustment Using a Time Calibration Signal
Overview
The watch’s time and day settings can be adjusted in accordance with a received time signal.
Important!
- In order to make it possible for the current time setting to be adjusted correctly based on time calibration signal reception, you need to specify the time zone where you are using the watch.
- If the watch was unable to connect with a phone even once for time adjustment during the previous day while connection with a phone is being used, it will automatically try to receive a time calibration signal.
Note
- Areas, where time calibration signal reception is supported, are limited. When the watch is in an area where time calibration signal reception is not possible, connect with a phone to adjust time and day settings.
Time Calibration Signal Reception Ranges - If the watch does not indicate the correct time even after it receives a time calibration signal, correct the hand and day indicator positions.
Using G-SHOCK Connected to Correct Hand Positions
Using Watch Operations to Correct Hand Positions
Appropriate Signal Reception Location
A time calibration signal can be received while the watch is near a window.
- Keep metal objects away from the watch.
- Do not move the watch.
- Do not perform any operation on the watch.

Note
- You may experience time calibration signal reception problems in the areas described below.
- Among or near buildings
- While riding in a vehicle
- Near household appliances, office machines, mobile phones, etc. On a construction site, in an airport, or any other location where radio wave interference occurs
- Near high-voltage lines
- In mountainous areas or behind a mountain
Time Calibration Signal Reception Ranges
- Japan (JJY)
The Japan time signal radio stations are located on Mt. Otakadoya in Fukushima and Mt. Hagane in Fukuoka/Saga. The reception range of the Japanese time signals is approximately 1,000 km from each transmission station. - China (BPC)
The China time signal radio station is located in Shangqiu, Henan Province, China. The reception range of the Chinese time signal is approximately 1,500 km from the transmission station. - United States (WWVB)
The United States time signal radio station is located in Fort Collins, Colorado. The reception range of the U.S. time signal is approximately 3,000 km from the transmission station. - U.K. (MSF)/Germany (DCF77)
The U.K. time signal radio station is located in Anthorn, Cumbria. The German time signal radio station is located in Mainflingen, southeast of Frankfurt. The reception range of the U.K. and German time signals is approximately 1,500 km from each transmission station.
Note
- Even if you are within the normal reception range of a time calibration signal, reception may be made impossible by the following factors: geographic contours, weather, the season, the time of day, wireless noise.
Auto Time Calibration Signal Receive
An automatic time calibration signal receive operation is performed and the time and day settings are adjusted between midnight and 5:00 a.m. Once a signal receive operation is successful, no more auto receive operations are performed that day.
Getting Ready
Enter the Timekeeping Mode.
Navigating Between Modes
Place the watch near a window or some other location appropriate for signal reception.
- The second hand points to [RC] while time calibration reception in progress.
- When the receive operation is successful, the time and day settings will be adjusted automatically.
Note
- Reception takes anywhere from about two minutes to about 10 minutes. It can take as long as 20 minutes.
- If the watch connects with a phone and adjusts its time setting, the watch will not perform auto receive of a time calibration signal for the rest of that day or the next day.
Manual Time Calibration Signal Receive
- Place the watch near a window or some other location appropriate for time signal reception.
- Enter the Timekeeping Mode.
Navigating Between Modes - Hold down (B) for about 1.5 seconds until the second hand points to [RC].
This indicates that the receive operation has started. After the receive operation is complete, the watch’s time and day settings will be adjusted accordingly.
Note
- Reception takes anywhere from about two minutes to about 10 minutes. It can take as long as 20 minutes.
- Time calibration signal reception is better at night than during the day.
Signal Reception Precautions
- When the watch is unable to adjust its time in accordance with a calibration signal for some reason, average timekeeping accuracy is within ±15 seconds per month.
- Note that an internal decoding process the watch performs after it receives a signal may cause the time setting to be slightly off (by less than one second).
- Time calibration signal reception is not possible under the conditions described below.
- While battery power is low
- While in the Stopwatch Mode
- At Power Saving Level 2
- While the crown is pulled out
- While the Home City setting is one where time signal reception is not possible
- While the watch is outside the time signal reception range
- As of January 2018, China does not observe summer time. If China starts to observe summer time in the future, the time displayed by the watch for China may not be correct.
Checking the Last Time Adjustment Result
- Enter the Timekeeping Mode.
Navigating Between Modes
2. Press (B).
The second hand points to the result of the last auto time adjustment operation. The watch hands will return to indicating the current time if you do not perform any operation for nine or ten seconds.
[Y(YES)]: Last time adjustment operation successful.
[N(NO)]: Last time adjustment operation failed.
Note
- Even if there was a successful time calibration signal receive operation or connection with a phone, the second hand will point to [N(NO)] if you adjusted the time and/or date setting manually.
Using the Watch in a Medical Facility or Aircraft
Whenever you are in a hospital, on an aircraft, or in any other location where auto-time calibration signal received or connection with a phone may cause problems, you can perform the procedure below to disable such operations. To re-enable auto time adjustment, perform the same operation again.
- Enter the Timekeeping Mode.
Navigating Between Modes
- Press (B).
The second hand will indicate the last receive result for nine or ten seconds.
- Within 10 seconds after pressing (B) above, pull out the crown to the first click.
- If more than 10 seconds elapse before you pull out the crown after you perform the operation in step 2, the second hand will return to indicating seconds. If this happens, perform step 2 again.
- Rotate the crown to disable auto time adjustment.
[Y(YES)]: Auto time adjustment enabled.
[N(NO)]: Auto time adjustment disabled. - Push the crown back in.
Note
- If the watch is paired with a phone, GSHOCK Connected can be used to disable auto time adjustment.
Using G-SHOCK Connected ton Disable Auto Time Adjustment
Using Mobile Link with a Mobile Phone
While there is a Bluetooth connection between the watch and phone, the watch time setting is adjusted automatically. You can also change the watch’s other settings.
Note
- This function is available only while GSHOCK Connected is running on the phone.
- This section describes watch and
phone operations.
X : Watch operation
Y : Phone operation
Connection
Connecting with a Phone
This section explains how to establish a Bluetooth connection with a phone that is paired with the watch.
- If the watch is not paired with the phone you want to connect with, refer to the information below and pair them.
Pair the watch with a phone.
- Move the phone close to (within one meter of) the watch.
- While the second hand is not pointing to
, hold down (C) for about four seconds. This causes the second hand to move to
and establishes a connection between the watch and phone.
Important!
- If you have problems establishing a connection, it could mean that GSHOCK Connected is not running on the phone. On the phone’s home screen, tap the “G-SHOCK
Connected” icon. After the app starts up, hold down the watch’s (C) button for about four seconds.
Note
- The connection will be terminated if you do not perform any operation on the watch or phone for a fixed amount of time.
To specify the connection limit time, perform the following operation with GSHOCK Connected: “Watch settings”n“Connection time”. Next, select a setting of 3 minutes, 5 minutes, or 10 minutes.
Canceling a Connection with a Phone
Pressing any button terminates the Bluetooth connection and returns the second hand to its normal operation.
Using the Watch in a Medical Facility or Aircraft
Whenever you are in a hospital, on an aircraft,or in any other location where auto time calibration signal receive or connection with a phone may cause problems, you can perform the procedure below to disable such operations. To re-enable auto time adjustment, perform the same operation again.
- Y Tap the “G-SHOCK Connected” icon.
- X Hold down (C) for about four seconds.
This causes the second hand to move to
and establishes a connection between the watch and phone.
- Perform the operation shown on the phone screen to enable or disable auto time adjustment.
Unpairing
- If the watch is connected with a phone, press any button to terminate the connection.

- Tap the “G-SHOCK Connected” icon.
- Perform the operation shown on the phone screen to unpair.
If you purchase another phone
You need to perform the pairing operation whenever you want to establish a Bluetooth connection with a phone for the first time.
Pair the watch with a phone.
Configuring World Time Settings
Specifying a World Time City with G-SHOCK Connected causes the watch’s World Time City to change accordingly. The standard time/summer time setting of the World Time will be adjusted automatically without any watch operation required by you.
Note
G-SHOCK Connected World Time lets you select from among approximately 300 cities as the World Time City.
Selecting a World Time City
- Tap the “G-SHOCK Connected” icon.
- Hold down (C) for about four seconds.
This causes the second hand to move to
and establishes a connection between the watch and phone.
- Perform the operation shown on the phone screen. The World Time setting will be reflected on the watch.
- You can determine whether a World Time is a.m. or p.m. by checking the position of the small 24-hour hand

- You can determine whether a World Time is a.m. or p.m. by checking the position of the small 24-hour hand
Configuring the Summer Time Setting
- Tap the “G-SHOCK Connected” icon.
- Hold down (C) for about four seconds.
This causes the second hand to move to
and establishes a connection between the watch and phone. - Perform the operation shown on the phone screen to select a summer time setting.
- “Auto”
The watch switches between standard time and summer time automatically. - “OFF”
The watch always indicates standard time. - “ON”
The watch always indicates summer time.
Note - While the summer time setting is “Auto”, the watch will switch between standard time and summer time automatically. You do not need to switch between standard time and summer time manually. Even if you are in an area that does not observe summer time, you can leave the watch’s summer time setting as “Auto”.
- Changing the time setting manually with a watch operation will cancel auto standard time/summer time switching.
- G-SHOCK Connected screen shows information about summer time periods.
- “Auto”
Swapping Your World Time and Home Time
- Tap the “G-SHOCK Connected” icon.
- Hold down (C) for about four seconds.
This causes the second hand to move to
and establishes a connection between the watch and the phone. - Perform the operation shown on the phone screen to swap your Home Time with your World Time.For example, if your Home City is Tokyo and the World Time City is New York, they will be swapped as shown below.

Note
- Auto time adjustment does not work for 24 hours after swapping of the Home Time and World Time.
Adjusting Hand and Day Indicator Alignment
If the hands and/or date indicator are out of alignment even though auto time adjustment is being performed, use G-SHOCK
Connected to adjust them.
- Tap the “G-SHOCK Connected” icon.
- Hold down (C) for about four seconds.
This causes the second hand to move to
and establishes a connection between the watch and phone.
- Perform the operation shown on the phone screen to correct hand and day indicator alignment.
Note
The movement of some hands are linked with other hands. When correcting the alignment of such a hand, you will have to correct the alignment of the linked hand(s) at the same time.
Phone Finder
You can use phone finder to trigger a tone on the phone to make it easy to find. The tone is forced to sound even if the phone is in vibrate mode.
Important!
- Do not use this function in areas where phone call tones are restricted.
- The tone sounds at a high volume. Do not use this function when listening to phone output over earphones.
- If the watch is connected with a phone, press any button to terminate the connection

- If the watch is connected with a phone, press any button to terminate the connection
- Hold down (C) for about 2 seconds. This will cause the watch to enter the
Timekeeping Mode. - Hold down (B) for about 3.5 seconds until the second hand points to
. A connection will be established between the watch and phone, and then the phone’s ringtone will sound.- It will take a few seconds before the phone tone sounds.

- It will take a few seconds before the phone tone sounds.
- Press any button to stop the tone.
- You can press any watch button to stop the phone tone, but only during the first 30 seconds after it starts to sound.
Configuring Watch Settings
You can use G-SHOCK Connected to specify the amount of time until the Bluetooth connection is automatically terminated, and to configure other watch settings.
- Tap the “G-SHOCK Connected” icon.
- Hold down (C) for about four seconds.
This causes the second hand to move to
and establishes a connection between the watch and phone. - Select the setting you want to change and then perform the operation shown on the phone screen.

Changing the Home City Summer Time Setting
- Tap the “G-SHOCK Connected” icon.
- Hold down (C) for about four seconds.
This causes the second hand to move to
and establishes a connection between the watch and phone.
- Perform the operation shown on the phone screen to change your Home City summertime setting.
Checking the Watch Charge Level
Use the procedure below to check the current charge level with G-SHOCK Connected.
- Tap the “G-SHOCK Connected” icon.
- Hold down (C) for about four seconds. This causes the second hand to move to
and establishes a connection between the watch and phone.
- Use G-SHOCK Connected to check the charge level.
Adjusting Time Settings Manually
You can use the procedure below to adjust the watch’s time and day settings when time calibration signal reception or communication with a phone is not possible for some reason.
Setting a Home City
Use the procedure in this section to select a
city (time zone) to use as your Home City.
- Pull out the crown to the second click. The second hand indicates the currently selected Home City time zone, while the mode hand indicates the current summer time setting.
- If the Home City setting is a city (time zone) that cannot be set on the watch, the second hand will point to.

- If the Home City setting is a city (time zone) that cannot be set on the watch, the second hand will point to.
- Rotate the crown to change the Home City.
- `You can also select a time zone whose name is not indicated on the face of the watch.
- For details about time zones, refer to the information below.
City (Time Zone) List
- Push the crown back in to its normal position.
Adjusting the Time and Day Setting
- Pull out the crown to the second click. The second hand will move to the city code of the currently selected Home City.
- The mode hand will point to the summertime setting for the currently selected Home City

- The mode hand will point to the summertime setting for the currently selected Home City
- Hold down (C) for about one second.
This causes the second hand to move to 12 o’clock, and enables the minute setting operation. - Rotate the crown to change the minute setting.
- Press (C).
The hour hand will move slightly, indicating that the hour setting operation is enabled. - Rotate the crown to change the hour setting.
- Press (C).
This enables the year ten’s digit setting operation. - Rotate the crown to move the second hand to the desired setting for the year ten’s digit.

- Press (C).
This enables the year one’s digit setting operation. - Rotate the crown to move the second hand to the desired setting for the year one’s digit.

- Press (C).
This enables the month-setting operation.
- Rotate the crown to change the month.
- Press (C).
The mode hand will move slightly, indicating that the day setting operation is enabled.
- Changing the day setting will cause the
mode hand to rotate repeatedly.
Hand and Day Indicator Movement
- Changing the day setting will cause the
- Rotate the crown to change the day.
- On a time signal at the top of a minute, push the crown back in.
Note
If the watch does not indicate the correct time even after you adjust it, adjust the hand and day indicator positions.
Using G-SHOCK Connected to Correct Hand Positions
Using Watch Operations to Correct Hand Positions
Configuring the Summer Time Setting (Home City)
If you are in an area that observes summer time, you can also configure a summer time setting.
Note
- The initial factory default summer time setting for all cities is [AT (AUTO)]. In many cases, the [AT (AUTO)] setting lets you use the watch without switching between summer time and standard time.
- When performing a manual operation to select a time zone for which there is no city name displayed, use [STD] or[DST] for the summer time setting.
- Pull out the crown to the second click. The second hand will move to the city code of the currently selected Home City.
- The mode hand will point to the summer time setting for the currently selected Home City.
- Hold down (A) for about one second. Each time you hold down (A) for about one second, the summer time setting will cycle to the next available option.

- [AT (AUTO)]
The watch switches between standard time and summer time automatically. - [STD]
The watch always indicates standard time. - [DST]
The watch always indicates summer time.
- [AT (AUTO)]
- Push the crown back in to its normal position.
World Time
World Time lets you look up the current time in any one of 27 cities and 39 time zones around the globe.
Getting Ready
Enter the Timekeeping Mode.
Navigating Between Modes
Specifying a World Time City
Use the procedure below to specify the city (time zone) whose time you want to view.
- Pull out the crown to the first click. The second hand indicates the current selected World Time City, while the mode hand indicates the World Time City’s summer time setting.
- If the World Time City setting is a city (time zone) that cannot be set on the watch, the second hand will point to ●

- If the World Time City setting is a city (time zone) that cannot be set on the watch, the second hand will point to ●
- Rotate the crown to change the World Time City (time zone).
- The World Time hour and minute hands indicate the current time in the selected time zone.
- You can also select a time zone whose name is not indicated on the face of the watch.
- For details about time zones, refer to the information below.
City (Time Zone) List
- Push the crown back in.
Configuring the Summer Time Setting (World Time)
If you are in an area that observes summertime, you can also configure a summertime setting.
Note
- The initial factory default summertime setting for all cities is [AT (AUTO)]. In many cases, the [AT (AUTO)] setting lets you use the watch without switching between summer time and standard time.
- When performing a manual operation to select a time zone for which there is no city name displayed, use [STD] or [DST] for the summertime setting.
- While [UTC] is selected as the city, you will not be able to change or check the summertime setting.
- Pull out the crown to the first click. The second hand will point to the currently selected World Time City (time zone).
- The mode hand will move to the summertime setting of the currently selected World Time City (time zone).
Hold down (A) for about one second. Each time you hold down (A) for about one second, the summertime setting will cycle to the next available option.
- [AT (AUTO)]
The watch switches between standard time and summer time automatically. - [STD]
The watch always indicates standard time. - [DST]
The watch always indicates summertime.
Push the crown back in to its normal position.
Swapping Your Home Time and World Time
Holding down (A) for about three seconds will swap your Home Time with your World Time.
- Pressing (A) will cause illumination to turn on. Keep the button depressed for about three seconds.

- If a swapping operation causes a change in the day indicator setting, the mode hand will rotate repeatedly.
Hand and Day Indicator Movement
Note
- This function comes in handy when you need to move to another time zone. For details about how to use it, go to the section below.
Moving to Another Time Zone
Stopwatch
The stopwatch measures elapsed time in units of one second up to 23 hours, 59 minutes, 59 seconds (24 hours).
Getting Ready
Enter the Stopwatch Mode.
Navigating Between Modes
Measuring Elapsed Time
- Use the operations below to measure elapsed time

- Press (B) to reset the elapsed time to all zeros.
- Press (C) three times to return to the Timekeeping Mode.
Timer
The timer counts down from a start time specified by you. A beeper sounds when the end of the countdown is reached.
- The beeper is muted in the cases described below.
When battery power is low
Getting Ready
Enter the Timer Mode.
Navigating Between Modes
Setting the Timer Start Time
- Pull out the crown to the first click.
- Rotate the crown to change the countdown start time setting.
- The countdown start time can be set in 1-minute units up to 24 hours.

- The countdown start time can be set in 1-minute units up to 24 hours.
- Push the crown back in.
Note- You can set a countdown start time of 24 hours by aligning the small 24-hour hand with 24.
Using the Timer
- Press (A) to start the countdown.

A beeper sounds for 10 seconds when the end of the countdown is reached.- To pause an ongoing countdown, press (A). To reset a paused countdown to the start time, press (B).
- Press any button to stop the tone.
- Press (C) twice to return to the Timekeeping Mode.
Alarm
The watch will beep when the alarm time is reached.
- The beeper is muted in the cases described below.
- When battery power is low
- When watch is at Level 2 power saving
- Power Saving
Getting ready
Enter the Alarm Mode.
Navigating Between Modes
Configuring Alarm Settings
- Pull out the crown to the first click.
This turns on the alarm. - Rotate the crown to change the alarm time setting.

- Push the crown back in.
- Press (C) once to return to the Timekeeping Mode.
Note- A beeper sounds for 10 seconds when nan alarm time is reached.
Enabling/Disabling the Alarm
- Press (B) to toggle the alarm between on and off.

- Press (C) once to return to the Timekeeping Mode.
Stopping an Alarm
While the alarm is sounding, press any button to stop it.
Illumination Light
The watch has an LED light that you can turn on for reading in the dark. When you turn on the LED light, it gradually becomes brighter. After about two seconds, it gradually becomes dimmer until it turns off.
Getting ready
Enter the Timekeeping Mode or Alarm Mode.
Navigating Between Modes
Turning On the Illumination Light
Pressing (A) turns on illumination.
- Illumination will turn off automatically if an alarm starts to sound.
- Illumination is disabled while the hands are moving at high speed.
Note
You can also use G-SHOCK Connected to change the illumination duration.
Adjusting Hand and Day Indicator Alignment
Strong magnetism or impact can cause the hands and/or the day indicator to go out of alignment. If this happens, adjust hand and day indicator alignment.
- The watch performs alignment of the hour hand, minute hand, second hand, and 24- hour hand automatically.
Adjusting Hand and Day Indicator Alignment
- Pull out the crown to the second click.
- Hold down (B) for about five seconds, until the second-hand moves to 12 o’clock.
Release the button when the second hand reaches 12 o’clock. This will start auto-alignment of the hour hand, minute hand, second hand, and 24- hour hand.
After auto alignment is complete, the hands should be in the positions shown below.
Press (C).
Confirm that the small hour and minute hands, and the small 24-hour hand are all stopped at 12 o’clock.
If the small hour and minute hands, and the small 24-hour hand are not at 12 o’clock, rotate the crown to align them with 12 o’clock.
Press (C).
Confirm that the mode hand is stopped at 12 o’clock, and check if the day is indicated properly.
If the mode hand and/or the day indicator is out of alignment, rotate the crown to move the mode hand to 12 o’clock and the day to the center of the indicator window.
- The movement range of the mode hand and day indicator is limited when you rotate the crown. The maximum leftright movement of the mode hand is 180 degrees in either direction. The day indicator moves only slightly.
- After the mode hand and day indicator are in the positions you want, advance to step 9 of this procedure. If you are unable to make the adjustments you want, go to step 7.
Press (C).
Confirm that the day indicator shows “1”.
Changing the date setting will cause the mode hand to rotate repeatedly. In some cases, the mode hand may continue to rotate for about 5 minutes.
Hand and Day Indicator Movement
If “1” is not shown for the day, rotate the crown until “1” is shown for the day. The mode hand moves in conjunction with crown rotation. Move the mode hand to 12 o’clock.
Push the crown back in.
Note: Leaving the crown pulled out for more than approximately 30 minutes without performing any operation will automatically cause the adjustment operation to become disabled. If this happens, push the crown back in to its normal position and then pull it out again to restart the procedure from the beginning. Pushing the crown in to itsnormal position part way through the alignment procedure will cause the hands to return to their normal position. Any alignment you performed up to that point will be applied.
Moving to Another Time Zone
Use the procedure below to easily change day and time settings of the watch to a destination location.
Before Boarding
- Configure the World Time to the current time at your destination.

- Disable auto time adjustment.

After Arriving
- Swap the origin time zone time with the destination time zone time.

- Enable auto time adjustment.
Other Information
This section provides non-operational information you also need to know. Refer to this information as required.
City (Time Zone) List
You can specify a time zone whose city code is not shown on the face by aligning the second hand with the applicable UTC offset
| City code | City name | Second Hand Position | Offset |
| UTC | Coordinated Universal Time | 0 | 0 |
| LON* | London | 2 | 0 |
| PAR* | Paris | 4 | +1 |
| ATH* | Athens | 6 | +2 |
| JED | Jeddah | 8 | +3 |
| – | – | 9 | +3.5 |
| DXB | Dubai | 10 | +4 |
| – | – | 11 | +4.5 |
| – | – | 12 | +5 |
| DEL | Delhi | 13 | +5.5 |
| – | – | 14 | +5.75 |
| DAC | Dhaka | 15 | +6 |
| – | – | 16 | +6.5 |
| BKK | Bangkok | 17 | +7 |
| HKG* | Hong Kong | 19 | +8 |
| – | – | 20 | +8.5 |
| – | – | 21 | +8.75 |
| TYO* | Tokyo | 22 | +9 |
| – | – | 23 | +9.5 |
| SYD | Sydney | 24 | +10 |
| – | – | 25 | +10.5 |
| NOU | Noumea | 26 | +11 |
| WLG | Wellington | 28 | +12 |
| – | – | 29 | +12.75 |
| TBU | Nuku’alofa | 30 | +13 |
| CXI | Kiritimati | 32 | +14 |
| BAR | Baker Island | 36 | -12 |
| PPG | Pago Pago | 38 | -11 |
| HNL | Honolulu | 40 | -10 |
| – | – | 41 | -9.5 |
| ANC | Anchorage | 42 | -9 |
| LAX* | Los Angeles | 44 | -8 |
| DEN* | Denver | 46 | -7 |
| CHI* | Chicago | 48 | -6 |
| NYC* | New York | 50 | -5 |
| YHZ* | Halifax | 52 | -4 |
| – | – | 53 | -3.5 |
| RIO | Rio de Janeiro | 54 | -3 |
| FEN | Fernando de Noronha | 56 | -2 |
| RAI | Praia | 58 | -1 |
Time zones where time calibration signal reception is possible.
The information in the above table is current as of January 2018.
Summer Time Table
When [AT (AUTO)] is selected for a city that observes summer time, switching between standard time and summer time will be performed automatically at the timing shown in the table below.
Note
- Summer time start and end dates for your current location may be different from those shown below. If this happens, you can have new summer time information for your Home City and World Time city sent to the watch by connecting the watch with a phone. If the watch is not connected with a phone, you can change the summer time setting manually.
| City name | Summer Time Start | Summer Time End |
| London | 01:00, last Sunday in March | 02:00, last Sunday in October |
| Paris | 02:00, last Sunday in March | 03:00, last Sunday in October |
| Athens | 03:00, last Sunday in March | 04:00, last Sunday in October |
| Sydney | 02:00, first Sunday in October | 03:00, first Sunday in April |
| Wellington | 02:00, last Sunday in September | 03:00, first Sunday in April |
| Anchorage | 02:00, second Sunday in March | 02:00, first Sunday in November |
| Los Angeles | 02:00, second Sunday in March | 02:00, first Sunday in November |
| Denver | 02:00, second Sunday in March | 02:00, first Sunday in November |
| Chicago | 02:00, second Sunday in March | 02:00, first Sunday in November |
| New York | 02:00, second Sunday in March | 02:00, first Sunday in November |
| Halifax | 02:00, second Sunday in March | 02:00, first Sunday in November |
|
Rio de Janeiro | 00:00, third Sunday in October | 00:00, third Sunday in February or 00:00, fourth Sunday in February |
Supported Phone Models
For information about supported phone models, visit the CASIO Website.
https://world.casio.com/os_mobile/wat/
Specifications
Accuracy at normal temperature :
±15 seconds per month average when time adjustment by time calibration signal reception or by communication with a phone is not possible.
Timekeeping :
Hour, minute, second, day (2000 to 2099 full auto calendar), day of the week
World Time :
Current time in 27 cities (39 time zones), and UTC (Coordinated Universal Time) time
Auto summer time setting
Home Time swapping
Signal Receive Functions :
Time calibration: Auto Receive, manual receive
Auto transmitter selection (for JJY, MSF/ DCF77)
Receivable Call Signs :
JJY (40kHz/60kHz), BPC (68.5kHz), WWVB (60kHz), MSF (60kHz), DCF77 (77.5kHz)
Last reception result display Automatic and manual switching between standard time and summer time.
Mobile Link :
Auto Time Correction
Time setting adjusted automatically at preset time.
One-touch Time Correction
Manual connection and time adjustment
Phone finder
Watch operation sounds the alert sound of the phone.
Home Time swapping
Auto summer time setting
Automatic switching between standard time and summer time.
Hand alignment correction
Data Communication Specifications
Bluetooth®
Frequency Band: 2400MHz to 2480MHz
Maximum Transmission: 0 dBm (1 mW)
Communication range: Up to 2 meters (depends on environment)
Stopwatch :
Measuring unit: 1 second
Measuring capacity: 23:59’59” (24 hours)
Measurement function: Elapsed time
Timer :
Setting unit: 1 minute
Countdown range: 24 hours
Measuring unit: 1 second 10-second beeper when the end of the countdown is reached
Alarm :
Setting units: Hours, minutes
Beeper: 10 seconds
Other :
LED light, auto hand position correction,
Power Saving, battery indicator
Power Supply :
Solar panel and one rechargeable battery
Approximate Battery Life :
Approximately 5 months
Conditions
Auto adjust: 4 times/day
Light: 1 operation/day
Alarm: 1 operation/day
Power Saving: 6 hours/day
Specifications are subject to change without notice.
Mobile Link Precautions
- Legal Precautions
- This watch complies with or has received approval under the radio laws of various countries and geographical areas. Using this watch in an area where it does not comply with or has not received approval under applicable radio laws may be a criminal offense. For details, visit the CASIO
Website.
https://world.casio.com/ce/BLE/ - Use of this watch inside of aircraft is restricted under the aviation laws of each country. Be sure to follow the instructions of airline personnel.
- Precautions when using Mobile Link
- When using this watch in combination with a phone, keep the watch and phone close to each other. A range of two meters isrecommended as a guideline, but the local environment (walls, furniture, etc.), the structure of a building, and other factors may require a much closer range.
- This watch can be affected by other devices (electrical devices, audio-visual equipment, office equipment, etc.) In particular, it can be affected by operation of a microwave oven. The watch may not be able to communicate normally with a phone if a microwave oven is operating nearby. Conversely, this watch may cause noise in radio reception and the video image of a TV.
- Bluetooth of this watch uses the same frequency band (2.4 GHz) as wireless LAN devices, and use of such devices in close proximity of this watch may result in radio interference, slower communication speeds and noise for the watch and the wireless LAN device, or even communication failure
Stopping Radio Wave Emission by This Watch
The watch is emitting radio waves whenever the second hand is pointing to
. Even if the second hand is not pointing at
, the watch will automatically attempt to connect with a phone four times a day to adjust its time settings.
When in a hospital, on an aircraft, or in any other area where the use of radio waves is not allowed, use the operation below to stop radio wave generation.
- Stopping Radio Wave Generation Press (C) to terminate the Bluetooth connection.

- Disabling Auto Time Adjustment Configure G-SHOCK Connected settings to disable synchronization between the watch and phone.
Copyrights and Registered Copyrights
- The Bluetooth® word mark and logos are registered trademarks owned by the Bluetooth SIG, Inc. and any use of such marks by CASIO Computer Co., Ltd. is under license.
- iPhone and App Store are trademarks of Apple Inc. in the United States and other countries.
- iOS is a trademark or registered trademark of Cisco Systems, Inc.
- GALAXY, GALAXY Note, and GALAXY S are registered trademarks of Samsung Electronics Co., Ltd.
- Android and Google PlayTM are trademarks or registered trademarks of Google LLC.
- Other company names and product names used herein are trademarks or registered trademarks of their respective companies.
Troubleshooting
Signal Reception (Time Calibration Signal)
Q1 The watch cannot perform a receive operation.
Is the watch’s battery charged?
Signal reception is not possible while battery power is low. Keep the watch exposed to light until it recharges sufficiently.
Is the watch in the Timekeeping Mode?
The watch cannot receive time calibration signals while auto adjustment is disabled or while the watch is in a mode other than the Timekeeping Mode. Return to the Timekeeping Mode.
Is your Home City setting correct for your location?
The watch will not indicate the correct time if the Home City setting is wrong. Change your Home City setting so it correctly reflects your location.
After checking the above, the watch still cannot perform a receive operation.
Time calibration signal reception is not possible under the conditions described below.
- When watch is at Level 2 power saving
- When the crown is pulled out
- Timer countdown operation in progress
If successful reception is not possible for some reason, you can adjust the time and day settings manually.
Q2 The signal receive operation always fails.
Is the watch in a location that is appropriate for signal reception?
Check your surroundings and move the watch to a location where signal reception is better.
Did you avoid touching the watch while the receive operation was in progress?
Minimize movement of the watch and do not perform any watch operation while a receive operation is in progress.
Is there an alarm configured to sound during the same period that the signal receive operation is performed?
Receive stops if an alarm operation starts while it is being performed. Disable the alarm.
Is the signal transmitter in your area transmitting a signal?
The transmitter of the time calibration may not be transmitting a signal. Try again later.
Q3 Signal reception should have been successful, but the watch’s time and/ or day is wrong.
Is the time zone where you are using the watch specified correctly?
Specify the time zone where you are using the watch.
Is the hand and/or day indicator alignment correct?
Adjust hand and/or day indicator alignment.
After checking the above, the time and/or day settings is still wrong.
Adjust time and day settings manually.
I can’t pair the watch with a phone.
Q1 I’ve never been able to establish a (pairing) connection between the watch and phone.
Are you using a supported phone model?
Check if the phone model and its operating system are supported by the watch.
For information about supported phone models, visit the CASIO Website. https://world.casio.com/os_mobile/wat/
Did you install G-SHOCK Connected on your phone?
G-SHOCK Connected needs to be installed on your phone in order to connect with the watch.
Are your phone’s Bluetooth settings configured correctly?
Configure the phone’s Bluetooth settings.
For details about setting procedures, see your phone documentation. iPhone Users
- “Settings” “Bluetooth” On
Android Users - Enable Bluetooth.
Other than the above. Some phones need to have BT Smart disabled to use G-SHOCK Connected. For details about setting procedures, see your phone documentation.
On the Home Screen, tap: “Menu” “Settings” “Bluetooth” “Menu” “BT Smart settings” and “Disable”.
I can’t reconnect the watch and phone.
Q1 The watch will not reconnect with the phone after they are disconnected.
Is G-SHOCK Connected running?
The watch cannot re-connect with the phone unless G-SHOCK Connected is running on the phone. On the phone’s Home Screen, tap the “G-SHOCK Connected” icon. Then on the watch, hold down the MODE button (C) for about four seconds.
Have you tried turning your phone off and then back on again?
Turn the phone off and then back on, and then tap the “G-SHOCK Connected” icon. Next, on the watch, hold down the MODE button (C) for about four seconds.
Is a timer countdown operation in progress?
Connection with a phone is not possible while there is 30 seconds or less remaining on a countdown timer operation. Stop the countdown operation before connecting with the phone
Q2 I can’t connect while my phone is in the Airplane Mode.
Connection with the watch is not possible while the phone is in the Airplane Mode. After exiting the phone’s Airplane Mode, go to the phone’s Home Screen and tap the “G-SHOCKConnected” icon. Then on the watch, hold down the MODE button (C) for about four seconds.
Q3 I changed the phone’s Bluetooth from enabled to disabled, and now I can’t connect anymore.
On the phone, re-enable Bluetooth, and then go to the Home Screen and tap the “GSHOCK Connected” icon. Next, on the watch, hold down the MODE button (C) for about four seconds.
Q4 I can’t connect after turning off the phone.
Turn on the phone and tap the “G-SHOCK Connected” icon. Then on the watch, hold down the MODE button (C) for about four seconds.
Phone-Watch Connection
Q1 I can’t establish a connection between the phone and watch. Have you tried turning your phone off and then back on again?
Turn the phone off and then back on, and then tap the “G-SHOCK Connected” icon. Next, on the watch, hold down the MODE button (C) for about four seconds.
Has the watch been re-paired with the phone?
After deleting pairing information from GSHOCK
Connected, re-pair the watch and phone.
If you are unable to establish a connection…
Use the procedure below to delete the pairing information from the watch, and then re-pair the watch and phone.
- Pull out the crown to the second click.
- Hold down (B) for about 10 seconds.
This deletes the pairing information.
The second hand will point to
. - Push the crown back in.
Changing to a Different Phone Model
Q1 Connecting the current watch to another phone. Pair the watch with the phone.
Auto Time Adjustment by Bluetooth Connection (Time Adjustment)
Q1 When does the watch adjust its time?
The watch will connect with the phone and perform auto time adjustment at around 12:30 a.m., 6:30 a.m., 12:30 p.m. and 6:30 p.m. The connection is automatically terminated after auto time adjustment is complete.
Note that auto time adjustment is not performed for 24 hours after swapping of the Home Time and World Time, or after the time setting is adjusted manually onthe watch. Auto time adjustment will resume 24 hours after either of the above operations is performed.
Is auto time adjustment enabled?
Auto time adjustment will not be performed at the scheduled times unless it is enabled. Enable auto time adjustment.
Q3 Time is not displayed correctly.
The phone’s time setting may be incorrect because it is unable to connect with its network due to being out of range, etc. If this happens, connect the phone to its network and then adjust the time setting
Alarm
Q1 The alarm does not sound. Is the watch’s battery charged?
Keep the watch exposed to light until it recharges sufficiently.
The crown is pulled out.
The alarm will not sound while the crown is pulled out. Push the crown back in to its normal position.
Is the alarm enabled?
Enable the alarm.
Hand Movement and Indications
Q1 I don’t know what mode the watch is in.
You can determine the current mode by checking the mode hand position. Use (C) to navigate between modes.
Q2 The second hand is jumping at two-second intervals.
Battery power is low. Keep the watch exposed to light until it recharges sufficiently.
Q3 All hands are stopped and buttons do not work.
The battery is dead. Keep the watch exposed to light until it recharges sufficiently.
Q4 The hands suddenly start moving at high speed.
This is due to one of the reasons below and does not indicate malfunction. Simply wait until normal hand movement resumes.
- The watch is recovering from a power-saving state.
- A time calibration signal is being received and the time setting is being adjusted.
- Watch is connected with a phone to adjust its time setting.
Q5 Hands are stopped and buttons do not work.
The watch is in charge recovery mode. Wait until the recovery process is complete (for about 15 minutes). The watch will recover more quickly if you place it in a brightly lit location.
Q6 Why is the current time indicated by the watch is off by a certain amount of time (nine hours, three hours and 15 minutes, etc.)?
The city setting is not correct. Select the correct setting.
Q7 The current time indicated by the watch is off by one hour or 30 minutes.
The summertime setting is not correct. Select the correct setting.
Q8 The hand and/or day indicators are not aligned correctly.
Strong magnetism or impact can cause the hands and/or the indicator to go out of alignment. Adjust hand and/or day indicator alignment.
Crown Operations
Q1 Nothing happens when I rotate the crown.
If you do not perform any operation for about two minutes after pulling out the crown (approximately 30 minutes in the case of hand and day indicator alignment), crown operations will automatically become disabled. Push the crown back into its normal position and then pull it out again to re-enable crown operations.
































































