RADIANT GAS FIRE
RADIANT XTRA GAS FIRE
USER INSTRUCTIONS
INSTALLATION INSTRUCTIONS
SERVICE INSTRUCTIONS
BM-02XXX1 MANUAL Flare Collection Inset Gas fires
It is a regulation that these instructions be handed to the customer after installation is complete. It is also the responsibility of the installation engineer to ensure that the customer is able to fully operate the appliance and is aware of any cleaning or maintenance requirements.
This product is not suitable for primary heating purposes.
Model numbers: BM-02XXX1 MANUAL for use on Natural Gas (G20) at a supply pressure of 20 mbar in GB Model numbers: BM-02XXX2 SLIDE for use on Natural Gas (G20) at a supply pressure of 20 mbar in GB (XXX denotes control type, & trim type)
REGULATORY INFORMATION AND INSTALLATION REQUIREMENTS THE FOLLOWING MUST BE NOTED PRIOR TO THE INSTALLATION OF THIS APPLIANCE.
This gas appliance MUST be installed by a GAS SAFE registered installer by law. It must be installed in accordance to these installation instructions and the GAS SAFETY (Installation & Use) REGULATIONS 1998 as amended. Non compliance of this law may lead to prosecution and it is in the interest of you and your family that this condition is observed.
The installation of this appliance must be in accordance with the relevant parts of the LOCAL AND NATIONAL BUILDING REGULATIONS as issued by the Department of the Environment or BUILDING STANDARD (Scotland Consolidation) REGULATIONS issued by the Scottish Development Department and the following relevant British Standards:
| BS5871 | Part 2 Install on of Inset Live Fuel Effect Gas Fires |
| BS5440 | Parts 1 & 2 Install on of Flues and Venlo |
| BS6891 | Installation of Gas Pipe-work |
| BS6461 | Part 1 Installation of Chimneys and Flues |
| BS1251 | Open Fireplace Components |
| BS715/BS EN 1856-2 | Metal Flue Pipes for Gas Appliances |
| BS EN 1858 | Chimneys Components & Concrete Flue Blocks |
| IS813:1996 | Domes Gas Install on (Republic of Ireland) |
Prior to installation ensure that the gas supply is compatible with the appliance, this appliance must only be used on natural gas at a supply pressure of 20 mbar as marked on the data plate on the appliance and the carton.
This appliance is only to be installed into a builder opening which must be constructed of non-combustible materials confirming to BS1251 or a suitable flue-box complying with the requirements of BS715/BS EN 1856-2.
If the product is being installed into a builders opening the chimney must be at least 3 metros in height and should be swept before installation if it has been used for the burning of solid fuel (e.g. coal or wood). The chimney must only serve as a flue-way to this appliance and must have no openings to any other room. The opening should be inspected and any exposed brickwork should be repaired where necessary. The chair brick (if applicable) should be removed unless the minimum depth of the fireplace exceeds 175mm. If the depth is less than 175mm then the chair brick MUST be removed.
If the product is being installed into a fabricated Flue-box it must be installed onto a non-combustible surface with a thickness of at least 12mm.
This fireplace is also suitable for installation into precast flue fireplaces which comply to the requirements of BS EN1858. It is important to note that pre-cast flue systems should be constructed with an air gap or some form of insulation material between the flue block and the plastered face; pre-cast flue systems with a plastered face directly in contact with the flue block are not correctly installed and installation of this appliance into such a flue system may result in the plaster cracking above the appliance. Flue-way must be through a Class | (7” or 175mm diameter) or Class Il (S” or 125mm diameter) flue of at least three meters in height.
The flue should be checked for draw using a smoke bomb or similar, if there is a definite draw then the installation of the appliance can proceed.
No purpose made ventilation is normally required for this appliance when installed in G.B. If the appliance is being installed in. then refer to I.S 813:1996 (Domestic Gas Installation—National Standards Authority of Ireland). Ventilation areas (if applicable) should be checked periodically to ensure there is no obstruction, even though none is normally required for this appliance.
IMPORTANT NOTE: If the appliance being installed is a XTRA model then the restrictor supplied in the ‘XTRA’ FITTING PACK should be fitted (Ensure the restrictor being fitted states the model number BM- 02XXX2). It is mandatory that when fitting the XTRA restrictor, that the XTRA CANOPY also must be fitted. When installing the XTRA restrictor onto an appliance where the flue is 7” (or 9” brick chimney) and of a minimum height of at least 5 meters, the additional restrictor (supplied in the XTRA pack also) can also be fitted for additional efficiency.
It is mandatory that the safe clearance of products be checked by performing a smoke match test as described on the product data label.
SPILLAGE TEST: To check for satisfactory clearance of products of combustion, close all doors and windows and leave the appliance burning on HIGH for five minutes. Insert a lit smoke match just into the top of the fire opening and move it left and right, all the smoke must be drawn into the flue. If spillage occurs allow a further 5 minutes and repeat the test. If spillage still occurs turn off the appliance and seek expert advise . If an extractor fan is situated in the room the spillage test should be repeated with the fan running. If there is a connecting room with an extractor fan the test should be repeated with all the doors to that room open and the extractor fan running. If the appliance spills with the restrictor fitted then the restrictor should be removed and the spillage test repeated. If the spillage test continues to fail expert advise should be sought and additional ventilation may have to be provided.
This appliance must only be installed on to a suitable hearth with a minimum thickness of 12mm. The appliance must not be installed directly onto carpet of other combustible floor materials. The fireplace surround (back-panel) must have a temperature rating of at least 150°C.
Do not place soft wall coverings (i.e. embossed papers etc,) furniture or other combustible items too close to the fires as they may discolour or scorch.
Do not place or throw rubbish or otherwise on the fuel-bed.
Do not place any combustible materials or flooring (i.e. carpets etc,) on any part of the hearth.
WARNING: This appliance has a naked flame and as with all heating appliances a fireguard should be used for the protection of children, the elderly and infirm. The fireguard should conform to BS8423 : 2002 (Fireguards or use with Gas Heating Appliances).
Important Note: It is quite normal for a flame effect gas appliance to experience a small amount of soot or staining to some parts of the fuel effect components. If this becomes excessive it may because the fuel bed is not fitted correctly—this should be checked according to these installation instructions prior to contacting a service engineer.
It is very important that you arrange for a GAS SAFE registered engineer to service your appliance every year during this service the engineer will remove the appliance and check for debris, check the operation of the flue and check the operation of the appliance. This is important for you and your families safety.
NEVER place any rubbish or otherwise onto the fire—this will affect the way the product operates and may affect the warranty of the product.
NEVER place more ceramic components onto the fuel bed than specified in the instructions.
NEVER touch the ceramics when the appliance has recently been switched off—these components retain heat and may cause burns. Leave the appliance to sufficiently cool prior to any contact of the ceramics.
SITING THE APPLIANCE
Fireplace Opening
The fireplace opening must be between 405mm and 450mm wide and between 555mm and 570mm high. If the opening intended for the appliance is in excess of these dimensions then a suitable surround must be constructed of non-composable material to produce an opening within this range of dimensions. 
A flat face of a minimum 470mm wide and 590mm high must be provided around the fireplace opening to ensure a good seal is formed. In addition it is important to ensure that the base of the fireplace opening is flat and level with the hearth surface to ensure a secure and aligned installation of the appliance.
The minimum hearth dimensions are shown in the diagram above. The upper surface of the hearth must be a minimum of Somme above the floor and must protrude a minimum distance of 300mm out from the fireplace opening. (It is important to note that should a spacer of any kind be used to bring the appliance out of the fireplace, then the 300mm dimension must be taken from the most forward surface of this spacer.)
Installation into a Brick Chimney
When the appliance is being installed into a brick chimney there must be sufficient depth behind the appliance to accommodate any falling debris. This debris collection void should be capable of accommodating up to twelve (12) liters of volumetric space.
Installation into a Prefabricated Twin Wall Metal Flue Box
This appliance can be installed into a prefabricated metal twin wall flue box providing it complies to the requirements of BS715 / BS EN 1856-2. The box must have an insulated flue with a minimum diameter of 125mm (5”) diameter and a minimum effective overall height of 3 meters.
The top outer face of the flue box should be insulated to prevent heat loss with a layer of mineral wool insulation or similar. The metal flue box must stand on a non combustible surface with a minimum thickness of 12mm.
Installation into a PRE-CAST FLUE Installation
If the ‘XTRA’ product is being fitted see IMPORTANT NOTE on page 4 of these instructions.
Ensure that there is a minimum of 14mm from the rear of the appliance to the rear of the pre-cast flue starter block this is to ensure that sufficient clearance is allowed for debris collection.
Installation into a PRE-CAST FLUE Installation—continued…
If a dimension of 14mm is not available for debris collection, then the mantel rebate should be increased to ensure this minimum figure is achieved, ensuring that that a suitable non combustible material is used and the integrity of the fireplace opening is maintained. Under no circumstances should the appliance be installed if the 14mm minimum dimension cannot be achieved.
The installer should always inspect the flue way prior to installation of the appliance and in the case of pre-cast flues it is important to check that the flue way is clear and free from mortar or other sealant which may have been extruded into the passage during its’ construction. If this is the case then these should be removed by rodding the flue prior to installation.
See the other important notes regarding pre-cast flues on page 3.
Fireplace Opening (Hole in the Wall Installation)
This appliance MUST be installed in accordance with all relevant sections of document ‘J’ of the building regulations.
This appliance may be installed such that the base of the appliance sit on the surface of a fireplace opening at least 110mm up from the floor—this dimension ensures that there is no incandescent material (flame or ceramic impinged by flame) is less than 225mm from the floor.—This is a requirement of document ‘J’. Where a hole in the wall installation is employed it is important that the fret to the appliance is either integral with the trim, is fixed to the appliance securely or a small hearth surface is constructed at the base of the opening for the fret to sit upon. If such a hearth is constructed it must be a minimum of 480mm in width and 100mm deep.
It is always important to ensure that the appliance is fixed securely to the fireplace opening and that no movement of the ceramics takes place when the appliance is operated. It is additionally important in a ‘hole in the wall’ installation to ensure loose ceramics cannot fall from the appliance. In addition it is imperative that ONLY fascia/trim arrangements supplied by Be Modern deemed suitable to be used with Be Modern appliances in a ‘hole in the wall’ installation shall be used.
THE INSTALLER MUST INFORM THE USER OF THE FOLLOWING IMPORTANT NOTICES AFTER A HOLE IN THE WALL INSTALLATION HAS BEEN UNDERTAKEN.
- The user must be made aware to fit a secure fireguard where the room is used by elderly, infirm, infants or young children.
- The customer should be advised to fit a hearth panel or a physical barrier in accordance with BSS87 1-2. Should this advice not be followed the customer should be advised to give due to consideration to the safety of the occupants in the room where the appliance is to be installed.
- The user must be made aware to keep the area immediately in front of the appliance must always be kept clear of combustibles items. This does not include the floor covering however such covering should be fixed.
- The user must ensure that the ceramic fuel bed is maintained in the correct condition of installation, especially after cleaning. If the fuel bed is removed for cleaning or maintenance the ceramics should be checked for secure placing and tested for movement during appliance operation.
- The user must ensure that other occupants of the room where the appliance is installed are notified to not get unnecessarily close to the appliance when in use or to position any furniture or appliances too close to the fire.
Checking the Flue
Use a smoke pellet prior to the appliance installation to ensure the viability of the flue and check that the smoke can be seen being emitted from the terminal / chimney pot outside. There must be no leakage of smoke through the structure of the chimney/flue during or after the smoke pellet test and it is important to check inside upstairs rooms adjacent to the chimney/flue. If the installation is into a pre-cast flue ensure check the loft space to ensure that the connection between the pre-cast block and the fluepipe is sound. Check the chimney pot / terminal and general condition of the brickwork or masonry. If the chimney or flue is in poor condition or if there is no up-draught do not proceed with the installation. If there is a history of down-draught conditions with the chimney / flue, the installation of a tested and certificated flue terminal or cowl suitable for the relevant flue type should be considered.
AS pillage test must be performed—see page 4 of these instructions.
Fixing the Appliance.
If the appliance is being installed with a spacer kit, this should be attached to the appliance using the screws included and the second foam length which is supplied with the spacer kit should be affixed to the rear face of the spacer. Do not use any permanent sealing substance as this will invalidate warranty as the appliance cannot be removed for periodical inspections.
Cable Fixing System (Supplied as standard)
This appliance is best installed with the cable fitting system which is supplied in the standard fitting pack. The fitting system comprises four (4) eyebolts, two (2) fixing cables, two (2) screwed nipples and two (2) adjuster fittings.
This installation requires that the burner tray is removed from the firebox. Remove the screws securing the burner tray to the firebox and set the tray aside during the firebox installation.
Simply drill and fit the eyebolts in the positions shown in the next diagram.
Then thread the fixing cables through the two small holes at the top/rear of the appliance, pass each cable through two of the eyelets then back through the one of the two holes at the rear of the appliance. Thread the cable through the adjuster fittings. When the appliance is in its installed position, pull the cables tight and slide the adjuster to the back of the fire—ensuring the back-nut on the adjuster has been run as far up the thread as possible to the hexagon shoulder. Keeping the cable tight, fit the screwed nipple to the cable and secure. Tum the back-nut on the adjuster fixing and the cable will be tensioned until the appliance is securely fixed.

Spillage monitoring System
This appliance is fitted with an atmospheric sensing system in the form of an oxygen sensing pilot burner. This is designed to shut the fire off in the event of products being spilled into the room where the fire is being operated. It is important to note that this spillage monitoring device should not be disabled or be adjusted by the installer. If the spillage monitoring device (0.D.S pilot) is replaced it must only be exchanged with a suitable component which is supplied by Be Modern Ltd.
Combustible Shelf
This appliance may be fitted below a surround with a combustible shelf providing the following dimensional criteria is met:
There must be a minimum distance of 250mm from the top of the appliance to the underside of the shelf. The shelf must not project more than 150mm from the mounting surface of the appliance into the room. If the shelf projects more than 150mm then the distance between the top of the appliance and the underside of the shelf must be increased accordingly; for every 10mm of projection above 150mm the distance between the fire and shelf must be increased by 20mm
| Shelf Protrusion | Min. Distance Between Fire and Shelf |
| 150mm | 250mm |
| 160mm | 270mm |
| 170mm | 290mm |
| 180mm | 310mm |
| 190mm | 330mm |
| 200mm | 350mm |
Connec6ng the Appliance to the Gas Supply
The gas supply can be connected to the appliance by a concealed fitting from the rear. In all installation conditions the gas connection should be provided using 8mm (O/D) copper tubing. If the concealed installation method is chosen, there are three optional entry points at the rear/side of the appliance. The relevant ‘knock-out’ entry point should be reproved to allow the gas supply to enter the appliance. No soldered joints should be used with the firebox of the appliance. The blind grommet which is supplied in the standard fitting pack should be used to close up the knock out hole—simply cut a small cross with a sharp knife in the centre of the grommet—this will then seal around the gas pipe to provide a tight seal.
Under no circumstances should this gas entry hole be left open and unsealed as this can result in flame reversal and can cause damage to the appliance. Should this occur the warranty to this appliance will be rendered void.
Before connecting the gas supply to the appliance a gas soundness test should be performed to ensure that the existing pipe work in the property is sound.
The burner tray can now be reinstalled into the firebox.
The gas connection should be made to the appliance by the 8mm restrictor isolation valve supplied with the appliance.
This restrictor elbow is supplied loose and should be fitted as per the label on the instruction packet.
Install the ceramics on to the appliance according to these instructions—see page 14.
Test the operating pressure of the appliance by attaching a pressure gauge to the test point of the appliance. This connection should take place when the appliance is OFF. Ensure that gas is turned on at the gas meter and purge the air from the appliance by:
| MANUAL CONTROL UNITS: | Rotate the control to the (IGN) position and push in, now press the igniter button. Continue to press the igniter button until the pilot lights. Check that the spark is being generated correctly at the pilot assembly. Continue with this procedure until the air is purged from the appliance and the pilot is lit. Once lit hold the valve pushed in for up to 10 seconds. Once the pilot is established and secure, turn the control knob anti- clockwise to the (HIGH) position. Allow the appliance to run for a minimum period of S minutes. Next check chat the inlet pressure to the appliance is at 20 mbar +1 mbar. |
| SLIDE CONTROL UNITS: Pilot and low burner ignite in unison. | Push down the control lever fully to the (IGN) position and hold. The spark generator should spark continuously, ensure the spark is being generated correctly at the pilot assembly. Continue with this procedure until the air is purged from the appliance and the pilot is lit. Once lit hold the lever pushed down for up to a further 10 seconds. Once the pilot is established and secure allow the lever to rise to the (LOW) position then lift the lever to the (HIGH) position. Allow the appliance to run for a minimum period of 5 minutes. Next check that the inlet pressure to the appliance is 20 mbar +1 mbar. |
Check the operation of the appliance according to these instructions—see page 13.
Check the clearance of combustion products
SPILLAGE TEST: To check for satisfactory clearance of products of combustion, close all doors and windows and leave the appliance burning on HIGH for five minutes. Insert a lit smoke match just into the top of the fire opening and move it left and right, all the smoke must be drawn into the flue. If spillage occurs allow a further 5 minutes and repeat the test. If spillage still occurs turn off the appliance and seek expert advise to expert advice. If an extractor fan is situated in the room the spillage test should be repeated with the fan rurning. If there is a connecting room with an extractor fan the test should be repeated with all the doors to that room open and the extractor fan running.
Completing the Installation of the Appliance
Fit the cast trim (supplied in a separate carton) to the appliance with the fixings provided. The instructions for the assembly is supplied with the trim. Due care and attention should be paid to the installation of the trim as any service call due to incorrect placement of the trim assembly which causes difficulty in lighting the appliance will result in a callout charge being made.
Should this appliance be installed with a conventional trim and fret then please note the following information:
Position the fret in front of the appliance ensuring that it meets the following requirements

THE INSTALLER MUST INFORM THE CUSTOMER OF THE FOLLOWING TO COMPLETE THE INSTALLATION
Demonstrate the lighting of the appliance and the controls to control the heat settings. Demonstrate how to extinguish the fire.
Demonstrate the removal of the trim and fret and how to reinstall correctly.
Discuss the removal and reinstallation of the ceramics. Explain how they should be cleaned and make the customer aware of the health and safety warning detailed later in these instructions.
Explain to the customer that the ceramics are fragile and must be treated with great care, explain that the ceramics are not covered by the warranty because of their fragility. Also explain that small hairline cracks will appear in the surface of the ceramics due to heat expansion and contraction—this is perfectly normal.
Oaring the first several hours of use an odor will be experienced—this is normal and is the starch used in the manufacturing of the ceramic fuel bed. This odor is non toxic and will eventually disappear with use.
Advise that no rubbish should be thrown onto the appliance and that the appliance should be cleaned regularly.
A vacuum cleaner can be used but it is important that the appliance is turned off and allowed to cool before undertaking this procedure. See the separate section regarding cleaning the ceramics.
Advise the customer that the appliance should be serviced annually by a gas safe engineer to ensure the safety and integrity of the appliance.
Advise the customer that the appliance has a naked flame and therefore it is essential that a suitable fireguard be used for the protection of the elderly, infirm and young children. This fireguard should conform to BS8423 : 2002 (Fireguards or use with Gas Heating Appliances).
These instructions must be handed over to the customer once installation is complete.
Maintenance of the Appliance
The following procedures can and should be performed by the customer at regular intervals depending upon use of the appliance.
Appliance Technical Information
| Gas Type : Natural | Gas Category : I2H | Inlet Pressure: (Cold) 20mbar |
| Heat Input Gross : 6.75kW | Injector : 78 | Des6na6on Countries : GB |
HEALTH AND SAFETY NOTICE
This appliance uses fuel effect pieces manufactured from Refractory Ceramic Fibers (RCF). Care must be taken to avoid excessive exposure to these materials as they may cause irritation to the eyes, skin, nose and throat. When Handling avoid inhaling and contact with skin and eyes. It is recommended that disposable gloves are worn in addition to a facemask and eye protection. After handling wash hands thoroughly and any other exposed parts which may have come in to contact with the material.
If a vacuum cleaner is used to clean the fuel bed or areas around the appliance there fragments of the material may have fallen it is recommended that it be of the type fitted with a HEPA filter.
Care should be taken when disposing of RCF materials. It is important to keep any dust to a minimum so it is recommended that the fuel effect components are placed into a heavy duty plastic bag. The bag should be clearly labelled RCF WASTE.
These materials are not classified as hazardous waste and should be disposed of at a site approved for the disposal of industrial waste.
Cleaning the Appliance
Fuel Bed
The fuel effect components supplied with this product are extremely fragile and must be handled with great care. The ceramics in this appliance are not covered by the warranty due to their fragility. This includes the RCF fibred boards in the fire box. These components will break or chip if not handled with the greatest of care.
Cleaning of these components should only be undertaken once the appliance is switched off and has been allowed to cool for a minimum period of one hour. The components should be lifted carefully piece by piece from the appliance and placed onto a dust sheet or similar. They can be brushed gently with a soft brush to remove any dust or deposits. If you intend to use a vacuum cleaner then this should only be done once the loose deposits of soot etc. have been removed. Ensure that the molded components are structurally sound and no significant part of the molding has broken away. If any component has broken then it should be replaced before using the appliance. Only the correct replacement part as supplied by the manufacturer shall be used in this appliance. Do not add any additional components to the fuel bed layout. It is important to note that small hairline cracks will appear in the surface of the ceramics due to heat expansion and contraction—this is perfectly normal.
Pilot Cleaning
If excessive lint is drawn in through the pilot aeration hole due to infrequent cleaning then it may result in the appliance not lighting or taming itself off automatically due to a starvation of air at the pilot burner. This can often be remedied by performing the cleaning operation detailed here. This procedure should only be undertaken when the appliance is off and cold. The pilot access cover must first be removed, then, using a thin nozzle on a vacuum cleaner this area can be cleaned to remove any lint blockage. If this procedure does not resolve such a problem then the pilot assembly will need to be replaced. This must involve the installation of the same part as supplied by the manufacturer. Excessive lint build up which results in appliance Operational problems is not covered by warranty. It is important to ensure this preventative maintenance is performed regularly (once a month during the winter period).

Cleaning the Appliance (continued)
Trim, Fret and Painted Metal Parts
There are a variety of trim and fret opens which may have been supplied with your appliance and these are normally a plated material on a steel substrate. It is important that no abrasive cleaners or chemical agents are used in the cleaning of these components. It is recommended that all these surfaces including the painted metal parts are cleaned with a clean damp (not wet) cloth. Cleaning should only take place when the appliance is switched off and has been switched off for a minimum period of one hour.
The following procedures can and should only be performed by a Gas Safe registered installer.
This appliance should be serviced annually by a Gas Safe registered installer.
Removal / Replacement of Gas Carrying Components.
The removal and replacement of all the gas carrying components will require the removal of the burner tray. The following information details the removal of this tray. Once removed, refer to the relevant section that follows detailing the removal of the specific component (s).
- Tum off the gas supply at the isolation valve on the appliance. Ensure the appliance is cold.
- Remove the fret and the trim—put in a suitable location where they cannot be damaged or scratched in anyway.
- Remove the fuel effect components – put in a suitable location where they cannot be damaged.
- Disconnect the gas supply from the restrictor elbow.
- Slide Control models only: Disconnect the pushrod retaining screw from the base of the rod.
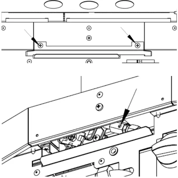
- Remove the screws securing the bumer tray to the firebox as detailed in the diagram.
- Re-assemble the tray in the reverse order.

Now carefully pull the burner tray from the fire box. The burner tray is can now be serviced or repaired accordingly—see the following pages for information about removing and replacing serviceable components.
Removal / Replacement of Gas Carrying Components (continued)
Replacement of the Gas Control Valve
Manual Control Valve
- Remove the control knob from the valve.
- Remove the locknut from the front of the valve.
- Undo the three nuts around the periphery of the valve body—Gas Inlet / Burner / Pilot
- Remove the thermocouple nut from the back of the valve.
- The valve can be removed and serviced / replaced as necessary.
- Re-assemble in reverse order.
- Re-assemble the burner tray in to the firebox (see previous page).
Slide Control Valve
- Remove the locknut from the front of the valve.
- Undo the three nuts around the periphery of the valve body—Gas Inlet / Burner / Pilot.
- Remove the thermocouple nut from the back of the valve.
- The valve can be removed and serviced / replaced as necessary.
- Re-assemble in reverse order.
- Re-assemble the burner tray in to the firebox (see previous page).
Replacement of the Pilot
Remove the three (3) screws to remove the cover panel.
Remove the two (2) screws to remove the heat shield
Undo the pilot gas supply from the base of the pilot
Remove the thermocouple nut from the back of the valve.
Remove the two (2) screws securing the microswitch, see diagram
Remove the HT lead from the electronic igniter unit.
Remove the two (2) screws securing the pilot to the burner tray.
The pilot assembly can be removed and replaced.
Re-assemble in reverse order.
Re-assemble the burner tray into the firebox (see previous page)
Replacement of the Burner Tray
- Remove the screws securing the tray to the firebox.
- Remove the burner tray from the appliance.
- Re-assemble in reverse order.
- Re-assemble the burner tray into the firebox (see previous page).

Replacement of the Injector
- Remove the brass nut from the injector elbow.
- Unscrew the injector elbow from the burner assembly.
- The injector can be removed and replaced.
- Re-assemble in reverse order.
- Re-assemble the burner tray into the firebox (see previous page)
Only replacement components supplied by the manufacturer should be used in the service of this appliance.
OPERATING INSTRUCTIONS
This appliance is available with two operating methods, namely manual control and slide control. The following instructions detail both methods of operation however the basic operation of the appliance involves the ignition of a pilot burner (See page 7 for spillage monitoring details—ODS), then the control of the main burner with LOW and HIGH settings.
This appliance has a naked flame and as with all heating appliances a fireguard should be used for the protection of children, the elderly and infirm. The fireguard should conform to BS8423 : 2002 (Fireguards or use with Gas Heating Appliances).
MANUAL CONTROL OPERATION
- Push the control knob in fully then rotate anti-clockwise to the IGN symbol
. Now press the spark generator which should cause a spark at the pilot and the pilot should ignite. If the pilot does not light rotate the control knob to the OFF position and retry. If the pilot does not light on the second attempt then return the control knob to the OFF position and wait for 3 minutes. - Once the pilot is lit keep the control knob pushed in fully for up to 30 seconds.
- Now release the control knob, the pilot should remain lit. If it goes out, wait for 3 minutes and fretum to step 1.
- To turn the appliance to the LOW setting, turn the control knob anti-clockwise to the Orme symbol.
- To turn the appliance to the HIGH setting, turn the control knob anti-clockwise to the
Wrote symbol. - It is also possible to adjust the control knob between the
and the ( flame symbols to achieve a mid setting. - To turn the fire off, press the knob slightly and turn to the IGN symbol-
(for pilot only) or symbol to tum off.
IMPORTANT NOTE: Should the spark generator fail to provide a spark at the electrode it may be that a small amount of soot has fallen from the fuel bed onto the pilot assembly, causing a short circuit. If this is the case, ensuring the appliance is off and cold, this area can be cleaned with the thin nozzle from a vacuum cleaner.
It is also possible to light the pilot burner with a long taper whilst the control knob is being held in at the IGN symbol.
SLIDE CONTROL OPERATION
- Push the control lever down fully to the IGN symbol . The spark generator should cause a repetitive spark at the pilot and the pilot and low burner should ignite. If the pilot does not light after 30 seconds then lift the control lever upwards to the OFF symbol
and wait for 3 minutes. - Once the pilot is lit keep the control lever pushed down fully for up to 10 seconds.
- Now slowly lift the control lever to the 0 symbol, the pilot should remain lit and the burner will remain in the LOW setting. If it goes out, wait for 3 minutes and fretum to step 1.
- To set the appliance to the HIGH setting, lift the control lever upwards to the Woe symbol.
- It is also possible to adjust the control knob between the
and the
( flame symbols to achieve a mid setting. - To turn the fire off, lift the lever to the symbol.
IMPORTANT NOTE: Should the spark generator fail to provide a spark at the electrode it may be that a small amount of soot has fallen from the fuel bed onto the pilot assembly, causing a short circuit. If this is the case, ensuring the appliance is off and cold, this area can be cleaned with the thin nozzle from a vacuum cleaner. Alternatively check the battery is in good condition—the battery access cover is at the base of the appliance just left of centre. (Slide models only).
It is also possible to light the pilot burner with a long taper whilst the control knob is being held in at the IGN symbol
.
FUEL BED LAYOUT (COAL)
The following instructions detail how the ceramic fuel bed and loose components are to be installed onto the appliance. Great care should be taken when handling these ceramic parts as they are fragile and can easily be broken. Do not force any component into position, if it does not fit easily then you are not fitting the part correctly. These instructions can also be followed to remove or reinstall the fuel bed after cleaning. This is a procedure that can be undertaken by the customer as required and the frequency will be depend upon use.

Step 1
Fit the fuel bed into the appliance as shown in the picture.
Step 2
Fit the rear fuel bed component as shown. 
Step 3
Fit the ceramic front rail as shown. 
Step 4
Fit the left mounded fuel piece onto the coal bed as shown.
Step 6
Fit coal A onto the fuel bed as shown.
The arrow should point towards the back of the fire.
Step 7
Fit coal B onto the fuel bed as shown . The arrow should point towards the back of the fire.
Step 8
Fit coal C onto the fuel bed as shown.
The arrow should point towards the back of the fire.
Step 9
Fit coal D onto the fuel bed as shown.
The arrow should point towards the back of the fire.
Step 10
Fit coal E onto the fuel bed as shown.
The arrow should point towards the back of the fire. 
Step 11
Fit coal F onto the fuel bed as shown.
The arrow should point towards the back of the fire. 
Step 12
Fit coal G onto the fuel bed as shown.
The arrow should point towards the back of the fire. 
Step 13
Fit coal H onto the fuel bed as shown.
The arrow should point towards the back of the fire. 
Step 14
Fit coal I onto the fuel bed as shown.
The arrow should point towards the back of the fire.
Step 15
Fit coal J onto the fuel bed as shown.
The arrow should point towards the back of the fire. 
Step 16
Fit coal K onto the fuel bed as shown.
The arrow should point towards the back of the fire. 
Step 17
Fit coal L onto the fuel bed as shown.
The arrow should point towards the back of the fire.

FUEL BED LAYOUT (PEBBLE)
The following instructions detail how the ceramic fuel bed and loose components are to be installed onto the appliance. Great care should be taken when handling these ceramic parts as they are fragile and can easily be broken. Do not force any component into position, if it does not fit easily then you are not fitting the part correctly. These instructions can also be followed to remove or reinstall the fuel bed after cleaning. This is a procedure that can be undertaken by the customer as required and the frequency will be depend upon use.
Step 1
Fit the fuel bed into the appliance as shown in the picture. 
Step 2
Fit the rear fuel bed component as shown.
Step 3
Fit the ceramic front rail as shown.
Step 4
Fit the left molded fuel piece onto the coal bed as shown.
Step 5
Fit the right molded fuel piece onto the coal bed as shown.
Step 6
Fit pebble A onto the fuel bed as shown.
The arrow should point towards the back of the fire.
Step 7
Fit pebble B onto the fuel bed as shown.
The arrow should point towards the back of the fire. 
Step 8
Fit pebble C onto the fuel bed as shown.
The arrow should point towards the back of the fire.
Step 9
Fit pebble D onto the fuel bed as shown.
The arrow should point towards the back of the fire. 
Step 10
Fit pebble E onto the fuel bed as shown.
The arrow should point towards the back of the fire. 
Step 11
Fit pebble F onto the fuel bed as shown.
The arrow should point towards the back of the fire. 
Step 12
Fit pebble G onto the fuel bed as shown.
The arrow should point towards the back of the fire. 
Step 13
Fit pebble H onto the fuel bed as shown.
The arrow should point towards the back of the fire. 
Step 14
Fit pebble I onto the fuel bed as shown.
The arrow should point towards the back of the fire.
Step 15
Fit pebble J onto the fuel bed as shown.
The arrow should point towards the back of the fire.
Step 16
Fit pebble K onto the fuel bed as shown.
The arrow should point towards the back of the fire. 
Step 17
Fit pebble L onto the fuel bed as shown.
The arrow should point towards the back of the fire.
APPLIANCE COMMISSIONING CHECKLIST
It is the installers responsibility to complete the following checklist when commissioning this appliance. The information recorded on this page may be requested at the time of any warranty call made. If the information is not made available it may affect the warranty support for the customers appliance.
| CHECK LISTS | PASS | FAIL |
| Check flue is suitable for this appliance | ||
| Check flue flow prior to installation | ||
| Check spillage are installation | ||
| Check standing gas pressure | mbar | |
| Check working pressure on full rate (Min. 18.5) Ensure all other gas appliances are running on full rate | mbar | |
| Complete relevant section of warranty forms , complete with Gas Safe registration details | ||
| Instruct the customer on lining, maintenance and servicing procedures. (Including glass removal and ceramic placement) |
| Gas Engineer Name | |
| Gas Safe Engineer Registration No | |
| Gas Safe Engineer contact No. |
If you can smell gas, immediately turn off the gas supply using the control valve at the meter in your home.
Do not smoke and turn off all sources of ignition, i.e. boilers or gas hobs. Open windows and doors to ventilate the room or building.
Call the Gas Emergency Service 0800 111 999 (England Scotland and Wales)
Position the four magnets supplied in the fitting pack to the rear face of the trim as shown below.
0800 002 002 (N. Ireland)
Fit Trim to Appliance
Fit Trim to Appliance
Position the four magnets supplied in the fitting pack to the rear face of the trim as shown below.


| Product Fiche | ||
| Manufacturer : Be Modern Ltd | ||
| Model No. | BM-02XXX1 | BM-02XXX2 |
| Fuel Type | Natural Gas 12H | Natural Gas 12H |
| Energy Efficiency Class | F | F |
| Indirect Heating Functionality | No | No |
| Direct Heat Output kW | 3.2kW | 3.2kW |
| Indirect Heat Output kW | N/A | N/A |
| EEI | 43% | 43% |
| Useful Energy Efficiency (NCV) | High : 51.9% | High : 51.9% |
| Useful Energy Efficiency (NCV) | N/A | N/A |
| Nominal Heat Output | High : 3.2kW | High : 3.2kW |
| Nominal Heat Output | Low : 1.5kW | Low : 1.3kW |
| Heat Output Temperature Control | Two Manual Stages | Two Manual Stages |
| Permanent Pilot Power (kW) | N/A | N/A |
| Space Heating Emissions NOx (GCV) | 130mg/kWh | 130mg/kWh |

| Product Fiche | ||
| Manufacturer : Be Modern Ltd | ||
| Model No. | BM-X2XXX1 | BM-X2XXX2 |
| Fuel Type | Natural Gas 12H | Natural Gas 12H |
| Energy Efficiency Class | F | F |
| Indirect Heating Functionality | No | No |
| Direct Heat Output kW | 3.5kW | 3.5kW |
| Indirect Heat Output kW | N/A | N/A |
| EEI | 48% | 48% |
| Useful Energy Efficiency (NCV) | High : 57.2% | High : 57.2% |
| Useful Energy Efficiency (NCV) | N/A | N/A |
| Nominal Heat Output | High : 3.5kW | High : 3.5kW |
| Nominal Heat Output | Low : 1.6kW | Low : 1.4kW |
| Heat Output Temperature Control | Two Manual Stages | Two Manual Stages |
| Permanent Pilot Power (kW) | N/A | N/A |
| Space Heating Emissions NOx (GCV) | 130mg/kWh | 130mg/kWh |
Important Note:
The energy efficiency class of this product is defined using a seasonal efficiency calculation which reduces the actual net efficiency of the product where the use of automated heat control, thermostats, window open sensors and timers are not used. This is not to be confused with the net efficiency, or useful efficiency of the appliance (shown in the tables above).
This product MUST be installed by a Gas Safe Registered Installer. Full details are provided in this manual.
Be Modern Ltd. Bede Industrial Estate , Arrow, Tyne & Wear, NE32 3BE
User Replaceable Parts
| Part Number | Description |
| P-XX1120A | Ceramic Coal Pack (No Front Rail) |
| P-XX1122A | Ceramic Coal Front Rail Only |
| P-XX1130A | Ceramic Pebble Pack (No Front Rail) |
| P-XX1132A | Ceramic Pebble Front Rail Only |
Be Modern Ltd
Bede Industrial Estate ,
Jarrow, Tyne & Wear, NE32 3BE
www.bemodern.com
Tel: 0191 489 8006
Fax: 0191 580 0085
Email: [email protected]
Due to our policy of con6nual product improvement, some diagrams and small details may not be accurate however if there is any concern or maar of understanding that you feel needs to be clarified please contact us directly. Our contact details are shown below.


















