MARATHON TI030007 Jumbo Display Timer with LED Alert

The Jumbo Display Timer with LED Alert is a compact and portable timer designed for home use. It features a large display screen, countdown/countup function, stopwatch function, memory function, and an alarm volume switch. The timer is powered by 2 AAA batteries and can measure up to 99 minutes and 59 seconds.
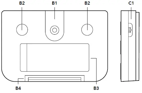
Unit Appearance
The main unit has 8 buttons:
- A1: Timer 1 (T1) Display
- A2: Countdown/countup symbol
- A3: Minute Button
- A4: Second Button
- A5: Start/Stop Button
- A6: Memory Button 1
- A7: Memory Button 2
- A8: Memory Button 3
Other parts of the unit include:
- B1: Wall Mounting Bracket
- B2: Magnets
- B3: Battery Compartment
- B4: Fold out stand
- C1: Alarm Volume Switch
Product Getting Started
Before using the timer for the first time, read the user manual carefully to familiarize yourself with the functions and parts of the timer.
Setting the Timer (Count Down Function)
- Press the A3 button to set the minutes and the A4 button to set the seconds of the desired time. Press and hold the buttons in setting mode for fast scrolling.
- A2 appears on the display.
- Press the A5 button to start the countdown process.
- During the countdown, the A2 symbol is flashing and the A5 button flashes in green.
- When the timer counts down to 0, the LED button changes fromflashing green to flashing red.
- Use the A5 button to stop and restart the counting.
- After the countdown, the A2 symbol appears on the display, the alarm (60-seconds duration) will sound and the A5 button flashes inred. The timer will start to count up the elapsed time.
- Press the A5 button to stop the counting and the alarm.
- The timer will automatically recall the last selected time.
- Press the A6 and A8 buttons at the same time to reset the timer.
Stopwatch (Count Up Function)
- Press the A6 and A8 buttons at the same time to reset the timer.
- Press the A5 button to start the count up process.
- A2 appears on the display.
- Use the A5 button to pause and restart the counting.
Memory Functions
- Press and hold A6, A7, or A8 button for 2 seconds.
- 00:00 flashes on the display.
- Press the A3 button to set the minutes and the A4 button to set the seconds to the desired time.
- Confirm the setting by pressing the corresponding A6, A7, or A8 button.
- Press the A6, A7, or A8 button to recall any of the three memory preset times.
- Press the A6 and A8 buttons at the same time to reset the timer.
Alarm Volume Setting
The switch at the right side sets the volume for the alarm. You may select from Silent (Mute), low (Lo) or high. The marking in the middle of the switch shows the selected volume.
Caring for Your Timer
- Do not subject the timer to excessive force or shock. Do not expose the timer to extreme temperatures.
Product Specifications
- Measuring range: 99 minutes and 59 seconds
- Power: 2 AAA batteries
- Net weight: 2.4 oz / 91 g
- Dimensions: 3.5 W X 0.8 D X 2.4 H / 9 cm W x 2 cm D x 6 cm
Product UNIT APPEARANCE
Main Unit

- A1: Timer 1 (T1) Display
- A2: Countdown/countup symbol

- A3: Minute Button MIN
- A4: Second Button SEC
- A5: Start/Stop Button

- A6: Memory Button 1 M1
- A7: Memory Button 2 M2
- A8: Memory Button 3 M3
Back

- B1: Wall Mounting Bracket
- B2: Magnets
- B3: Battery Compartment
- B4: Fold out stand
Side
- C1: Alarm Volume Switch
BEFORE FIRST USE
Please read the instruction manual carefully. This information will help to familiarize you with your new timer, learn all of its functions and parts, find out important details about its first use and how to operate it, and get advice in the event of faults.
FEATURES
- Count up and count down timer.
- Three Memory settings.
- Timing up to 99 minutes and 59 seconds.
- LED alert that switches from green to red.
- Three alarm volume levels.
- Multiple placement options: magnet, table stand or wall mount.
GETTING STARTED
- Pull off the protective film from the display.
- Insert two AAA batteries according to marked polarity in the battery compartment.
- The LCD panel will light up for a few seconds.
- The timer is now ready to use.
SETTING THE TIMER
(COUNT DOWN FUNCTION)
- Push the MIN button to set the minutes and the SEC button to set the seconds of the desired time. Press and hold the buttons in setting mode for fast scrolling.
appears on the display.- Push the
button to start the countdown process. - During the countdown, the
is flashing and the
button flashes in green.- NOTE: When timer counts down to 0, the LED button changes from flashing green to flashing red.
- Use the
button to stop and restart the counting. - After the countdown, the
appears on the display, the alarm (60-seconds duration) will sound and the
button flashes in red. The timer will start to count up the elapsed time. - Press the button to stop the counting and the alarm.
- The timer will automatically recall the last selected time.
- Push the and buttons at the same time to reset the timer.
STOPWATCH (COUNT UP FUNCTION)
- Push the MIN and SEC buttons at the same time to reset the timer.
- Push the
button to start the count up process.
appears on the display.- Use the
button to pause and restart the counting.
MEMORY FUNCTIONS
- Press and hold M1, M2 or M3 button for 2 seconds.
- 00:00 flashes on the display.
- Push the MIN button to set the minutes and the SEC button to set the seconds to the desired time.
- Confirm the setting by pressing the corresponding M1, M2 or M3 button.
- Press the M1, M2 or M3 button to recall any of the three memory preset times.
- Push the MIN and SEC buttons at the same time to reset the timer.
ALARM VOLUME SETTING
- The Switch at the right side sets the volume for the alarm.
- You may select from Silent (Mute), low (Lo) or high.
- The marking in the middle of the switch shows the selected volume.
CARING FOR YOUR TIMER
The product is intended for home use only.
- Do not subject the timer to excessive force or shock.
- Do not expose the timer to extreme temperatures, direct sunlight, dust, or moisture. Any of these may damage the timer.
- Avoid contact with corrosive materials. Do not clean the device using abrasive or corrosive materials or products. Abrasive cleaning agents may scratch the plastic parts and corrode the electronic circuits.
- Do not tamper with any of the internal components of this timer. This will void the warranty and may cause damage to the components.
- Remove batteries if you will not be using the timer for a lengthy period of time.
SPECIFICATIONS
- Measuring range: 99 minutes and 59 seconds
- Power: 2 AAA batteries
- Net weight: 2.4 oz / 91 g
- Dimensions: 3.5” W X 0.8” D X 2.4” H
- 9 cm W x 2 cm D x 6 cm H
Our Products contain high quality components and are designed to facilitate recycling. Our products or product packaging are marked with the symbol below. The symbol indicates that the product must not be treated as municipal waste. It must be disposed of separately via the appropriate return and collection systems available. By following these instructions you ensure that this product is treated correctly and help to reduce potential impacts on the environment and human health, which could otherwise result from inappropriate handling. Recycling of products helps to conserve natural resources and protect the environment. For more detailed information on collection and recycling systems for this product, please contact the shop where you purchased it, your local dealer or sales / service representatives.
Warranty
- 2 year warranty
Marathon Watch Company Ltd.
- Customer Service: / Service Clients : www.MarathonWatch.com
Designed in Canada
Made in China
VER 1.1


















