POWERMATIC PF- Series 4-Speed Stock Feeders

Warranty and Service
Powermatic® warrants every product it sells against manufacturers’ defects. If one of our tools needs service or repair, please contact Technical Service by calling 1-800-274-6846, 8AM to 5PM CST, Monday through Friday.
Warranty Period
The general warranty lasts for the time period specified in the literature included with your product or on the official Powermatic branded website.
- Powermatic products carry a limited warranty which varies in duration based upon the product. (See chart below)
- Accessories carry a limited warranty of one year from the date of receipt.
- Consumable items are defined as expendable parts or accessories expected to become inoperable within a reasonable amount of use and are covered by a 90 day limited warranty against manufacturer’s defects.
Who is Covered
This warranty covers only the initial purchaser of the product from the date of delivery.
What is Covered
This warranty covers any defects in workmanship or materials subject to the limitations stated below. This warranty does not cover failures due directly or indirectly to misuse, abuse, negligence or accidents, normal wear-and-tear, improper repair, alterations or lack of maintenance. Powermatic woodworking machinery is designed to be used with Wood. Use of these machines in the processing of metal, plastics, or other materials outside recommended guidelines may void the warranty. The exceptions are acrylics and other natural items that are made specifically for wood turning.
Warranty Limitations
Woodworking products with a Five Year Warranty that are used for commercial or industrial purposes default to a Two Year Warranty. Please contact Technical Service at 1-800-274-6846 for further clarification.
How to Get Technical Support
Please contact Technical Service by calling 1-800-274-6846. Please note that you will be asked to provide proof of initial purchase when calling. If a product requires further inspection, the Technical Service representative will explain and assist with any additional action needed. Powermatic has Authorized Service Centers located throughout the United States. For the name of an Authorized Service Center in your area call 1-800-274-6846 or use the Service Center Locator on the Powermatic website.
More Information
Powermatic is constantly adding new products. For complete, up-to-date product information, check with your local distributor or visit the Powermatic website.
How State Law Applies
This warranty gives you specific legal rights, subject to applicable state law.
Limitations on This Warranty
POWERMATIC LIMITS ALL IMPLIED WARRANTIES TO THE PERIOD OF THE LIMITED WARRANTY FOR EACH PRODUCT. EXCEPT AS STATED HEREIN, ANY IMPLIED WARRANTIES OF MERCHANTABILITY AND FITNESS FOR A PARTICULAR PURPOSE ARE EXCLUDED. SOME STATES DO NOT ALLOW LIMITATIONS ON HOW LONG AN IMPLIED WARRANTY LASTS, SO THE ABOVE LIMITATION MAY NOT APPLY TO YOU. POWERMATIC SHALL IN NO EVENT BE LIABLE FOR DEATH, INJURIES TO PERSONS OR PROPERTY, OR FOR INCIDENTAL, CONTINGENT, SPECIAL, OR CONSEQUENTIAL DAMAGES ARISING FROM THE USE OF OUR PRODUCTS. SOME STATES DO NOT ALLOW THE EXCLUSION OR LIMITATION OF INCIDENTAL OR CONSEQUENTIAL DAMAGES, SO THE ABOVE LIMITATION OR EXCLUSION MAY NOT APPLY TO YOU. Powermatic sells through distributors only. The specifications listed in Powermatic printed materials and on the official Powermatic website are given as general information and are not binding. Powermatic reserves the right to effect at any time, without prior notice, those alterations to parts, fittings, and accessory equipment which they may deem necessary for any reason whatsoever.
Product Listing with Warranty Period
| 90 Days – Parts; Consumable items |
| 1 Year – Motors, Machine Accessories |
| 2 Year – Woodworking Machinery used for industrial or commercial purposes |
| 5 Year – Woodworking Machinery |
WARNINGS
- Read and understand the entire owner’s manual before attempting assembly or operation.
- Read and understand the warnings posted on the machine and in this manual. Failure to comply with all of these warnings may cause serious injury.
- Replace the warning labels if they become obscured or removed.
- This stock feeder is designed and intended for use by properly trained and experienced personnel only. If you are not familiar with the proper and safe operation of a stock feeder, do not use until proper training and knowledge have been obtained.
- Do not use this stock feeder for other than its intended use. If used for other purposes, Powermatic disclaims any real or implied warranty and holds itself harmless from any injury that may result from that use.
- Always wear approved safety glasses/face shields while using this stock feeder. Everyday eyeglasses only have impact resistant lenses; they are not safety glasses.
- Before operating this stock feeder, remove tie, rings, watches and other jewelry, and roll sleeves up past the elbows. Remove all loose clothing and confine long hair. Non-slip footwear or anti-skid floor strips are recommended. Do not wear gloves.
- Wear ear protectors (plugs or muffs) during extended periods of operation.
- Do not operate this machine while tired or under the influence of drugs, alcohol or any medication.
- Make certain the switch is in the OFF position before connecting the machine to the power supply.
- Make certain the machine is properly grounded.
- Make all machine adjustments or maintenance with the machine unplugged from the power source.
- Remove adjusting keys and wrenches. Form a habit of checking to see that keys and adjusting wrenches are removed from the machine before turning it on.
- Keep safety guards in place at all times when the machine is in use. If removed for maintenance purposes, use extreme caution and replace the guards immediately upon completion of maintenance.
- Make sure the stock feeder is firmly secured to an auxiliary machine before use.
- Check damaged parts. Before further use of the machine, a guard or other part that is damaged should be carefully checked to determine that it will operate properly and perform its intended function. Check for alignment of moving parts, binding of moving parts, breakage of parts, mounting and any other conditions that may affect its operation. A guard or other part that is damaged should be properly repaired or replaced.
- Provide for adequate space surrounding work area and non-glare, overhead lighting.
- Keep the floor around the machine clean and free of scrap material, oil and grease.
- Keep visitors a safe distance from the work area. Keep children away.
- Make your workshop child proof with padlocks, master switches or by removing starter keys.
- Give your work undivided attention. Looking around, carrying on a conversation and “horse-play” are careless acts that can result in serious injury.
- Maintain a balanced stance at all times so that you do not fall or lean against moving parts. Do not overreach or use excessive force to perform any machine operation.
- Use the right tool at the correct speed and feed rate. Do not force a tool or attachment to do a job for which it was not designed. The right tool will do the job better and safer.
- Use recommended accessories; improper accessories may be hazardous.
- Maintain tools with care. Keep tools sharp and clean for the best and safest performance. Follow instructions for lubricating and changing accessories.
- Disconnect from power both the stock feeder and the auxiliary machine before cleaning. Use a brush or compressed air to remove chips or debris — do not use your hands.
- Do not stand on the machine. Serious injury could occur if the machine tips over.
- Never leave the feeder or auxiliary machine running unattended. Turn the power off and do not leave the machine until it comes to a complete stop.
- Remove loose items and unnecessary work pieces from the area before starting the machine.
WARNING: This product can expose you to chemicals including lead and cadmium which are known to the State of California to cause cancer and birth defects or other reproductive harm, and mercury which is known to the State of California to cause birth defects or other reproductive harm. For more information go to http://www.p65warnings.ca.gov.
WARNING: Drilling, sawing, sanding or machining wood products generates wood dust and other substances known to the State of California to cause cancer. Avoid inhaling dust generated from wood products or use a dust mask or other safeguards for personal protection. Wood products emit chemicals known to the State of California to cause birth defects or other reproductive harm. For more information go to http://www.p65warnings.ca.gov/wood.
Familiarize yourself with the following safety notices used in this manual:
This means that if precautions are not heeded, it may result in minor injury and/or possible machine damage. This means that if precautions are not heeded, it may result in serious injury or possibly even death.
Introduction
This manual is provided by Powermatic covering the safe operation and maintenance procedures for the Model PF-31 (single phase), PF-33 (three phase), PF-41 (single phase) and PF-43 (three phase) Stock Feeders. This manual contains instructions on installation, safety precautions, general operating procedures, maintenance instructions and parts breakdown. This machine has been designed and constructed to provide consistent, long-term operation if used in accordance with instructions set forth in this manual. If there are any questions or comments, please contact either your local supplier or Powermatic. Powermatic can also be reached at our web site: www.powermatic.com.
Description
The PF-series Stock Feeders have a continuous-duty motor and lubricated gearbox that transmit power to the roller chain and sprockets to feed rollers, providing superior positive feeding for all types of materials. The support column is fully adjustable with universal joints, and heavy locking mechanisms secure the feeder in horizontal, vertical or angled positions.
Specifications
- Model Number …………………………………………………………………PF-31, PF-33 …………………….. PF-41, PF-43
- Stock Number (1Ph, 115V) …………………………………………………… 1790807K ………………………….. 1790812K
- Stock Number (3PH, 230V)…………………………………………………… 1790800K ………………………….. 1790811K
- Stock Number (3Ph, 460V) …………………………………………………… 1790810K …………………………………….. na
- Height with handle (in.) ……………………………………………………………… 29-1/2 ……………………………….. 29-1/2
- Width (in.) ……………………………………………………………………………………… 18 ……………………………….. 23-1/2
- Length – with handle and arm fully extended (in.) …………………………. 43-1/4 ……………………………….. 43-1/4
- Column Diameter (in.) …………………………………………………………………. 2-1/4 …………………………………. 2-1/4
- Feed Rollers (Dia. x W) (in.)…………………………………… 4-3/4 x 2-3/8 (Qty. 3) …………… 4-3/4 x 2-3/8 (Qty. 4)
- Rotation …………………………………………………………………… Forward/Reverse ……………….. Forward/Reverse
- Number of Speeds …………………………………………………………………………… 4 ………………………………………. 4
- Range of Speeds (FPM) ……………………………………… 13, 26, 33, 66 (PF-33) ………… 13, 26, 33, 66 (PF-43) 13, 36, 43, 108 (PF-31) 13, 36, 43, 108 (PF-41)
- Distance Between Wheels –Center to Center (in.) …………………. 5.07 – 5.90 …………………….. 5.23 – 5.93 – 5
- Swing (deg.) ………………………………………………………………………………… 360 …………………………………… 360
- Vertical Movement (in.) ……………………………………………………………….. 9-3/4 …………………………………. 9-3/4
- Horizontal Movement (in.) …………………………………………………………… 18.07 ………………………………… 18.07
- Maximum Height of Rollers Parallel to Tabletop (in.) ………………………. 8-1/2 …………………………………. 8-1/2
- Rollers Vertical Suspension Travel, Approx. (in.) …………………………….. 9/16 ………………………………….. 9/16
- Motor ……………………………………………………………………… TEFC, 1HP, 60Hz ………………. TEFC, 1HP, 60Hz
- Approximate Net Weight (lbs.) ……………………………………………………….. 134 …………………………………… 150
- Approximate Shipping Weight (lbs.) ………………………………………………… 143 …………………………………… 158
The above specifications were current at the time this manual was published, but because of our policy of continuous improvement, Powermatic reserves the right to change specifications at any time and without prior notice, without incurring obligations.
Features and Terminology

Unpacking
Open both cartons and check for shipping damage. Report any damage immediately to your distributor and shipping agent. Do not discard any shipping material until the Stock
Feeder is assembled and running properly. Compare the contents of the cartons with the following parts list to make sure all parts are intact. Missing parts, if any, should be reported to your distributor. Read the instruction manual thoroughly for assembly, maintenance and safety instructions.
Contents of the Shipping Container
Carton #1:
- 1 Stock Feeder
- 1 Grease Gun (grease not included – follow instructions on its packaging to fill)
- 1 Boring Template
- 1 Owner’s Manual (not shown)
- 1 Warranty Card (not shown)
Carton #2:
- 1 Feeder Mounting Assembly
- 1 Handle
- 1 Over Arm
- 1 Over Arm Cone Assembly
- 4 Hex Cap Screws, M12x50 (not shown)
- 4 Spring Washers, M12 (not shown)
WARNING: Read and understand the entire contents of this manual before attempting set-up or operation! Failure to comply may cause serious injury.

Assembly
Tools needed for assembly (not provided):
- Electric drill center punch and hammer 10.5mm drill bit M12 x P1.75 tap 12mm, 14mm and 19mm wrenches 5mm hex wrench
- Hardware needed for assembly: 4 M12 spring washers 4 M12 x P1.75 hex cap screws (length will depend upon thickness of table)
- Exposed metal areas of the stock feeder have been factory coated with a protectant. This should be removed with a soft cloth and a cleaner/degreaser. Do not use gasoline, acetone, lacquer thinner or other highly flammable substances for this purpose. Avoid getting solvents near plastic or rubber parts, and do not use an abrasive pad because it may scratch metal surfaces. The stock feeder should be mounted securely to an auxiliary machine in a well-lighted area. Leave enough space around the work area for loading and off-loading stock and general maintenance.
The stock feeder and the auxiliary machine to which you are mounting it should both be disconnected from power during installation. Refer to pages 14 through 16 for help in placing the stock feeder on a shaper, table saw or jointer.
- Rest the feeder mounting assembly on the table of the auxiliary machine to determine the mounting location. (Figure 3 shows it being mounted to a table saw). Keep in mind the length of the over arm, so that after it is connected to the feeder mounting assembly it will have enough adjustment for positioning the stock feeder where needed. Mark the table if needed to identify the position.

IMPORTANT: Locate the feeder mounting assembly so that you will not drill through ribs or supports beneath the table surface. - Remove the feeder mounting assembly from the table. Find the boring template that was provided with your stock feeder, and identify the centerline spacing for the holes in the column base for your particular model.
- Clean the table surface, then peel away the backing from the boring template in increments, as you carefully apply the boring template onto the table.
- Center punch and drill four 10.5mm diameter holes in the table surface, then tap the holes with M12 x P1.75 threads.
- Peel off the boring template and discard.
- Place the column base in position (Figure 4), and align the four holes in the column base with the holes in the table. Position the column base so that its locking handle will be in a convenient position.
- Insert four M12x50 hex cap screws with four M12 spring washers through the holes in the stand. See Figure 4.
- Tighten the four screws firmly with a wrench.
- Install the small handle into the hole in the elevating handle (Figure 5). Screw the small handle into the hole, then tighten the hex nut down against the elevating handle using a 14mm wrench.

- The small handle should still be able to rotate freely. If it does not, loosen the hex nut, back off the socket head cap screw with a 5mm hex wrench as shown, then retighten the hex nut.
- Remove the screw from below the bracket, then remove the handwheel (Figure 6).
- Slide the end of the over arm that has the rack extending all the way to the edge, into the bracket (Figure 7). NOTE: The rack will slide through the slot inside the bracket.
- Re-install handwheel, then reinstall screw (Figure 6). Make sure the rack of the overarm meshes properly with the pinion on the handwheel shaft. The over arm can now be moved simply by rotating the handwheel.

- Place the sleeve of the over arm cone assembly onto the over arm as shown in Figure 8. Loosen further the two hex cap screws if needed. Push the cone assembly onto the over arm as far as it will go.
- Tighten the two hex cap screws (Figure 8) with a 14mm wrench. The stock feeder is heavy. The use of an assistant may be necessary.

- Place the stock feeder on the table surface, and lower the over arm so that the clamp is positioned to accept the stock feeder. (see “Basic Feeder Movements”, page 12, for instructions on positioning the over arm.)
- Mounting the feeder body may be easier if you loosen the two hex cap screws (shown in Figure 8) and rotate the over arm cone assembly so that the clamp is toward the bottom, as shown in Figure 9. Loosen the handles and rotate the cones as needed to get the clamp in position. Re-tighten the screws and handles before mounting the feeder body.
- Unscrew the bolt and the handle (Figure 9) from the clamp, and remove the outer half of the clamp.
- Position the neck of the stock feeder into the inner half of the clamp, then attach the outer half of the clamp. Re-install the bolt and handle and tighten both of them graduallyand in turns, until the clamp is evenly tight over the stock feeder neck.
NOTE: The seam between the two halves of the clamp will not close entirely.
The handle (Figure 9) is adjustable. To tighten it, rotate the handle clockwise, then lift out on the handle, rotate it counterclockwise on the pin and release it, making sure it re-seats itself on the pin. Continue this procedure until tight. (This adjustable feature allows the handle to be re-positioned at any time while remaining tight.)

Grounding Instructions
Electrical connections must be made by a qualified electrician in compliance with all relevant codes. This machine must be properly grounded to help prevent electrical shock and possible fatal injury.
The PF-series Feeders are available in voltages ranging from 115 to 460, depending on the model you purchased. Make sure the voltage of your power supply matches the specifications on the motor plate of the stock feeder. The Stock Feeder is not supplied with an electrical plug. You may either connect an appropriate UL/CSA listed plug, or “hard-wire” the machine directly to a service panel. If the stock feeder is to be hard-wired to a panel, make sure a disconnect is available for the operator. Also make sure the fuses have been removed or the breakers have been tripped in the circuit to which the stock feeder will be connected. Place a warning placard on the fuse holder or circuit breaker to prevent it being turned on while the machine is being wired.
The stock feeder must comply with all local and national codes after being wired. This machine must be grounded. In the event of a malfunction or breakdown, grounding provides a path of least resistance for electric current, to reduce the risk of electric shock to the operator. Improper connection of the equipment-grounding conductor can result in a risk of electric shock. The conductor, with insulation having an outer surface that is green with or without yellow stripes, is the equipment-grounding conductor. If repair or replacement of the electric cord or plug is necessary, do not connect the equipmentgrounding conductor to a live terminal.
Extension Cords
If an extension cord is necessary, make sure the cord rating is suitable for the amperage listed on the machine’s motor plate. An undersize cord will cause a drop in line voltage resulting in loss of power and overheating. The chart in Figure 10 shows the correct size cord to use based on cord length and motor plate amp rating. If in doubt, use the next heavier gauge. The smaller the gauge number the heavier the cord.
Adjustments
Basic Feeder Movements Refer to Figure11.
To raise or lower the over arm, loosen handle (A) and rotate elevating handle (B). When adjustment is complete, re-tighten handle (A). To move the over arm forward or back, loosen handle (C) and rotate handwheel (D). When adjustment is complete, re-tighten handle (C). To swing the over arm across the table, loosen handle (E) and swing the over arm to desired position. Re-tighten handle (E) before operating the stock feeder. To rotate the cones to help position the feeder, loosen handles (F). Tighten handles when adjustment is complete. To rotate the stock feeder on its vertical axis, loosen handle (G) just enough that the stock
feeder will freely rotate. Re-tighten handle (G) before operating the stock feeder.
Edgewise Stock Feeder Position
The stock feeder can be turned “edgewise” so that the feed is along the side of the workpiece. This is useful when edging stock on a shaper or jointer. The position is achieved using a combination of cone rotations, as shown in Figure 12.
Speed Selection
The stock feeder has four speeds, or feed rates: 13, 26, 33 and 66 FPM for the 3-Phase models; and 13, 36, 43 and 108 FPM for the 1-Phase models. These speeds are achieved by a combination of gear position and the setting of the control switch.
WARNING: Disconnect stock feeder from power source before opening the back cover or switching gears.
To change the position of the gears:
- Disconnect machine from power source.
- Unscrew the two knobs and pull off the back cover to expose the gear system, shown in Figure 13.
- Remove hex nuts and flat washers (A, Figure 13) with a 14mm wrench.
- Figure 14 shows the relationship of gear position to create each of the four speeds. A similar chart is affixed to the inside of the back cover on the Stock Feeder.
- Install new gear configuration, making sure the notch in each gear slides into the keyway of the shaft. Push the gears as far as they will go onto the shafts.
- Install flat washer and hex nut (A, Figure 13) on each shaft, and tighten.
- Re-install back cover and tighten knobs.

Operating Controls
The control switch for 3-phase units is shown in Figure 15; the control switches for 1-phase units are shown in Figure 16. Speeds are indicated by the universal symbols of hare (high speed) and tortoise (low speed). The switch can be turned for either forward or reverse direction.
WARNING: If a jam should occur while feeding a workpiece, DO NOT turn the stock feeder to reverse while the auxiliary machine is still running in forward direction. If a workpiece becomes jammed, turn off the stock feeder, and then turn off the auxiliary machine. Raise the stock feeder in order to clear the workpiece. Then re-set the feeder height, turn on auxiliary machine and stock feeder, and begin the feed over again.
Operation
IMPORTANT: Before operating the stock feeder, you should be thoroughly familiar with the safety and operating instructions that accompanied the auxiliary machine. Keep hands away from rollers and cutting tool during operation. Failure to comply may cause injury

General Operating Instructions
- Make sure all handles on the stock feeder and the feeder mounting assembly are tight before operating.
- The stock feeder should be used in conjunction with a fence on your auxiliary machine. The fence should be securely fixed.
- The rollers must grip the offcut, as well as the part of the workpiece still being fed. Also, the rollers should be set parallel to the table or fence for proper feed.
- On some machines, such as a shaper or jointer, the stock feeder can be mounted so that the rollers exert pressure from the top, or mounted edgewise so that the rollers exert pressure from the side, or mounted at an intermediate angle for beveled workpieces.
- The feed rollers have a spring suspension which will exert the necessary pressure against the workpiece. This pressure increases automatically with feed resistance, so that a workpiece of varying thickness can be fed through the stock feeder without adjustments.
- When used in horizontal position, the stock feeder should be adjusted for height so that the distance between the table and the feed rollers is approximately 1/8” (3mm) less than the thickness of the workpiece. See Figure 17.

- Shaping hardwood with the stock feeder may increase the friction between workpiece and table. Keep the work table rust-free and smooth, by using paste wax or other necessary means.
- Various configurations are possible with your Stock Feeder, depending upon your auxiliary machine and the type of work being done. What is important is that the feeder is positioned in the most effective and safest manner for the work being done.
WARNING: Although the stock feeder when properly used will greatly reduce the chance of workpiece kickback, there is still a potential for kickback. Never stand directly in the path of the workpiece as it passes under the stock feeder rollers.
When Used with a Shaper
- The gap between the fences for the cutter should be as small as possible
- To ensure that the workpiece is held firmly against the fence, set the stock feeder at a slight angle toward the fence in the direction of feed. In other words, the outfeed roller should be approximately 3/16” (5mm) closer to the fence than the infeed roller. See Figure 18.
- When the Stock Feeder is in edgewise position, it must be inclined slightly towards the work table in the direction of feed, to ensure the workpiece remains forced down against the table. In other words, the outfeed roller should be approximately 3/16” closer to the work table than the infeed roller. See Figure 19.
- When the Stock Feeder is in the edgewise position, or angled for a beveled workpiece, the axis of the cutter should be between the infeed roller and the center roller (between the two center rollers on the 4-roller model). See Figure 19. The center roller should NOT be directed toward the opening between the fences, but should act directly against the fence.
- When mounting the Stock Feeder in edgewise position, keep in mind the spring tension of the rollers. The distance between the shaper fence and the feed rollers should be approximately 1/8” (3mm) less than the thickness of the workpiece (refer to Figure 17).

When Used with a Table Saw
- Position the 3-roller stock feeder so that the axis of the saw blade lines up between the center roller and outfeed roller. (See Figure 20.) Position the 4-roller stock feeder so that the axis of the saw blade lines up between the center wheels. These positions will allow the Stock Feeder to grip the offcut of the workpiece as it leaves the blade.
- Rotate the Stock Feeder so that the direction of feed is angled slightly toward the fence by approximately 3/16” (5mm); that is, the outfeed roller should be slightly closer to the fence than the infeed roller. See Figure 20.

When Used with a Jointer
- Mount the 3-roller stock feeder on a jointer so that the cutterhead is between the outfeed roller and the center roller (Figure 21). The 4-roller stock feeder can be positioned so that the cutterhead is between the center rollers
- Some woodworkers prefer to place the feeder so that all rollers are over the outfeed table, as shown in Figure 22. The infeed roller should be approximately 3/16” away from the lip of the outfeed table at the cutterhead area.
- Rotate the Stock Feeder so that the direction of feed is angled slightly toward the fence by approximately 3/16” (5mm); that is, the outfeed roller should be slightly closer to the fence than the infeed roller. See Figures 21 and 22.

Roller Removal/Replacement
If a feed roller becomes worn or damaged it is easily replaced. Also, if more clearance is needed between rollers, the center roller can be removed.
- To remove a roller, lower the stock feeder until it contacts the table of the auxiliary machine – this will give you purchase for loosening the screws with a 5mm hex wrench. When the screws are loose, raise the feeder off the table to continue removing the roller(s). There are four screws in each roller: the two short screws unite the halves of the roller hub; the two long screws secure the roller assembly to the feeder. You only need to remove the two long screws to remove the roller assembly.
NOTE: Replacement roller assemblies may have a one-piece hub, and thus the two short screws will no longer be needed.) See Figure 23.
- When a roller assembly is re-mounted to the stock feeder, make sure all screws are tight.
Maintenance
Before any intervention on the machine, disconnect it from the electrical supply by pulling out the plug or switching off the main switch. Failure to comply may cause serious injury. If the power cord is worn, cut, or damaged in any way, have it replaced immediately. The rubber tires on the rollers should be kept clean of grease, sawdust and other debris. Use a soft cloth with soap and water to wipe down the tires. DO NOT use a solvent on the rubber tires. The mating parts of the cones should be kept clean. See Figure 24. When disassembling any of the cones, wipe off both mating parts with a clean rag before re-assembling.
NOTE: These cones are subject to high torque and it may be necessary to periodically retighten the handle until the cone surfaces become securely seated. Exposed metal areas, such as the column and the over arm, should be kept clean and free of rust.
Lubrication
Oil Reservoir
Open the oil cap (shown in Figure 25). The oil level should be approximately 1-1/2” deep; that is, about 1” from the rim of the hole. Periodically check the oil level and top off as needed with 90 weight gear oil. Completely drain and refill the oil every 1,000 working hours, or every 6 months.
To change the oil:
- Remove the feeder body from the clamp.
- Unscrew and remove the oil cap (shown in Figure 25) and turn the feeder body upside down to completely drain the oil.
(NOTE: Always dispose of used oil properly.)
- Turn feeder body right side up, and pour new oil into the fill hole, until it is about 1” from the rim.
- Re-install the oil cap (Figure 25).
Rollers
NOTE: Grease is not provided with the grease gun. To fill the grease gun, follow the instructions on its package. Each of the rollers has a grease fitting located in the hub center, as shown in Figure 26. Use the provided grease gun to insert a good quality, allpurpose grease into these fittings every 200 working hours, or every 30 days.
Also insert grease into the fitting on each tip of the sprocket shafts, which are located inside the housing cover as shown in Figure 27.
Chains
Lubricate the drive chains (shown in Figure 13) with good quality all-purpose grease every 3 months, or more frequently if needed.
Elevating Screw
Occasionally apply a light coat of grease to the elevating screw of the vertical column (identified in Figure 1 on page 7).
Troubleshooting
| Trouble | Probable Cause | Remedy |
|
Feeder will not start. | Not connected to power source. | Check power connections. |
| Fuse blown, or circuit breaker tripped. | Replace fuse, or reset circuit breaker. | |
| Cord damaged. | Replace cord. | |
| Starting capacitor is malfunctioning. | Replace starting capacitor. | |
|
Feed rate is not sufficient; machine has low power. | Gears installed incorrectly for the desired feed rate. | Install gears in proper position. See Figure 14. |
| Extension cord too light or too long. | Replace with adequate size and length cord. See Figure 10. | |
| Low current from electrical supply. | Contact a qualified electrician. | |
| Workpiece jams or moves sluggishly while passing beneath rollers. | Rollers too low. | Raise feeder. |
| Workpiece slips while passing under rollers. | Rollers too high, no traction. | Lower feeder. |
| Grease or debris on rubber tires. | Clean tires. |
Replacement Parts
Replacement parts are listed on the following pages. To order parts or reach our service department, call 1-800-274-6848 Monday through Friday, 8:00 a.m. to 5:00 p.m. CST. Having the Model Number and Serial Number of your machine available when you call will allow us to serve you quickly and accurately. Non-proprietary parts, such as fasteners, can be found at local hardware stores, or may be ordered from Powermatic. Some parts are shown for reference only, and may not be available individually.
PF-31/33 Feeder Body

Parts List: PF-31/33 Feeder Body
Index No. Part No. Description Size Qty
…………….. 2192188 ………………. PF-31 Feeder Body (1Ph, 115V, 4 speed) ………. ………………………………..
…………….. 2192187 ………………. PF-33 Feeder Body (3Ph, 230V, 4 speed) ………. ………………………………..
…………….. 2192189 ………………. PF-33 Feeder Body (3PH, 460V, 4 speed) ………. ………………………………..
1 …………… 6289074 ………………. Grease Gun…………………………………………………. ……………………………… 1
2 …………… 6289211 ………………. Grease Fitting………………………………………………. ……………………………… 3
3 …………… 6289212 ………………. Roller Hub Spring …………………………………………. ……………………………… 3
4 …………… 6288938A …………….. Tube …………………………………………………………… ……………………………… 3
5 …………… 6289125A …………….. Sprocket Shaft …………………………………………….. ……………………………… 2
6 …………… JPF3-041A …………… Case Cover …………………………………………………. ……………………………… 3
7 …………… 6288750 ………………. Socket Head Cap Screw ……………………………….. M8 x 1.25P x 40Lg …… 6
8 …………… 6288764 ………………. Star Washer ………………………………………………… M8 ……………………….. 12
9 …………… 6289116 ………………. Rollers – set of 3 only …………………………………… Ø120 x 60mm …………. 1
…………….. 6288959 ………………. Roller (individual) …………………………………………. Ø120 x 60mm …………. 3
10 …………. 6288749 ………………. Socket Head Cap Screw ……………………………….. M8 x 20 Lg ……………… 6
11 …………. 6289129 ………………. Grease Nipple ……………………………………………… ……………………………… 3
12 …………. 6289130 ………………. Shaft …………………………………………………………… ……………………………… 3
13 …………. 6289121 ………………. Roller Supporter …………………………………………… ……………………………… 3
14 …………. 6288949 ………………. Chain Kit ……………………………………………………… 26S ………………………… 3
15 …………. 6288944 ………………. Sprocket ……………………………………………………… ……………………………… 3
16 …………. 6289122 ………………. Star Washer ………………………………………………… M6 …………………………. 6
17 …………. 6289123 ………………. Cap Screw…………………………………………………… M6 x 1.0P x 16 Lg ……. 6
18 …………. 6288751A …………….. Sprocket Case (PF-31/33) …………………………….. ……………………………… 3
19 …………. 6289131 ………………. Lock Washer ……………………………………………….. M12 ……………………….. 3
21 …………. 6289126A …………….. Sprocket Shaft …………………………………………….. ……………………………… 1
24 …………. 6289228 ………………. Frame …………………………………………………………. 4SP 1Ph …………………. 1
…………….. 6289229 ………………. Frame …………………………………………………………. 4SP 3Ph …………………. 1
25 …………. 6289139 ………………. Back Cover………………………………………………….. ……………………………… 1
26 …………. 6289136 ………………. Set Screw ……………………………………………………. M6 x 1.0P x 10Lg …….. 3
27 …………. 6288980 ………………. Oil Cap ……………………………………………………….. ……………………………… 1
28 …………. 6288979 ………………. “O” Ring ……………………………………………………… ……………………………… 1
29 …………. 6288955 ………………. Snap Ring …………………………………………………… Ø26mm ………………….. 3
30 …………. 6288954 ………………. Chain ………………………………………………………….. 40S ………………………… 2
31 …………. 6288975 ………………. Chain ………………………………………………………….. 62S ………………………… 1
32 …………. 6289092 ………………. Sprocket w/Key ……………………………………………. ……………………………… 2
33 …………. 6288958 ………………. Snap Ring …………………………………………………… Ø15mm ………………….. 2
37 …………. 6289093 ………………. Sprocket w/Key ……………………………………………. ……………………………… 2
38 …………. 6289097 ………………. Gear …………………………………………………………… 40T ………………………… 1
39 …………. 6289127 ………………. Lock Washer ……………………………………………….. M12 ……………………….. 1
40 …………. 6289128 ………………. Nut ……………………………………………………………… M12 x 1.75 ……………… 1
41 …………. 6289201 ………………. Bushing ………………………………………………………. ……………………………… 1
42 …………. 6289197 ………………. Gear …………………………………………………………… ……………………………… 1
43 …………. 6288965 ………………. Bearing ……………………………………………………….. #6203 …………………….. 1
44 …………. 6288969 ………………. Oil Seal ……………………………………………………….. ……………………………… 1
45 …………. 6289146 ………………. Cap Screw…………………………………………………… M5 x 0.8P x 16Lg …….. 4
46 …………. 6289096 ………………. Gear w/Key …………………………………………………. 25T ………………………… 1
47 …………. 6289140 ………………. Knob Assembly ……………………………………………. ……………………………… 2
48 …………. 6289198 ………………. Nut ……………………………………………………………… M12 x 1.75 ……………… 1
49 …………. 33-6004-00-2 ……….. Spring Washer …………………………………………….. M12 ……………………….. 1
50 …………. 6289145 ………………. Cover ………………………………………………………….. ……………………………… 1
51 …………. 6289144 ………………. “O” Ring ……………………………………………………… ……………………………… 1
52 …………. 6289205 ………………. Bushing ………………………………………………………. ……………………………… 1
53 …………. 6289204 ………………. Gear …………………………………………………………… 17T ………………………… 1
54 …………. 6289202 ………………. Gear …………………………………………………………… 38T ………………………… 1
55 …………. 6289203 ………………. Gear …………………………………………………………… 31T ………………………… 1
58 …………. 6289061 ………………. Gear …………………………………………………………… 34T ………………………… 1
59 …………. 6289142 ………………. Shaft …………………………………………………………… ……………………………… 1
60 …………. 6289058 ………………. Clutch …………………………………………………………. ……………………………… 1
61 …………. 6289057 ………………. Gear …………………………………………………………… 20T ………………………… 1
62 …………. 6289056 ………………. Bushing ………………………………………………………. 20D x 17D x (10+2) …. 1
63 …………. 6289135 ………………. Bushing ………………………………………………………. 29D x 23D x (9+3) …… 1
64 …………. 6289153 ………………. Gear Lever Shaft ………………………………………….. ……………………………… 1
65 …………. 6289070 ………………. Ball …………………………………………………………….. ……………………………… 1
66 …………. 6289071 ………………. Spring …………………………………………………………. ……………………………… 1
67 …………. 6289149 ………………. Transmission Lever ………………………………………. ……………………………… 1
68 …………. 6289150 ………………. Star Washer ………………………………………………… ……………………………… 1
69 …………. 6288763 ………………. Cap Screw…………………………………………………… M5 x 0.8P x 12Lg …….. 1
70 …………. 6289154 ………………. Cap Screw…………………………………………………… M5 x 0.8P x 10Lg …….. 2
71 …………. 6289067 ………………. “O” Ring ……………………………………………………… ……………………………… 1
72 …………. 6289148 ………………. Lock Pin ……………………………………………………… Ø4 x 20mm …………….. 1
73 …………. 6289147 ………………. Gear Lever ………………………………………………….. ……………………………… 1
74 …………. 6289152 ………………. “O” Ring ……………………………………………………… ……………………………… 1
77 …………. 6288755 ………………. Snap Ring …………………………………………………… 20mm …………………….. 3
78 …………. 6288756 ………………. Hex Screw …………………………………………………… M12 x 1.75P x 75Lg …. 3
79 …………. 6288757 ………………. Key …………………………………………………………….. 6 x 6 x 18 mm …………. 1
80 …………. 6288758 ………………. Worm Gear Shaft …………………………………………. ……………………………… 1
81 …………. 6288759 ………………. Snap Ring …………………………………………………… Ø22mm ………………….. 1
82 …………. 6288760 ………………. “O” Ring ……………………………………………………… ……………………………… 1
83 …………. 6288761 ………………. Cap …………………………………………………………….. ……………………………… 1
84 …………. 6288762 ………………. Cap Screw…………………………………………………… M5 x 0.8P x 12Lg …….. 2
PF-41/43 Feeder Body

Parts List: PF-41/43 Feeder Body
Index No. Part No. Description Size Qty
…………….. 2192190 ………………. PF-43 Feeder Body (3Ph, 230V, 4 speed) ………. ………………………………..
…………….. 2192191 ………………. PF-41 Feeder Body (1Ph, 230V, 4 speed) ………. ………………………………..
1 …………… 6289074 ………………. Grease Gun…………………………………………………. ……………………………… 1
2 …………… 6289211 ………………. Grease Fitting………………………………………………. ……………………………… 4
3 …………… 6289212 ………………. Roller Hub Spring …………………………………………. ……………………………… 4
4 …………… 6288938A …………….. Tube …………………………………………………………… ……………………………… 4
5 …………… 6289125A …………….. Sprocket Shaft …………………………………………….. ……………………………… 3
6 …………… JPF3-041A …………… Case Cover …………………………………………………. ……………………………… 4
7 …………… 6288750 ………………. Socket Head Cap Screw ……………………………….. M8 x 1.25P x 40Lg …… 8
8 …………… 6288764 ………………. Star Washer ………………………………………………… M8 ……………………….. 16
9 …………… 6289118 ………………. Rollers – set of 4 only …………………………………… Ø120 x 60mm …………. 1
…………….. 6288959 ………………. Roller (individual) …………………………………………. Ø120 x 60mm …………. 4
10 …………. 6288749 ………………. Socket Head Cap Screw ……………………………….. M8 x 20 ………………….. 8
11 …………. 6289129 ………………. Grease Nipple ……………………………………………… ……………………………… 4
12 …………. 6289130 ………………. Shaft …………………………………………………………… ……………………………… 4
13 …………. 6289121 ………………. Roller Supporter …………………………………………… ……………………………… 4
14 …………. 6288949 ………………. Chain Kit ……………………………………………………… 26S ………………………… 4
15 …………. 6288944 ………………. Sprocket ……………………………………………………… ……………………………… 4
16 …………. 6289122 ………………. Star Washer ………………………………………………… M6 …………………………. 8
17 …………. 6289123 ………………. Cap Screw…………………………………………………… M6 x 1.0P x 16Lg …….. 8
18 …………. 6288751A …………….. Sprocket Case (PF-31/33/41/43) ……………………. ……………………………… 4
19 …………. 6289131 ………………. Lock Washer ……………………………………………….. M12 ……………………….. 4
21 …………. 6289126A …………….. Sprocket Shaft …………………………………………….. ……………………………… 1
24 …………. 6289133 ………………. Frame …………………………………………………………. 4SP 1Ph …………………. 1
…………….. 6289134 ………………. Frame …………………………………………………………. 4SP 3Ph …………………. 1
25 …………. 6289109 ………………. Back Cover………………………………………………….. ……………………………… 1
26 …………. 6289136 ………………. Set Screw ……………………………………………………. M6 x 1.0P x 10Lg …….. 4
27 …………. 6288980 ………………. Oil Cap ……………………………………………………….. ……………………………… 1
28 …………. 6288979 ………………. “O” Ring ……………………………………………………… ……………………………… 1
29 …………. 6288955 ………………. Snap Ring …………………………………………………… Ø26mm ………………….. 4
30 …………. 6288954 ………………. Chain ………………………………………………………….. 40S ………………………… 2
31 …………. 6288975 ………………. Chain ………………………………………………………….. 62S ………………………… 1
32 …………. 6289092 ………………. Sprocket w/Key ……………………………………………. ……………………………… 2
33 …………. 6288958 ………………. Snap Ring …………………………………………………… Ø15mm ………………….. 4
37 …………. 6289093 ………………. Sprocket w/Key ……………………………………………. ……………………………… 2
38 …………. 6289097 ………………. Gear …………………………………………………………… 40T ………………………… 1
39 …………. 6289127 ………………. Lock Washer ……………………………………………….. M12 ……………………….. 1
40 …………. 6289128 ………………. Nut ……………………………………………………………… M12 x 1.75 ……………… 1
41 …………. 6289201 ………………. Bushing ………………………………………………………. ……………………………… 1
42 …………. 6289197 ………………. Gear …………………………………………………………… ……………………………… 1
43 …………. 6288965 ………………. Bearing ……………………………………………………….. #6203 …………………….. 1
44 …………. 6288969 ………………. Oil Seal ……………………………………………………….. ……………………………… 1
45 …………. 6289146 ………………. Cap Screw…………………………………………………… M5 x 0.8P x 16Lg …….. 4
46 …………. 6289096 ………………. Gear …………………………………………………………… 25T ………………………… 1
47 …………. 6289140 ………………. Knob Assembly ……………………………………………. ……………………………… 2
48 …………. 6289198 ………………. Nut ……………………………………………………………… M12 ……………………….. 1
49 …………. 33-6004-00-2 ……….. Spring Washer …………………………………………….. M12 ……………………….. 1
50 …………. 6289145 ………………. Cover ………………………………………………………….. ……………………………… 1
51 …………. 6289144 ………………. “O” Ring ……………………………………………………… ……………………………… 1
52 …………. 6289205 ………………. Bushing ………………………………………………………. ……………………………… 1
53 …………. 6289204 ………………. Gear …………………………………………………………… 17T ………………………… 1
54 …………. 6289202 ………………. Gear …………………………………………………………… 38T ………………………… 1
55 …………. 6289203 ………………. Gear …………………………………………………………… 31T ………………………… 1
58 …………. 6289061 ………………. Gear …………………………………………………………… 34T ………………………… 1
59 …………. 6289142 ………………. Shaft …………………………………………………………… ……………………………… 1
60 …………. 6289058 ………………. Clutch …………………………………………………………. ……………………………… 1
61 …………. 6289057 ………………. Gear …………………………………………………………… 20T ………………………… 1
62 …………. 6289056 ………………. Bushing ………………………………………………………. 20D x 17D x (10+2) …. 1
63 …………. 6289135 ………………. Bushing ………………………………………………………. 29D x 23D x (9+3) …… 1
64 …………. 6289153 ………………. Gear Lever Shaft ………………………………………….. ……………………………… 1
65 …………. 6289070 ………………. Ball …………………………………………………………….. ……………………………… 1
66 …………. 6289071 ………………. Spring …………………………………………………………. ……………………………… 1
67 …………. 6289149 ………………. Transmission Lever ………………………………………. ……………………………… 1
68 …………. 6289150 ………………. Star Washer ………………………………………………… ……………………………… 1
69 …………. 6288763 ………………. Cap Screw…………………………………………………… M5 x 0.8P x 12Lg …….. 1
70 …………. 6289154 ………………. Cap Screw…………………………………………………… M5 x 0.8P x 10Lg …….. 2
71 …………. 6289067 ………………. “O” Ring ……………………………………………………… ……………………………… 1
72 …………. 6289148 ………………. Lock Pin ……………………………………………………… Ø4 x 20mm …………….. 1
73 …………. 6289147 ………………. Gear Lever ………………………………………………….. ……………………………… 1
74 …………. 6289152 ………………. “O” Ring ……………………………………………………… ……………………………… 1
77 …………. 6288755 ………………. Snap Ring …………………………………………………… Ø20mm ………………….. 4
78 …………. 6288756 ………………. Hex Screw …………………………………………………… M12 x 1.75P x 75Lg …. 4
79 …………. 6288757 ………………. Key …………………………………………………………….. 6 x 6 x 18 mm …………. 1
80 …………. 6288758 ………………. Worm Gear Shaft …………………………………………. ……………………………… 1
81 …………. 6288759 ………………. Snap Ring …………………………………………………… Ø22mm ………………….. 1
82 …………. 6288760 ………………. “O” Ring ……………………………………………………… ……………………………… 1
83 …………. 6288761 ………………. Cap …………………………………………………………….. ……………………………… 1
84 …………. 6288762 ………………. Cap Screw…………………………………………………… M5 x 0.8P x 12Lg …….. 2
Parts List: Motor Assembly for PF-31/33 and PF-41/43
SINGLE PHASE
Index No. Part No. Description Size Qty
1 …………… 6289098 ………………. Motor ………………………………………………. 1HP, 1Ph, 115V, 60Hz …………. 1
2 …………… 6289207 ………………. “O” Ring ………………………………………….. …………………………………………. 1
3 …………… 6289086 ………………. Screw ……………………………………………… M8 x 1.25P x 20Lg ………………. 4
4 …………… 6289085 ………………. Lock Washer ……………………………………. …………………………………………. 4
5 …………… 6289115 ………………. Control Switch ………………………………….. …………………………………………. 1
6 …………… 6289087 ………………. Capacitors (set of 2) ………………………….. …………………………………………. 1
………………………….. Start Capacitor …………………………………. 200MFD 125VAC ………………… 1
………………………….. Run Capacitor ………………………………….. 25F 250VAC …………………….. 1
THREE PHASE
Index No. Part No. Description Size Qty
1 …………… 6289099 ………………. Motor ………………………………………………. 1HP, 3Ph, 460V, 60Hz …………. 1
…………….. 6288988 ………………. Motor ………………………………………………. 1HP, 3Ph, 230V, 60Hz …………. 1
2 …………… 6289207 ………………. “O” Ring ………………………………………….. …………………………………………. 1
3 …………… 6289086 ………………. Screw ……………………………………………… M8 x 1.25P x 20Lg ………………. 4
4 …………… 6289085 ………………. Lock Washer ……………………………………. …………………………………………. 4
5 …………… 6289003 ………………. Control Switch ………………………………….. …………………………………………. 1

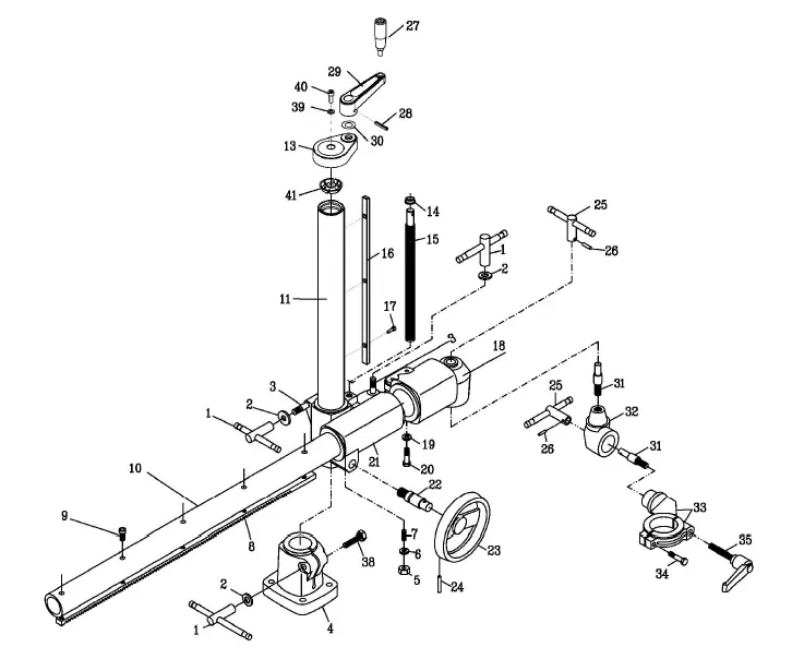
Feeder Mounting Assembly for PF-31/33 and PF-41/43 
Parts List: Feeder Mounting Assembly for PF-31/33 and PF-41/43
Index No. Part No. Description Size Qty
…………….. 6289113 ………………. Complete Mounting Base Assembly ……………….. ………………………………..
1 …………… 6289179 ………………. Handle Assembly …………………………………………. M12 x 1.75 ……………… 3
2 …………… 6288903 ………………. Flat Washer …………………………………………………. 1/2 x 25 ………………….. 3
4 …………… 6289177 ………………. Column Base……………………………………………….. ……………………………… 1
5 …………… 6289210 ………………. Nut ……………………………………………………………… M8 x 1.25 ……………….. 1
6 …………… 6289200 ………………. Spring Washer …………………………………………….. M8 …………………………. 1
7 …………… 6289188 ………………. Set Screw ……………………………………………………. M8 x 1.25P x 20Lg …… 1
8 …………… 6289163 ………………. Rack …………………………………………………………… ……………………………… 1
9 …………… 6289164 ………………. Cap Screw…………………………………………………… M5 x 0.8P x 10Lg …….. 4
10 …………. 6288923 ………………. Over Arm …………………………………………………….. 720mm …………………… 1
11 …………. 6289219A …………….. Vertical Column ……………………………………………. 560mm …………………… 1
13 …………. 6289173A …………….. Column Cap ………………………………………………… ……………………………… 1
14 …………. 6289222 ………………. Thrust Washer……………………………………………… ……………………………… 2
15 …………. 6289220 ………………. Elevating Screw …………………………………………… ……………………………… 1
16 …………. 6289161 ………………. Elevating Key ………………………………………………. ……………………………… 1
17 …………. 6289162 ………………. Cap Screw…………………………………………………… M5 x 0.8P x 16Lg …….. 1
18 …………. 6289181 ………………. Over Arm Cone ……………………………………………. ……………………………… 1
19 …………. 6288930 ………………. Spring Washer …………………………………………….. M10 ……………………….. 2
20 …………. 6289183 ………………. Bolt …………………………………………………………….. M10 x 1.5P x 50Lg …… 2
21 …………. 6289180 ………………. Elevating Bracket …………………………………………. ……………………………… 1
22 …………. 6288912 ………………. Pinion …………………………………………………………. M8 x 1.25P x 12Lg …… 3
23 …………. 6288913 ………………. Handwheel ………………………………………………….. ……………………………… 1
24 …………. 6289166 ………………. Lock Pin ……………………………………………………… 6 x 36 …………………….. 1
25 …………. 6288926 ………………. Handle Assembly …………………………………………. ……………………………… 2
26 …………. 6288927 ………………. Lock Pin ……………………………………………………… 6 x 22 …………………….. 2
27 …………. 6289176 ………………. Wheel Handle………………………………………………. M10 x 1.5 ……………….. 1
28 …………. 6289221 ………………. Pin ……………………………………………………………… 6 x 36 …………………….. 1
29 …………. 6289175A …………….. Elevating Handle ………………………………………….. ……………………………… 1
30 …………. 6289222 ………………. Thrust Washer……………………………………………… ……………………………… 1
31 …………. 6289182 ………………. Lock Stud ……………………………………………………. M16 x 1.5 ……………….. 2
32 …………. 6289168 ………………. Swivel Cone ………………………………………………… ……………………………… 1
33 …………. 6289169 ………………. Motor Clamp………………………………………………… ……………………………… 1
34 …………. 6289170 ………………. Bolt …………………………………………………………….. M8 x 1.25P x 50Lg …… 1
35 …………. 6288887 ………………. Locking Handle ……………………………………………. ……………………………… 1
36 …………. TS-1492051 …………. Hex Cap Screw (not shown) ………………………….. M12 x 50 ………………… 4
37 …………. TS-2361121 …………. Spring Washer (not shown) …………………………… M12 ……………………….. 4
38 …………. TS-2211751 …………. Hex Cap Screw ……………………………………………. M12-1.75×75 …………… 1
39 ………… TS-0680031 …………. Flat Washer …………………………………………………. 5/16” x 16 ……………….. 1
40 ………… TS-1504051 …………. Socket Head Cap Screw ……………………………….. M8 x 1.25P x 25Lg …… 1
41 ………… PF31-141 …………….. Fastener ……………………………………………………… ……………………………… 1
Electrical Connections – 3 Phase only

427 New Sanford Road
LaVergne, Tennessee 37086
Phone: 800-274-6848
www.powermatic.com

























