trulifi 6016 Fast Field Data Link User Manual
Introduction
The Trulifi 6016 Fast Field Data Link provides a wireless LiFi connection between two points with data rates up to 940 Mbit/s and a maximum operating distance up to 300 meters, depending on the setting and distances. The device is equipped with a M12 8—pin X—coded Female connector port to connect to the network. The device is powered using the same Ethernet port using PoE and is compliant with PoE standard IEEE 802.3af. The device can be connected directly to a PoE enabled Ethernet switch or using a PoE injector. For a functioning system, a 6016 Access Points needs to connect to a 6016 End Point. Devices are pre—configured as Access Point and EndPoint in production and this configuration cannot be changed.
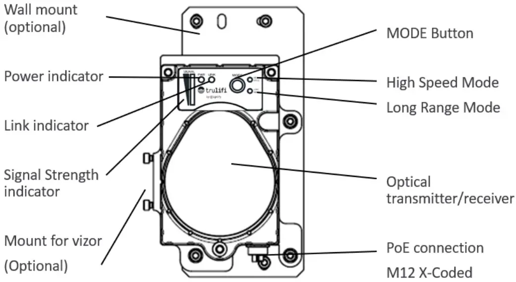
The Access Point and End Point type can be identified via the engraving on the product.
The control interface of the Trulifi 6016
The Trulifi 6016 Fast Field Data Link has the following functions and indicators.
- Optical Transmitter and Receiver:
These are the elements enabling a data connection using Infra Red light.
Make sure the optics are kept clean and free from scratches and damages - The signal strength Indicator,showing the quality of the LiFi connection. (Red/Yellow/Green)
- Power LED. (Green) This light is turned ON when the device is powered (using X—Coded M12 connector connected to PoE switch or injector)
- LINK (Green). This LED is blinking when a data connection isestablished between 2 Trulifi 6016 devices
- MODE LEDs (Red); indicating if Long Range Mode or High Speed Mode is selected. (See paragraph 6.3)
- MODE Button. This button can be used to switch On or Off all LEDs on the Control panel or to switch between Long Range Mode and High Speed Mode. (See paragraph 6.3)
NOTE: When the control LEDs are switched off and the device is powered, the infrared LEDs and the data connection remains powered and active. This switch is intended only to switch off the control LEDs to reduce visual detect ability.
Application Notice
The Trulifi 6016 uses collimated Infrared light with a wavelength of 820nm. The Trulifi 6016 Fast Field Data Link is evaluated on the exposure limit specified by EU Directive 2006/25/EC, NEN—EN— IEC 62471:2009. The Risk group is evaluated as Exempt group, meaning that there is no risk or harm for the eyes in using these devices. However, to prevent any harm to the eyes, it is advisable to avoid staring into the beam, especially not with the magnifying devices (vizors) at close proximity.
The Trulifi 6016 is designed to offer a (temporary) data connection between machines, devices and/or network systems at a maximum distance of up to 300 meters.
The Trulifi 6016 is certified to the IP65 IP rating.
The (optionally supplied) PoE injector is intended for indoor use only. The Trulifi 6016 is not designed for safety critical applications. Line of sight between two devices is necessary, therefore blocking the line of sight will limit or disconnect data communication.
Environmental elements, such as rain, mist, dust, snow, direct sunlight may limit the performance of the Trulifi 6016. Special precaution should be observed in aligning the devices for optimum line of sight.
- Ambient temperature —25°C to +55°C
Compliance statement
Regulatory Compliance:
- CE, UKCA, FCC 47CFR Part 15B, CAN ICES—003 (B) / NMB—003 (B)
Product compliance
- EU Low Voltage Directive (LVD):
2014/35/EU
EN 62368—1: 2020
EN 62471: 2008 - EU Electromag netic compatibility
Directive (EMC): 2014/30/EU
EN 55032: 2015
EN 61000—6—2: 2019 - EU Restriction of the use of certain Hazardous Substances in electrical and electronic equipment Directive
(RoHS): 2011/65/EU
EN 50581: 2012
Getting started
It is advisable to configure the required parameters before mounting/installing the Trulifi 6016 units to their final position. The next steps are a one 1 time set up. Once correctly configured, the setup of the solution shall be “Plug and Play”
Make sure the Trulifi 6016 units and your client PC/device are connected to the same network switch and powered using a PoE connection. When the Access Point is powered, the green control light is ON.
For the first—time setup, you may have to use the web configuration system of the Trulifi 6016.
Default IP configuration
Out of the box the Trulifi 6016 Access Points and End Points are pre—configured with DHCP enabled. With DHCP enabled, the 6016 unit will automatically receive an IP address and subset mask. In addition to this automatically assigned IP address, the 6016 also has a static IP address, even when DHCP is enabled. This can be helpful in case you are unable to retrieve what address has been assigned to the 6016 by the DHCP server.
The default static IP address is:
- 192.168.1.10 (6016 Access Points)
- 192.168.1.20 (6016 End Points)
The corresponding default subnet mask is:
- 255.255.255.0
Accessing the web configuration system
It is important that your computer is configured to be in the same subnet as your Trulifi 6016.
Check your DHCP server’s address allocation table for the IP address of your laptop and the 6016 unit to confirm that both are in the same subnet.
If this is not the case, then you may use the 6016’s default static IP address to reach the web configuration system. In order to do this, you will have to bring your laptop temporarily in the same subnet as the 6016. Once you have completed the configuration steps, you can assign your laptop back to its original subnet. On Windows 10 systems, the procedure is as follows:
- Select correct Ethernet or Wi—Fi adaptor and select Properties using the right mouse button.


- Select the Internet Protocol 4 (TCP/IPv4) and select Properties.
- Assign an IP address to your computer and make sure that it is within the correct network subnet that the Trulifi 6016 is also connected to (default: see section Error! Reference source not found.).
Check that the IP address of your computer is different from that of the Trulifi 6016.
Close the window and save the configuration by clicking the OK tab
Web Configuration system
You can use the Trulifi 6016 web configuration system to configure specific operating parameters. To access the web configuration system, open a standard web browser and enter the IP address into the navigation tab (assigned by DHCP or use the static IP address).
| Device type | Default IP address | Default password |
| Access point | 192.168.1.10 | [Serial number of Device ] |
| End Point | 192.168.1.20 | [Serial number of Device ] |
The default password for the Trulifi 6016 is the 12-digit serial number of the device.
In the Authentication tab enter the Configuration/Security password and click [ok] .
When selecting a password, the password length should be between 8 and 20 characters.
After entering the password, the main configuration window opens. On the left side of this window there are several menu tabs to view and change system configuration parameters.
The web configuration menu consists of the following elements:
- Device information menu – Optical link performance
- Security – Legal
- Advanced menu

This screen displays the following information of the device:
- Device name – Device description
- Device manufacturer – Serial number
- MAC address
- Hardware version, including if device is configured as Access Point or End Point
- Ethernet interface: this displays the type of Ethernet interface the device is connected to
- Firmware version – System uptime: time passed since last reboot.
The information in this page cannot be edited.
Optical Link Performance
This page only shows data when an End Point and Access Point are connected and have established an Optical Link. In case no connection is available, please use the page refresh option of your web-browser. When connected the Link Performance menu reports connection status information and corresponding transmit and receive throughput values.
Information on this page cannot be edited.
Security
This page enables entering the device security settings. There are two security settings for the 6016.
Network Name
The password for the “Network name” enables the encryption of the data transmitted via the optical link. Devices are pre- programmed/auto assigned as either Access Point or End Point. NOTE: Only Access Points and End Points can establish
an optical link, and only when they make use of the identical encryption passwords.
The default LiFi encryption password for every 6016 Access Point, or End Point is: trulifi.
LiFi encryption change button will display a pop-up window asking for confirmation:
Please confirm that you want to change the password. Note: Make sure passwords are in sync with other Trulifi devices. Otherwise, you will not be able to establish a LiFi connection anymore.
Login password
The “login password” is the password off the web user interface. The default password is for the Trulifi 6016 Fast Field Data Link is the 12-digit serial number engraved in the device. It is strongly recommended to change the password to a strong password. The password should be between 8 and 20 characters.
In case the password is forgotten, upon login to the web user interface there is the option to reset password (restore factory settings). When this option is selected all settings return to factory default.
Legal
This tab provides information on the legal notices and licenses.
The advanced menu is recommended for IT-managers and system administrators having access to, and knowledge of the system network requirements of the solution.
The “Advanced” menu contains the following sub-menus:
- Firmware upgrade – IP Settings
- Multicast – Quality of Service (QoS)
- System settings
Firmware upgrade
This screen displays the current firmware version and offers the opportunity to update the firmware to a newer version. In case of issues, please contact:
[email protected]
After downloading the latest firmware store the file on a convenient location, e.g. Desktop.
Select [Choose File] and browse to the location where the new firmware version is saved. Select [Upgrade]
In case a non-valid file is selected to upload, the following error message will be displayed.
IP Settings
This screen displays the IP settings of the device. Either static IP addresses can be configured, or the device can be configured in DHCP mode. Additional static IP addresses can be configured in case the device needs to be accessed from a different subnet.
To disable the [ IPv4 Additional Address 1 ], please enter [ 0.0.0.0 ] in the field [ IP Address ].
Select [Update & Reboot] after completing the configuration.
Multicast menu
The Multicast menu allows for configuring Internet Group Management Protocol (IGMP) and Multicast Listener Discovery (MLD) snooping parameters.
QoS menu
In the screen QoS menu you can change the following Trulifi 6016 parameters:
- Frame Type: Ethernet frame, 802.1q, 802.1ad
- Packet Detection Method: IPv4 or custom
- Packet Classification/Type—of—Service
- QoS Criteria: 802.1p or custom

System Settings
The “system settings” page has provisions to perform a System reboot and a Factory Reset and restore the initial factory setting at time of shipment.
When using the factory reset option, all system configuration settings will be lost, and the device will return to the Long Range Mode / LEDs ON.
In case no connection to the Trulifi 6016 is possible anymore, the factory default settings can be restored using the following steps:
- Make sure the device is not powered
- Press the “MODE” button
- Power the device, while keeping the “MODE” button pressed for 10 seconds.
- After 10 seconds the Factory Reset function is activated, which will be shown by the SIGNAL indicator “scanning”.
- After the Factory Reset is complete, the “scanning” stops, and the Default settings are restored; shown by the status LEDs.
Installation
After the configuration of the Trulifi 6016 units is completed, the system is ready to be installed. Note that the optimum performance of the LiFi link can only be achieved when the Access Points and End Points are perfectly aligned.
There are 2 mounting options, which can be selected and ordered separately:
- Using wall mount
- Using Tripod
The Trulifi 6016 devices can be mounted on a tripod for a fast deployment of a LiFi connection, or fixed to a fixed ob|ect/structure (eg a wall/pole) using the wall mount.
Wall mount
When the devices are mounted on a fixed ob|ect (eg. wall) the wall mount (optional) shall be used. It is recommended to mount the devices accurately opposite each other.
This must be carefully planned at the location, where the planning and measuring of the mounting position, is recommended to take place using a fixed reference point for measurement and planning.
To ease the mounting, alignment and correct functioning of the Trulifi 6016 Fast Field Data link, consider the following precautions:
- Clear line of side between the two devices
- Use a surface/fixture that is not subject to movement or vibration.
- Use a fixed reference for horizontal/vertical planning and measurement of the mounting location.
Make sure the devices can be mounted perpendicular and exactly opposite each other Consider eg. a laser marker/system for measurement and alignment. - Avoid pointing the devices into direct sunlight as this may reduce performance.
- For mounting the wall mount to the wall, use M6 bolts/screws or equivalent, including appropriate wall plugs back plate.

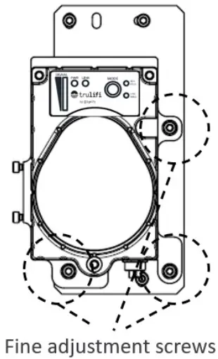
After device is correctly mounted and connected (see chapter 6.3) with a hex key (not provided) the fine adjustment screws can be used to optimize the connection.
Tripod mount
The Trulifi 6016 can be optionally equipped with a tripod and visor for a quick and easy setup of a temporary data connection.
For this use the following steps:
Mount the Trulifi 6016 on the tripod. Make sure that the tripod is leveled, using the leveler integrated in the tripod.
Make sure that the Trulifi 6016 unit is securely latched to the tripod.
Tripod ad¡adjustments
The unit may be optionally supplied by a tripod. Depicted below are the main controls:
This will make alignment of the 2 units easier, as the tripod can be adjusted in a horizontal and vertical direction.
Prerequisites for a stable connection.
- By aiming the device towards each other, first check that the green TX light on the control panel starts blinking. This indicates that a data connection is established.


- When data connection is established use a fine coarse adjustment. The optimal alignment is achieved when the signal strength indicator is showing the maximum reading.
NOTE: specially over longer distance note that the LEDs of the signal strength indicator may not show full maximum readings. - Avoid pointing the devices into direct sunlight as this may reduce performance.
Vizor adjustments
The unit may be optionally supplied by a vizor.
NOTE: The vizor is pre—calibrated, matching the Trulifi 6016 unit. Changing the calibration settings of the vizor may reduce performance of the system.
With the controls on the tripod one can aim the Trulifi 6016 units towards each other.
The vizor can be used to optimally align the two units for the best possible connection, by reading out the LEDs on the control panelof the opposite device. Specially over longer distances it is recommended to do this with 2 persons: each person operating 1 device. Depicted below are the main controls of the vizor.
Connecting and the operating
Connect M12—RJ45 cable (GREEN) to the Trulifi 6016. The Trulifi 6016 is powered over the Ethernet cable.
For secure and water—proof connection the screw on the cable needs to be tightly connected.
Insert the RJ45 connector of the green cable in the PoE + Data Port of the PoE injector (not supplied/optional), or a PoE switch.
NOTE: The (optionally supplied) PoE injector is intended for indoor use only.
- Connect the data port at the PoE injector to your switch or computer device and make sure the PoE injector is powered.

- When correctly powered the following ALL LEDs will start to illuminate for about 3 seconds, after which some LEDs will extinguish.
The colored bar on the left (Signal strength indicator may remain illuminated, depending on the amount of light received from the optical connection.
NOTE: If the signal strength indicator is fully illuminated and the red LED is ON, the device is in saturation mode. In this case, ad|ust alignment or increase the distance between devices.
Also, the left Green POWER LED will start to illuminate when the device is powered. When the devices are aligned and a link is established, the green LINK LED will start blinking, indicating there is communication ongoing.
By moving the horizontal and vertical alignment of the tripod the alignment of the units can be adjusted to an optimum. When the units are optimally aligned the signal strength indicator is showing the maximum amount of LEDs
For Trulifi 6016 units mounted on a fixed ob|ect (eg. wall, the fine adjustment screws can be used to find the optimal link
After the configuration of the Trulifi 6014 units is completed, the system is ready to be installed. Note that the optimum performance of the LiFi link can only be achieved when the Access Points and End Points are perfectly aligned. To support this alignment, there are various mounts as well as a laser pointer available as options which are sold separately.
It is recommended to first check the correct
Switching the indicator LEDs ON/Off
The indicator LEDs can be switched off, to reduce the detectability e.g., in the dark.
Press the “MODE” button shortly. All indicator LEDs will switch off. Pressing the “MODE” button again will switch the indicator lights on again.
NOTE: Even when the indicator lights are OFF, as long as the device is powered the Infra Red Transmitter/Receiver are ON.
Switching between modes
The Trulifi 6016 has 2 operating modes.
| Operating Mode | Max. Distance |
| High Speed Mode | 100m |
| Long Range Mode | 300m |
Selection between modes is possible, by pressing the MODE button for 3 seconds. The selected mode is indicated by the red control LEDs.
In High Speed mode, data rates of up to 940 Mbps can be achieved (depending on the distance)
The maximum distance between the Access Point and the End Point shall not exceed the maximum distance feasible per operating mode.
Save and store settings
It is possible to program and save preferred settings in the device, (eg. High Speed Mode / LEDs OFF). This means that when the device (temporarily) loses power and is connected again, it restarts in the saved settings. To save preferred settings, set the device in the desired state and press the MODE button for 7 seconds to store settings. After 7 seconds, the operation is onfirmed by the flashing of the red and green control LEDs.
Support
@ 2021 Signify Holding. All rights reserved. The information provided herein is subject to change. without notice. Signify does not give any representation or warranty as to the accuracy or completeness of the information included herein and shall not be liable for any action in reliance thereon. The information presented in this document is not intended as any commercial offer and does not form part of any quotation or contract, unless otherwise agreed by Signify. All trademarks are owned by Signify Holding or their respective owners.




























