TECH CONTROLLERS EU-F-8z Wireless Room Regulator With Humidity Sensor

SAFETY
Before using the device for the first time the user should read the following regulations carefully. Not obeying the rules included in this manual may lead to personal injuries or controller damage. The user’s manual should be stored in a safe place for further reference. In order to avoid accidents and errors it should be ensured that every person using the device has familiarized themselves with the principle of operation as well as security functions of the controller. If the device is to be sold or put in a diff erent place, make sure that the user’s manual is there with the device so that any potential user has access to essential information about the device. The manufacturer does not accept responsibility for any injuries or damage resulting from negligence; therefore, users are obliged to take the necessary safety measures listed in this manual to protect their lives and property.We are committed to protecting the environment. Manufacturing electronic devices imposes an obligation of providing for environmentally safe disposal of used electronic components and devices. Hence, we have been entered into a register kept by the Inspection For Environmental Protection. The crossed-out bin symbol on a product means that the product may not be disposed of to household waste containers. Recycling of wastes helps to protect the environment. The user is obliged to transfer their used equipment to a collection point where all electric and electronic components.
WARNING
- The device should be installed by a qualified electrician.
- The regulator is not intended to be used by children.
- It is a live electrical device. Make sure the regulator is disconnected from the mains before performing any activities involving the power supply (plugging cables, installing the device etc.).
- Any use other than specified by the manufacturer is forbidden.
EU DECLARATION OF CONFORMITY
Hereby, we declare under our sole responsibility that EU-F-8z manufactured by TECH, head-quartered in Wieprz Biała Droga 31, 34- 122 Wieprz, is compliant with Directive 2014/53/EU of the European parliament and of the Council of 16 April 2014 on the harmonisation of the laws of the Member States relating to the making available on the market of radio equipment, Directive 2009/125/EC establishing a framework for the setting of ecodesign requirements for energy-related products as well as the regulation by the MINISTRY OF ENTREPRENEURSHIP AND TECHNOLOGY of 24 June 2019 amending the regulation concerning the essential requirements as regards the restriction of the use of certain hazardous substances in electrical and electronic equipment, implementing provisions of Directive (EU) 2017/2102 of the European Parliament and of the Council of 15 November 2017 amending Directive 2011/65/EU on the restriction of the use of certain hazardous substances in electrical and electronic equipment (OJ L 305, 21.11.2017, p. 8). For compliance assessment, harmonized standards were used: PN-EN IEC 60730-2-9 :2019-06 par.3.1a Safety of use ETSI EN 301 489-1 V2.1.1 (2017-02) par.3.1 b Electromagnetic compatibility ETSI EN 301 489-3 V2.1.1 (2017-03) par.3.1 b Electromagnetic compatibility ETSI EN 300 220-2 V3.1.1 (2017-02) par.3.2 Effective and coherent use of radio spectrum ETSI EN 300 220-1 V3.1.1 (2017-02) par.3.2 Effective and coherent use of radio spectrum
TECHNICAL DATA
- Power supply: 230 ±10% /50Hz
- Max. power consumption: 0,1W
- Humidity measurement range: 10-95%RH
- Temperature adjustment range: 5°C÷35°C
- Operation frequency: 868MHz
The pictures and diagrams are for illustration purposes only. The manufacturer reserves the right to introduce some hanges.
DESCRIPTION
The EU-F-8z room regulator is intended to be used with external controllers. It should be installed in heating zones. The regulator sends current temperature and humidity readings from a given zone to the external controller. Based on the data, the external controller manages the thermostatic valves (opening them when the temperature is too low and closing them when the pre-set temperature has been reached). Current temperature is displayed on the main screen. In order to display current humidity value, press the Menu button
(in the middle).
Controller equipment
- built-in temperature sensor
- air humidity sensor
- intended to be mounted in a frame
- front panel made of glass
Examples of compatible frames
TECH Controllers dedicated glass frame – Sinum FG
- Ospel – AS
- Berker – S.1, B.1, B.3, B.7
- Jung – AS, A500, A PLUS, A CREATION
- Gira- STANDARD 55, E2, EVENT, ESPRIT, PROFIL55, E22
- SIEMENS – DELTA LINE, DELTA VITA, DELTA MIRO, Kopp – ALASKA
- SCHNEIDER – SYSTEM M-PLAN, SYSTEM M-ELEGANCE, M-PURE, M-SMART
Before purchasing a given frame, please check the dimensions carefully as the above list may change!
We recommend purchasing the FG frame, which is dedicated to regulators manufactured by TECH Controllers.
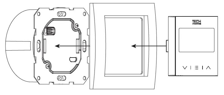
HOW TO INSTALL
The regulator should be installed by a qualified person.
WARNING
- Risk of fatal electric shock from touching live connections. Before working on the controller switch off the power supply and prevent it from being accidentally switched on.
- Incorrect connection of wires may damage the regulator!
The diagram below illustrate how particular the regulator should be mounted:


How to install particular elements

HOW TO USE THE CONTROLLER
REGULATOR DESCRIPTION

- Display – current room temperature/humidity
- Button

- Button

- Button

DISPLAY DESCRIPTION
Current temperature is displayed on the screen. Use the Menu button (in the middle) to display current humidity.

- Sun icon
- Humidity icon
- Current humidity
- Control light
HOW TO REGISTER A REGULATOR
The room regulator must be registered in a zone. In order to do it, go to the external controller menu and select Zones and Registration. Next, in the menu of the room regulator select the rEg function and press briefly the registration button on the right side of the regulator housing. If the registration has been successful, the external controller display will show a message to confirm and SCs will be displayed on the regulator screen. Err displayed on the screen means that an error occurred during the registration process.
NOTE
Only one room regulator may be assigned to each zone.
NOTE
In zone controllers, the room regulator may serve as a room sensor or a floor sensor. In order to register the device as a floor sensor, press the communication button on the regulator twice.
The following rules must be kept in mind
- Once registered, the regulator cannot be unregistered, but only disabled by selecting OFF in the submenu of a given zone in the external controller.
- If the user attempts to assign a regulator to the zone to which another regulator has already been assigned, the first regulator becomes unregistered and it is replaced by the other one.
- If the user attempts to assign a regulator which has already been assigned to a different zone, the regulator is unregistered from the first zone and registered in the new one.
HOW TO CHANGE PRE-SET TEMPERATURE
The pre-set zone temperature may be adjusted directly from the EU-F- 8z room regulator using the buttons
and
. During controller inactivity, the main screen displays current zone temperature. After pressing one of the buttons
or
, the current temperature is replaced with the pre-set temperature (the digits are flashing). Using the buttons![]()
the user may adjust the pre-set temperature value. About 3 seconds after setting the desired value, the display will show a screen enabling the user to define how long the new setting should apply.
Time settings may be adjusted with the use of buttons
- permanently – press until Con appears on the screen (the pre-set value will apply all the time regardless of schedule settings);
- for a specified number of hours – press one of the buttons
- until the desired number of hours appears on the screen e.g. 01h (the pre-set value will apply for the specified period of time; after that the weekly schedule will apply);
- if the temperature value defined in the weekly schedule settings should apply, press until the screen displays OFF.
When a sun icon appears next to the temperature value, it means that the pre-set room temperature has been reached and heating has been disabled. If the sun icon is flashing, the room is being heated and the pre-set temperature hasn’t been reached yet.
In order to enter the menu, press and hold
. Next, use the buttons![]()
to switch between functions.
- Cal – this function enables the user to check the sensor calibration value. After selecting this option, the screen flashes for 3 seconds. Next, it displays calibration setting.
- Loc – this function enables the user to activate the key lock. After selecting this function, the screen flashes for 3 seconds. Next, the user is asked if they want to activate the key lock (yes/no). Select the answer using one of the buttons .
In order to confirm, wait 3 seconds or press
or
. When the lock is active, the keys are locked automatically after 10 seconds of inactivity. To unlock, press and hold the buttons
. Ulc displayed on the screen means that the keys have been unlocked. - rEg – this function enables the user to register the regulator in a zone.
- Def – this function enables the user to restore factory settings. After selecting this function, the screen flashes for 3 seconds. Next, the user is asked if they want to restore factory settings (yes/no). Select the answer using one of the buttons

. Wait 3 seconds to confirm. - Ret – after selecting this option, the screen flashes for 3 seconds and exits the menu.
NOTE
To display the program version number, press and hold the button on the right side of the controller housing.
WARRANTY CARD
TECH company ensures to the Buyer proper operation of the device for the period of 24 months from the date of sale. The Guarantor undertakes to repair the device free of charge if the defects occurred through the manufacturer’s fault. The device should be delivered to its manufacturer. Principles of conduct in the case of a complaint are determined by the Act on specific terms and conditions of consumer sale and amendments of the Civil Code (Journal of Laws of 5 September 2002). CAUTION! THE TEMPERATURE SENSOR CANNOT BE IMMERSED IN ANY LIQUID (OIL ETC). THIS MAY RESULT IN DAMAGING THE CONTROLLER AND LOSS OF WARRANTY! THE ACCEPTABLE RELATIVE HUMIDITY OF THE CONTROLLER’S ENVIRONMENT IS 5÷85% REL.H. WITHOUT THE STEAM CONDENSATION EFFECT. THE DEVICE IS NOT INTENDED TO BE OPERATED BY CHILDREN. The costs of unjustifi able service call to a defect will be borne exclusively by the buyer. The unjustifi able service call is defi ned as a call to remove damages not resulting from the Guarantor’s fault as well as a call considered unjustifi able by the service after diagnosing the device (e.g. damage of the equipment through the fault of the client or not subject to Warranty), or if the device defect occurred for reasons lying beyond the device. In order to execute the rights arising from this Warranty, the user is obliged, at his own cost and risk, deliver the device to the Guarantor along with a correctly fi lled-in warranty card (containing in particular the sale date, the seller’s signature and a description of the defect) and sales proof (receipt, VAT invoice, etc.). The Warranty Card is the only basis for repair free of charge. The complaint repair time is 14 days. When the Warranty Card is lost or damaged, the manufacturer does not issue a duplicate.
Central headquarters
ul. Biata Droga 31, 34-122 Wieprz Service: ul. Skotnica 120, 32-652 Bulowice phone: +48 33 875 93 80 e-mail: [email protected]



















