MAL 4029-054
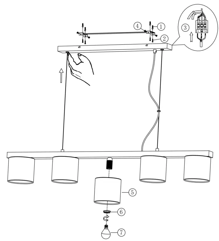
Mounting instructions![]()

Safety directions
Please read this information carefully before installing or using this product. Please keep this user manual for further reference.
- The lamps may only be installed by authorized and qualified technicians according the valid regulations for electrical installation.
- The manufacturer does not accept any responsibility for injuries or damage resulting from improper use of the light.
- Maintenance of the lights is limited to the surfaces. For electrical safety reasons, this product must not be cleaned with water or other liquids. Use only a dry, lint-free cloth for cleaning.
Caution! Risk of electric shock. Before connecting to the mains, always check the entire light for possible damage. Never use the light if you notice any damage.
Caution! Disconnect the mains cable from the power supply before assembling or disassembling. Switch off the earth leakage circuit breaker/automatic circuit breaker or unscrew the fuse. Turn the switches to “OFF”.
Caution! Before drilling the mounting holes, make sure that no gas, water or electricity pipes and wires can be drilled through or damaged in your chosen mounting location.- When mounting, ensure that the attachment material is suitable for the subsurface and that this surface is capable of carrying the weight of the fixture. The manufacturer is not liable for improper installation of the item on the relevant subsurface.
The symbol of the crossed-out garbage can on the product or the packaging means that the product must not be disposed with ordinary household waste. At the end of its useful life, the product must be returned to a point of acceptance for the recycling of electric and electronic device. Please ask your local municipality for the point of acceptance.- Safety class I G. This light must be connected to the earthed conductor-terminal with the earthed conductor (green-yellow wire)
. - Description of the supply terminals: L = Phase N = Neutral conductor
= Earthed conductor. - Do not install the light on a damp or conductive subsurface.
- Please make sure that no cables get damaged during the installation work.
- Attention! During operation, lamp parts and illuminants can reach temperatures of more than 60°C. Do not touch during operation!
- The lamp may only be adjusted and positioned after having cooled down.
- Caution! Risk of burns due to hot surfaces. First allow the light to cool down completely.
- This product is intended for normal operation and may only be used for ceiling mounting.
- The lights have a protection class rating of “IP20“ and are solely intended for indoor use only of private households.
- The maximum wattage indicated of each lighting unit must not be exceeded.
- Make sure that illuminants are securely fixed during the installation.
- Please make sure that illuminants have first cooled down before replacing them. Attention! Switch the mains power line to zero potential and switch-off the circuit breaker and/or remove the fuse before!
- Do not look directly into the light source (illuminant, LED, etc.).
- The following accessories are not included in delivery: illuminants
The included or insertable light bulb can be replaced by the end customer.- This product can be used with light bulbs of the energy efficiency classes “A – G“, based on the EU regulation 2019/2015.
Hotline: 00800/BRILONER
(00800/27456637) Briloner Leuchten / Im Kissen 2 / 59929 Brilon
Revision 00_10/2021
MAL4029-054 Page1a



















