FUFU GAGA LJY-KF020221-02 25 Pair Black Composite Shoe Cabinet

Instruction
IMPORTANT INFORMATION!
please read the entire manual before starting to assemble and/or using this product. follow the manual thoroughly and keep it for further reference.
AVOID SCRATCHES!
In order to avoid scratching this furniture should be assembled on a soft layer-could be a rug.
IMPROVE EFFICIENCY !
Try to find a partner to install with you, which can speed up the installation efficiency and shorten the time.
ANTI-TOPPLE WARNING !
Overturned furniture can cause serious or fatal crush injuries. To prevent tipping over, be sure to use the wall attachment, if not included with this product. Please purchase the wall attachment that fit your wall. If unsure, seek professional advice. Please read and follow each step of the instructions carefully.
IMPORTANT !
It is important that any product which is assembled using any kind of screw is re-tightened 2 weeks after assembly, and once every 3 months – in order to assure stability through-out the lifespan of the product. For regular maintenance and cleaning of the product, for the frame, please use a rag dipped in neutral detergent to fully wipe it, and then dry it with a clean rag. For glass materials, wipe with a rag dampened with water glass cleaner, and then dry with a dry rag. Do not use an electric screwdriver, and do not use too much force when installing, because the board is easy to break.
When installing, please carefully confirm whether each screw corresponds to the manual, accessories with similar shapes can be distinguished by size



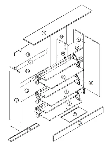
Insert quickfit screw(A) into corresponding holes in No.8 and both sides of No.4 plate with a screwdriver as shown.
Knock part(H2,H4) into corresponding holes in No.9 plate as shown.

Connect No.2 and No.17 plate with No.9 with wooden dowel(C), then turn cam lock(B) clockwise to tighten as shown.
Attach No.8 plate to No.9 and turn cam lock(B) clockwise to tighten as shown.

Knock part(H2,H4) into corresponding holes in No.3 plate as shown.
Insert quickfit screw(A) into corresponding holes in No.3 and No.4 plate with a screwdriver as shown.

Connect No.14(x2) plate with No.9 using wooden dowel(C), then turn cam lock(B) clockwise to tighten as shown.

Connect No.4 with No.14(x2), No.2 and No.8 plate using wooden dowel(C), then turn cam lock(B) clockwise to tighten as shown.

Connect No.7(x2) with No.9 plate, then turn cam lock(B) clockwise to tighten as shown.
Slide No.12 plate into available grooves as shown.

Attach No.3 plate to the component, then turn cam lock(B) clockwise to tighten as shown.

Insert quickfit screw(A) into corresponding holes in No.1 plate with a screwdriver as shown.
Slide No.13 and No.15 plate into available grooves as shown.

Cover No.1 plate to the top using wooden dowel(C) and turn cam lock(B) clockwise to tighten as shown.

Reinforce back plate using part(M) and screw(L) as shown.

Drill holes on your wall, and knock part(I) into holes.

Install anti-tipping device using screw(J) as shown.

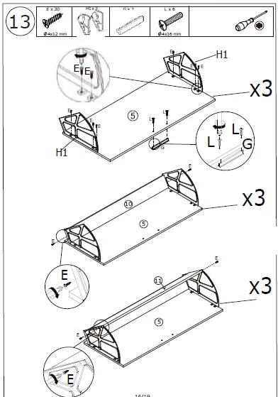
Fix plastic part(H1) to No.5 plate with screw(E) as shown. Fix handle(G) with screw(L).
Attach No.10 plate to No.5 by fixing with (H1) using screw(E) as shown.
Attach No.11 plate to No.10 by fixing with (H1) using screw(E) as shown.

Assemble drawers by fixing (H1) with side plates using (H3) and screw(E) as shown.

Fix side of No.11 plate with (H1) using screw(E) as shown.

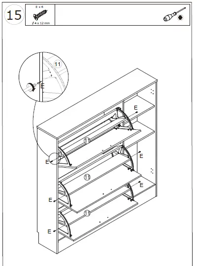
Attach No.6 door plate to side of the unit by fixing hinge with screw(P) as shown.
WARRANTY
WARRANTY CLAIMS
- There is a 30-day warranty for broken furniture or any other problems that do not work properly. The warranty will start from the date of purchase which must be verified by proof of purchase.
- Before making a claim, we may be able to answer your query, simply call us. Please leave your purchase order number, along with some details of the problem, if you want a replacement part. We will arrange within 48 hours. If there is out of stock, we will reply with a shipping date.
- The product must be used in accordance with the instructions provided. For health reasons.
- For other reasons, if the furniture needs to be returned, it must be cleaned and dried and operated within 30 days of receipt.
Type of Warranty Claim
- Failure to follow the furniture instructions will invalidate the warranty. Attention please.
- Does not include damage during installation, but includes damage during transportation.
Scope of responsibility
- Shall not bear any responsibility for misuse or user damage and / or loss of parts during the installation of furniture.
- After using, the damage and scratches of the furniture are not covered by the warranty.
The Warranty Relates to All Bought in The Us and Covers The Following Areas
- Sheet parts: 1 month from the date of purchase.
- Electrical parts: 1 month from the date of purchase.
RETURNS
CHANGED YOUR MIND AND NEED TO RETURN YOU ITEM?
PLEASE FOLLOW THE BELOW INSTRUCTIONS:
If you have purchased and have simply changed your mind, follow the retailer’s instructions for returns.
DEFECTIVE ITEMS
If your item is defective in any way, i.e. it doesn’t work but you can’t identify why, in the first instance, please call us.
DAMAGED ITEMS
If you receive an order with obvious shipping damage from the retailer, then we suggest the delivery is refused. If the delivery has been accepted and then shipping damage is found, please follow the specific instructions advised by the retailer.
In all circumstances please save all packaging material and paperwork for the order. Please be aware that if you dispose of packaging material or attempt to return the merchandise without contacting the fulfiller, you jeopardise your chances of making a claim, and you may not receive a credit for the return.




















