Honeywell CT2800 Programmable Thermostat User Manual

Welcome to the world of comfort and energy savings with your new Honeywell Programmable Thermostat. Your new thermostat will automatically control the temperature in your home, keeping you comfortable while saving energy.
MERCURY NOTICE
If you are removing an old thermostat that contains mercury in a sealed tube (Fig. 1), do not place the old thermostat in the trash. Contact your local waste management authority for instructions regarding recycling and the proper disposal of the old thermostat.

INSTALLATION
Verify You Have Correct Thermostat
Make sure that the CT2800 is the correct thermostat for your heating/cooling system. Read the compatibility chart below to determine which system you have. If your system is not compatible with the CT2800, the table recommends an alternate Honeywell model. If you are unsure what type of thermostat is right for your system, visit us on the Web at www.honeywell.com/yourhome or call Honeywell Customer Care at 1-800-468-1502.
| Heating/Cooling System | Compatible with CT2800? | Alternate Model |
| Conventional Single stage systems that include warm air furnaces and hot water. | Yes | |
| Electric Baseboard Electric-powered heating strips located just above the floor, usually 120 to 240 volts. | No | CT1950 for 240 volts |
| Heating/Cooling System | Compatible with CT2800? | Alternate Model |
| Steam A steam boiler with radiator heat. | No | CT3600 |
| Heat Pump Heating and cooling are produced from the same outdoor unit (compressor) with no auxiliary or backup heat. | No | CT3600 |
| Multistage Heat Pump Heating and cooling are produced from the same outdoor unit (compressor) with auxiliary or backup heat. | No | CT3611 |
| Multistage Conventional A heating or cooling system with more than one stage. | No | See your contractor |
Step 1. Prepare for Installation
- Carefully unpack your new thermostat. Save your receipt and make sure you have the following parts:
- Thermostat and mounting plate
- Labels
- Screws and anchors
- Installation and Programming Instructions
Gather the needed tools and supplies listed below
| Required Tools and Supplies | Optional Tools |
| • Two AA alkaline batteries. Honeywell recommends Energizer® batteries. • Screwdriver. • Hand or power drill with 3/16-inch or 7/32-inch drill bit. • Pencil. | • Wire cutter/stripper or sharp knife. • Level. • Electrical tape. |
Make sure that your heating and cooling systems are working If there is a problem with either system, call a heating/air conditioning contractor—the problem may persist after you install the new thermostat.
IMPORTANT
To avoid damaging the compressor in the air conditioner, do not operate the cooling system when the tem- perature outdoors is below 50°F (10°C).
Step 2. Remove Old Thermostat

Turn off power to the heating/cooling system, either at the furnace or at the fuse/circuit breaker panel.
- Remove the cover of your old thermostat (Fig. 2).
- Unscrew and remove the old thermostat’s mounting plate from the wall, but do not disconnect the wires.
- Inspect old thermostat wiring. If wiring meets any of the following conditions, see special wiring instructions section after StepThe old thermostat is a clock thermostat with wires attached to the C or C1 terminals.
- The old thermostat has six or more wires, excluding wires attached to C or C1 terminals.
- The old thermostat has three wires.
- There are five wires connected to the old thermostat.
- There are extra wires that are not connected to the old thermostat.
- Using enclosed labels, mark wires with letter of terminal it is attached to on the old thermostat (Fig. 3). Do not label using colors. If labels
do not match letters on old thermostat terminals, see wiring cross reference table in Special Wiring Instructions section. Fig. 4. f. Disconnect the wires from the old thermostat and wrap the wires around a pencil to keep them from falling back into the wall.
- NOTE: Remember, if your old thermostat contains mercury, you must recycle it. See Mercury Notice for more recycling information
✓ Check your progress
Your wall should now look like Fig. 4
Step 3. Install Mounting Plate

- Separate the mounting plate from the thermostat using a coin, as shown in Fig 5.
- position the mounting plate on the wall. Be sure the mounting plate is flush against the wall and none of the wires are trapped behind it.
- Level the mounting plate and use a pencil to mark the center of the mounting plate screw holes.
- Remove the mounting plate and drill holes at the locations marked.
- For drywall, drill two 3/16-inch holes.
- For plaster or wood, drill two 7/32-inch holes. Fig. 6. e. If installing in drywall, gently tap the anchors (provided) into the drilled holes until they are flush with the wall.
- Reposition the mounting plate over the holes, pull the wires through the wiring opening, and loosely insert the mounting screws into each of the drilled holes or anchors (Fig. 6).
- Make sure the mounting plate is level and tighten the mounting screws
Step 4. Set Thermostat for Your Type of Heating System

IMPORTANT
Setting your thermostat cor-rectly for your type of heating system allows it to maintain accurate temperature control, minimize swings in the tem-perature of the room, and efficiently run the fan.
- Use the FUEL SWITCH on the back of the thermostat to set your new thermostat for the type of fuel that your heating system uses: F–gas or oil, or E–electric.
NOTE: This setting enables proper fan operation. - Use DIP switches 1 and 2 on the back of the thermostat to set your new thermostat for your type of heating sys-tem. See the Heating System Table on the next page to find the correct settings.
NOTE: These DIP switches are factory-set for a warm air, gas, or oil heating system. - The thermostat is set to display the temperature in degrees Fahrenheit (°F). If you want to display the temperature in degrees Celsius (°C), turn DIP Switch 3 to Off position.
- You can install the batteries and program your thermostat now, or you can wait until the thermostat is mounted on the wall. To install the batteries, see Step 7. To program the thermostat, see the Programming section.
Heating System Table
| Type of System | DIP Switches 1 and 2 | Fuel Switch |
| Warm air, gas, or oil heating system with an efficiency rating under 90%. (The furnace efficiency rating should be on the furnace.) | Use factory setting 1–On; 2–On | F |
| High-efficiency furnace such as a 90% or greater AFUE (Average Fuel Utilization Efficiency) unit | 1–Off; 2–On | F |
| Hot water boiler | 1–Off; 2–On | F |
| Electric furnace | 1–On; 2–Off | E |
Step 5. Wire Thermostat Terminals

- Hold thermostat as shown in Fig. 9.
- Using the labels on the wires, match letter of your old thermostat wire with the corresponding terminal on the back of your new thermostat.
- Loosen terminal screws and slip each wire beneath its matching terminal (Fig 10).
- Securely tighten terminals.
Step 6. Mount Thermostat

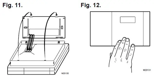
- Align the tabs at the top of the thermostat with the tabs at the top of the mounting plate (Fig. 11).
- Press the lower edge of the case to latch the bottom of the thermostat (Fig. 12)
Step 7. Install the batteries’
IMPORTANT
Batteries must be installed for programming and operation of
the thermostat and heating/cooling system. Honeywell recommends
using Energizer® batteries.
- Make sure that the System switch is set in the OFF position.
- Using a coin, open the battery door as shown in Fig. 13.
- Install the batteries. Make sure that the positive and negative terminals are oriented correctly as marked inside the battery case.
- Replace the battery door.
- remove the clear plastic label from the digital display.
✓ Check your progress
When the batteries are installed correctly, the digital display flashes all entries once, then begins to flash a default time and the current temperature (Fig. 14). The flashing continues until you begin to program the thermostat. You are now ready to program the thermostat. See Programming section.
Special Wiring Instructions
Clock thermostat with C or C1 terminals A clock thermostat has one or two extra wires attached to the C or C1 terminals that allow the clock to operate. These wires are not used during the installation of your new CT2800 Thermostat and must be insulated from each other to avoid damaging your electrical circuit.
- Make sure that power to the heating/cooling system is turned off.
- Locate the wires that are connected to the clock terminals marked C or C1.
- As you disconnect the wires, do not allow these wires to touch.
- Wrap the wires separately, using electrical tape to insulate the wires.
- Place the wires where they do not interfere with the operation of the new thermostat. You will not connect these wires to your CT2800 Thermostat.
- Continue with the installation.
Six or more wires
If your old thermostat has six or more wires (excluding clock wires attached to the C or C1 terminals), your heating/ cooling system is most likely a variation of a heat pump or multistage system. Your CT2800 Thermostat will NOT work with such systems and should be returned to the place of purchase. See the thermostat compatibility table for information about which programmable thermostat will work with your system.
Three thermostat wires
If you have three wires for heating only and can operate the fan using the fan ON switch, the CT2800 Thermostat will work with your system. Continue the installation procedure. If you have a three-wire heating-only system and cannot operate the fan using the fan ON switch, the CT2800 Thermostat will probably NOT work with your system. Contact your heating contractor for installation assistance.
Wires that are not connected to old thermostat
If there are extra wires that do not connect to your old thermostat, do not label them. You will not connect these wires to your new thermostat. Tape off the wires individually with electrical tape and place them where they will not interfere with the operation of the new thermostat. Continue the installation procedure.
Five wires connected to old thermostat
Your new thermostat has a factory-installed metal jumper between the R and Rc terminals (Fig. 15). Remove the jumper before wiring the R and Rc terminals
Thermostat C Terminal
This thermostat does not use the C wiring terminal
Old thermostat terminals that do not match new thermostat terminals
Use the table below to wire the new thermostat.
| Old Thermostat Terminal | Connect to New Thermostat Terminal | Description |
| R, RH, 4, V | R* | Power |
| Rc, R | Rc* | Power for cooling |
| W, W1, H | W | Heat |
| Y, Y1, M | Y | Cooling |
| G, F | G | Fan |
| O | Do not continue installation | Changeover in cool (O terminal) or changeover in heat (B terminal). You have a single-stage heat pump or zoning system. Select an alternate thermostat model. |
| B | ||
| C, X, B | Do not connect | Transformer common. |
| W2, H2 | Do not continue installation. | Second stage heat (W2, H2) or second stage cooling (Y2). You have a multistage heating/cooling system. Select an alternate thermostat model. |
| Y2 |
Remove factory-installed jumper between R and Rc terminals in 5-wire systems
PROGRAMMING
Faceplate Illustration and Description
![]() | 1 | Fan switch–Selects automatic fan operation or fan on. |
| 2 | Set Schedule–Puts the thermostat into programming mode. | |
| 3 | Set Clock/Day–Sets the clock and day. | |
| 4 | Time Ahead and Back–Sets the time ahead and back. | |
| 5 | Program periods–Current program period or period being programmed. | |
| 6 | Day of the week–Current day or day being programmed. | |
| 7 | Time–Current time or program time. | |
| 8 | Temperature–Room temperature or programmed temperature. | |
| 9 | SYSTEM ON–An arrow displays when the heating/cooling system is running. | |
| 10 | TEMPORARY–An arrow displays when a temporary override is made to the program. | |
| 11 | Temp Warmer and Cooler–Sets the temperature warmer and cooler. | |
| 12 | Run Program–Returns thermostat to normal operating mode | |
| 13 | Hold Temp–Holds a selected temperature. | |
| 14 | System switch–Selects Cool, Off, Heat. | |
Step 1. Set Current Time and Day

- Press
once.
The time
is displayed (Fig. 17). - Press
Time until the current time is displayed. Fig. 17. - Press again.
The day is displayed (Fig. 18). - Press
Time until the current day is displayed. Fig. 18. - Press
once.
The current time and day and the current temperature are displayed (Fig. 19).
Step 2. Learn About Programming Features
Your CT2800 Thermostat allows you to program schedules for both a heating season and a cooling season.
- During the heating season, you will want to set the normal room temperature higher and the energy-saving temperature lower.
- The reverse is true during the cooling season—the normal room temperature will be lower and the energy-saving temperature higher.
- For each season, you can set up to four program periods for the weekdays (Monday–Friday), and up to two program periods for the weekends (Saturday and Sunday). The program periods are defined in the following table.
| Program Period | Description | When Available |
| WAKE | The time when you get up and get ready to leave your home. You can set the system at a comfortable temperature for this period. | Weekdays and weekend |
| LEAVE | The time when you are regularly away from home. You can set up an energy-saving temperature for this period. | Weekdays only |
| RETURN | The time between returning home and going to bed. You can set the system at a comfortable temperature for this period. | Weekdays only |
| SLEEP | The time when you are sleeping. You can set up an energy-saving temperature for this period. | Weekdays and weekend |
Programming Tips
- You do not need to program times and temperatures for all program periods. If you decide not to program your thermostat, it automatically controls heating at 68°F (20°C), and cooling at 78°F
(26°C), 24 hours a day. - If you decide not to program weekend schedules, the temperature that is programmed for the weekday SLEEP schedule remains in effect until the next program period, which begins on Monday morning.
- The temperatures cannot be set any higher than 88°F (31°C) or any lower than 45°F (7°C).
- When pressing the buttons, use the ball of your finger or a soft pencil eraser. Using sharp fingernails or pencil
points can damage the keypad. - If you make an error at any time during programming, press . Then press
until
you reach the program period you last programmed.
Step 3. Program Heating Schedule
- Write in the times and temperatures that you want to program for your heating schedule.
| Heating Schedule | Program Period | WAKE | LEAVE | RETURN | SLEEP |
| Suggested Settings | Time | 6:00 AM | 8:00 AM | 6:00 PM | 10:00 PM |
| Temp | 70°F (21°C) | 62°F (16.5°C) | 70°F (21°C) | 62°F (16.5°C) | |
| Weekday (Mon–Fri) | Time | ||||
| Temp | |||||
| Weekend (Sat–Sun) | Time | ||||
| Temp |
- Set the System switch to HEAT.

- Press once
. A blank schedule is displayed (Fig. 20). Fig. 20. - Set the Monday–Friday WAKE time
by pressing Time until the desired time is displayed (Fig. 21). - set the Monday–Friday WAKE temperature by pressing Temp
until desired temperature is displayed - Press
to display a blank schedule for the next program period (Fig. 22) and repeat steps d. through f. for each weekday program period. Fig. 22. - Press
until the weekend schedule is displayed (Fig. 23). - Set the Saturday and Sunday WAKE time
by pressing Time until the desired time is displayed. Fig. 23. - Set the Saturday and Sunday WAKE temperature by pressing Temp
until desired temperature displays (Fig. 24). - Press
again to display blank schedule for SLEEP program period and repeat steps h. through to set program. - Press to start the program.

Step 4. Program Cooling Schedule
- Write in the times and temperatures you want to program for your cooling schedule.
| Cooling Schedule | Program Period | WAKE | LEAVE | RETURN | SLEEP |
| Suggested Settings | Time | 6:00 AM | 8:00 AM | 6:00 PM | 10:00 PM |
| Temp | 78°F (25.5°C) | 85°F (29.5°C) | 78°F (25.5°C) | 82°F (28°C) | |
| Weekday (Mon–Fri) | Time | ||||
| Temp | |||||
| Weekend (Sat–Sun) | Time | ||||
| Temp |
Set the System switch to COOL.
Repeat steps 3c. through 3k. to program the weekday and weekend cooling schedule.
Step 5. Check System

- Set the System switch to Heat, and the Fan switch to Auto.
- Press Temp
until the setting is 10°F (6°C) above room temperature (Fig. 25). Your heating system should start and the fan should run after a short delay. - Press
Temp until the setting is 10°F (6°C) below room temperature. Your heating system should shut off.
Verify that your cooling system works
IMPORTANT: To avoid damaging the compressor in the air conditioner, do not operate the cooling system when the tem-perature outdoors is below 50°F (10°C).
- Set the System switch to Cool, and the Fan switch to Auto.
- Press Temp
until the setting is 10°F (6°C) below room temperature (Fig. 26). Your cooling system and fan should start.
NOTE: When cooling setting is changed, thermostatcan delay up to five minutes before turning onair conditioner. This delay protects the compressor.
Fig. 26. - Press Temp
until setting is 10°F (6°C) above room temperature.Your cooling system and fan should stop. - Set the System switch to Off and the Fan switch to Auto.The cooling system and fan should be off.
OPERATION
Change Clock for Daylight/Standard Time
- Press
once. The time is displayed. - Press
and hold Time until the correct time is displayed. - Press
once. The current time and day and current temperature display.
Set Fan and System Switches
The switches on the bottom of the thermostat faceplate control the operation of your fan and the heating and cooling system. Set the Fan switch first and then set the System switch.
| Switch | Setting | Result |
| Fan | Auto | A single-speed fan turns on automatically with the air conditioner or furnace. A two-speed fan usually runs on high with the air conditioner and on low with the furnace. Auto is the normal setting for most homes. |
| On | The fan runs continuously. Use this setting for improved air circulation during special occasions or for more efficient air cleaning.
NOTE: In a heat-only system, the fan runs continuously only if the fan wire has been con- nected to the G terminal on the back of the thermostat. | |
| System | Cool | The thermostat controls your air conditioning system. |
| Off | Both the heating and air conditioning systems are off. | |
| Heat | The thermostat controls your heating system. |
Replace Batteries
As the batteries run low, your thermostat shows the following in the digital display
| If you see: | Batteries are: | You should: |
| Flashing “bAt Lo” | Low | Replace the batteries as soon as possible, within the month. |
| Blank display | Dead | Replace the batteries immediately. Your heating/cooling system is not operating. |
- Make sure that the System switch is set to the OFF position.
- Open the battery door.
- Press on the left side of the batteries to remove them.
NOTE: If new batteries are inserted within 20-30 seconds of removing old ones, reprogramming is not
needed. If display is blank, batteries are dead or incorrectly installed and reprogramming is needed. - Install new batteries. Make sure that positive and negative terminals are oriented as marked inside battery case.
- Close the battery door and set the System switch to HEAT or COOL.
NOTE: If “bAt Lo” continues to display after replacing the batteries, set System switch to OFF, insert batteries backward, wait for five to ten seconds, and return batteries to correct orientation. Then reprogram.
IMPORTANT:
Replace batteries once a year to prevent heating/cooling system from shutting down due to lack of battery power in thermostat. If leaving home for longer than a month, change batteries before leaving. Override program settings
NOTE: Make sure the System switch is set to either HEAT or COOL before making any changes to the schedule.
Change the temperature temporarily
Press
or until the desired temperature is displayed. An arrow is displayed, indicating that the change is temporary (Fig. 27).
NOTE: A temporary change to temperature lasts for current program period only. Heating/cooling schedule you programmed resumes when next scheduled program period is reached.To cancel temporary change before next scheduled program period, press
Hold a temperature indefinitely
Use the Hold Temp feature when you want to maintain a constant temperature indefinitely, such as when you go on vacation.
- Press
“HLd” is displayed (Fig. 28).
- Press Temp
until the desired temperature is displayed.
NOTE: To cancel the hold, press . Fig. 28. Check the current programmed temperature Press to
display temperature programmed for current program period. The SET indicator displays briefly along with the programmed temperature (Fig. 29). The display then returns to the room temperature.Fig. 29.
Check programs
Press
repeatedly to display the times and temperatures that you programmed.
- Press to
resume the program Cancel a program
- Press
until the desired program is displayed - Press
simultaneously.
FREQUENTLY ASKED QUESTIONS
| If… | Then… |
| Display does not come on | • Make sure the batteries are fresh and installed correctly. • Set System switch to Off. Remove batteries and insert backward for 5-10 seconds to reset thermostat. Replace batteries correctly; display should come on. |
| Temperature display does not go lower than 45°F (7°C) or higher than 88°F (31°C) during programming. | • Temperature limit setting is reached; range is 45°F to 88°F (7°C to 31°C). |
| Display shows flashing “bAt Lo.” | • The batteries are low; replace them as soon as possible. • If “bAt Lo” continues to display after replacing batteries, set System switch to OFF and insert batteries backward for 5-10 seconds. Replace batteries correctly; display should come on. |
| Temperature change occurs at wrong times | • Check program times for period in question. Be sure AM and PM indications are correct. Make sure current day and time are correct. Reprogram if necessary. |
| If… | Then… |
| Heating does not come on | • Check that the System switch is set to HEAT. • Check the system fuse or circuit breaker and replace or reset if necessary. • Check for correct wiring and good connections. • If display is blank or displays “bAt Lo,” install fresh batteries. • Allow time for the furnace to heat up and the fan to come on before checking for heat at the register. • If temperature setting is higher than current room temperature and SYSTEM ON arrow is displayed, thermostat is operating correctly. Contact heating contractor for assistance. |
| Cooling does not come on | • Check that the System switch is set to COOL. • Check the system fuse or circuit breaker and replace or reset if necessary. • Check for correct wiring and good connections. • If display is blank or says “bAt Lo,” install fresh batteries. • The thermostat has a built-in time delay on cooling. Allow 5-10 minutes after changing setting before air conditioner starts. • If temperature setting is lower than room temperature and SYSTEM ON arrow is displayed, thermostat is operating correctly. Contact ac contractor. |
| The house is too warm or too cool | • Press RUN PROGRAM to check the current temperature setting. • If desired, change the temperature setting. |
| Furnace cycles too often or system cycle length is too short or too long | • Adjust the screws on the back of the thermostat. |
| The thermostat current setting does not match the display temperature to within plus or minus 1° | • Plug the wiring hole in the wall behind the mounting plate with insulation to prevent drafts that might adversely affect thermostat operation. • Be aware that it is normal for the current setting and the displayed room temperature to differ on occasion. • During recovery from setback or setup, setting and displayed room temperatures can differ for up to 30 minutes after recovery period. |
CUSTOMER ASSISTANCE
Visit us on the Web at www.honeywell.com/yourhome or call Honeywell Customer Care at 1-800-468-1502. Before you call, please have the following information available:
- Thermostat model number and serial code (located under the battery cover)
- Type of heating/cooling system (hot water, warm air, oil, gas, ).
- Number of wires connected to the
NOTICE: This equipment is a Class B digital apparatus, that complies with Canadian Radio Interference Regulations, CRC c.1374.
LIMITED WARRANTY
Honeywell warrants this product, excluding battery, to be free from defects in workmanship or materials, under normal use and service, for a period of one (1) year from the date of purchase by the consumer. If, at any time during the warranty period, the product is defective or malfunctions, Honeywell shall repair or replace it (at Honeywell’s option) within a reasonable period of time.If the product is defective, return it, with a bill of sale or other dated proof of purchase, to the retailer from which you purchased it, or package it carefully, along with proof of purchase (including date of purchase) and a short description of the malfunction, and mail it, postage prepaid, to the following address:
- Honeywell Inc. USA
- Honeywell Canada: Dock 4 — MN10-3860
- Honeywell Limited/Honeywell Limitée 1885 Douglas Drive North 35 Dynamic Drive
- Golden Valley, MN 55422-3992Scarborough, Ontario M1V 4Z9
This warranty does not cover removal or reinstallation costs. This warranty shall not apply if it is shown by Honeywell that the defect or malfunction was caused by damage which occurred while the product was in the possession of a consumer. Honeywell’s sole responsibility shall be to repair or replace the product within the terms stated above. HONEYWELL SHALL NOT BE LIABLE FOR ANY LOSS OR DAMAGE OF ANY KIND, INCLUDING ANY INCIDENTAL OR CONSEQUENTIAL DAMAGES RESULTING, DIRECTLY OR INDIRECTLY, FROM ANY BREACH OF ANY WARRANTY, EXPRESS OR IMPLIED, OR ANY OTHER FAILURE OF THIS PRODUCT. Some states do not allow the exclusion or limitation of incidental or consequential damages, so this limitation may not apply to you.
THIS WARRANTY IS THE ONLY EXPRESS WARRANTY HONEYWELL MAKES ON THIS PRODUCT. THE DURATION OF ANY IMPLIED WARRANTIES, INCLUDING THE WARRANTIES OF MERCHANTABILITY AND FITNESS FOR A PARTICULAR PURPOSE, IS HEREBY LIMITED TO THE ONE YEAR DURATION OF THIS WARRANTY. Some states do not allow limitations on how long an implied warranty lasts, so the above limitation may not apply to you. This warranty gives you specific legal rights, and you may have other rights which vary from state to state. If you have any questions concerning this warranty, please write Honeywell Customer Relations Center, 1985 Douglas Dr. N., Golden Valley, MN 55422-3992, or call 1-800-468-1502. In Canada, write Retail Products ON15 Honeywell Limited/Honeywell Limitée, 35 Dynamic Drive, Scarborough, Ontario M1V 4Z9
Automation and Control Solutions
Honeywell International Inc.
Honeywell Limited-Honeywell Limitée 1985 Douglas Drive North
35 Dynamic Drive Golden Valley, MN 55422
Scarborough, Ontario M1V 4Z9


once.
you reach the program period you last programmed.

until the setting is 10°F (6°C) above room temperature (Fig. 25). Your heating system should start and the fan should run after a short delay.
Temp until the setting is 10°F (6°C) below room temperature. Your heating system should shut off.
“HLd” is displayed (Fig. 28).



















