01.352103.02.001 Air Conditioner
Instruction Manual
Instruction manual
Air conditioner
01.352103.02.001
01.352103.02.001 Air Conditioner
PARTS DESCRIPTION
SAFETY
- Please read this user’s manual carefully to ensure proper use, maintenance and installation.
- By ignoring the safety instructions the manufacturer cannot be held responsible for the damage.
- The appliance is for indoor use only.
- Do not use the unit on a socket that is damaged or that has not been installed correctly.
- Do not use the unit:
– near a source of fire.
– in an area where oil is likely to splash.
– in an area exposed to direct sunlight.
– in an area where water is likely to splash.
– near a bath, a shower or a swimming pool. - Never insert your fingers or objects into the air outlet. Take special care to warn children of these dangers.
- Keep the unit upright during transport and storage.
- Before cleaning the unit, always turn off or disconnect the power supply.
- Always turn off and disconnect the power supply before moving the unit.
WARNING: To avoid the risk of fire, do not cover the unit.- All the unit sockets must comply with the local electric safety requirements. If necessary please check.
- If the supply cord is damaged, it must be replaced by the manufacturer, its service agent or similarly qualified persons in order to avoid a hazard.
- If the supply cord is damaged, it must be replaced by the manufacturer, service agent or qualified person(s) in order to avoid a hazard.
- This appliance can be used by children aged 8 years and above, persons with reduced physical, sensory, and mental capabilities or persons with a lack of experience and knowledge if they have been given correct supervision or instruction concerning the use of the appliance in a safe way and understand the hazards involved. Children should not play with the appliance. Cleaning and user maintenance should not be carried out by children without supervision.
- This appliance is only to be used for household purposes and only for the purpose it is made for.
- Notes:
– In the case of any damage, please disconnect the power supply and contact the dealer or a designated repair shop.
– In any case, the power cord shall be firmly grounded.
– To avoid the possibility of danger, if the power cord is damaged, please disconnect the power supply. It must be replaced by the dealer or a designated repair shop.
Warning
- Please use the recommended defrosting and cleaning process from the manufacturer only. Do not accelerate the defrosting or cleaning process in any other way.
- The appliance shall be stored in a room without continuously operating ignition sources (for example: open flames , an operating gas appliance or an operating electric heater).
- Do not pierce or burn.
- Be aware that refrigerants may not contain an odor.
- The appliance should be installed, operated and stored in a room with a floor area larger than X m2. (X=4 for 5000Btu/h, 7000Btu/h, 8000Btu/h; X=7.7 for 9000Btu/h. 10000Btu/h, 10500Btu/h)
- Only contact an authorized service technician for repair or maintenance of this unit.
- Do not pull , deform or modify the power supply cord or immerse in water . Pulling or misuse of the power supply cord could result in damage to the unit and cause an electrical shock.
- Compliance with national gas regulations should be observed.
- Keep ventilation openings clear of obstructions.
- Any person who is involved with working on or opening a refrigerant circuit should hold a current valid certificate from an industry accredited assessment authority which authorizes their competence to handle refrigerants safely in accordance with an industry recognized assessment specification.
- Servicing should only be performed as recommended by the equipment manufacturer. Maintenance and repair requiring the assistance of other skilled personnel should be carried out under the supervision of a person(s) competent in the use of flammable refrigerants.
- Do not stop the unit by pulling out the power plug whilst in operation as this may cause an electric shock or fire due to heat generation unless strange sounds are heard or if strange smells or smoke appear from the unit.
Specific information regarding appliances with R 290 refrigerant gas.
- Thoroughly read all of the warnings.
- When defrosting and cleaning the appliance , do not use any tools other than those recommended by the manufacturing company.
- The appliance should not be stored in a room with continuously operating ignition sources (for example: open flames , an operating gas appliance or an operating electric heater).
- Do not puncture and do not burn.
- Appliance shall be installed, operated and stored in a room with a floor area larger than X m2. (X=4 for 5000Btu/h, 7000Btu/h, 8000Btu/h; X=7.7 for 9000Btu/h. 10000Btu/ h, 10500Btu/h)
- This appliance contains Y g (see rating label back of unit ) of R290 refrigerant gas.
- R290 is a refrigerant gas that complies with the European directives on the environment. Do not puncture any part of the refrigerant circuit.
- If the appliance is installed, operated or stored in a non-ventilated area, the room must be designed to prevent to the accumulation of refrigerant leaks that could result in a fire risk or explosion due to ignition of the refrigerant caused by electric heaters, stoves, or other sources of ignition.
- The appliance must be stored in such a way as to prevent mechanical failure.
- Individuals who operate or work on the refrigerant circuit must have the appropriate certification issued by an accredited organization that ensures competence in handling refrigerants according to a specific evaluation recognized by associations in the industry.
- Repairs must be performed based on the recommendation from the manufacturing company. Maintenance and repairs that require the assistance of other qualified personnel must be performed under the supervision of an individual specified in the use of flammable refrigerants.
Batteries
- Do not expose the battery to high temperatures or direct sunlight. Never throw batteries into the fire. There is a danger of explosion!
- Keep batteries away from children. Batteries are not a toy!
- Do not open the batteries by force.
- Avoid contact with metallic objects.(Rings, nails, screws et cetera) there is a danger of shortcircuiting!
- As a result of a short-circuit batteries may heat up consider-ably or even catch fire. this may result in burns.
- For your safety the battery poles should be covered with adhesive strips during transport.
- Do not touch a ruptured and/or leaking battery. If the liquid from the battery gets into your eyes, rinse your eyes as soon as possible with clean water, without rubbing your eyes. Immediately go to the hospital. If it is not treated properly, it can cause eye problems.
(CE) N 842/2006: This unit contains the refrigerant R290. The amount of refrigerant is less than 1kg, and is in a closed cooling circuit. The coolant does have zero ozone depletion potential, but is a so-called greenhouse gases under the Kyoto Protocol and may thus contribute to global warming, if it is released to the atmosphere. Therefore only trained technicians with refrigerant certificate make a filling or emptying. Your appliance does not have be refilled with refrigerant if used properly and has an undamaged coolant circuit. GWP: R290: 3
This product complies with conformity requirements of the applicable European Regulations or Directives.
This product complies with conformity requirements of the applicable UK Regulations.
Waste electrical products should not be disposed of with household waste. Please recycle where facilities exist. Check with your Lokal Authority or local store for recycling advise.
PARTS DESCRIPTION
| 1. Air inlet | 8. Hose connector (window end) |
| 2. Air filter | 9. Hot-air exhaust hose |
| 3. Control panel | 10. Hose connector (Air conditioner end) |
| 4. Power cord | 11. Windows slider kit + fixing plugs |
| 5. Air outlet | 12. Remote control |
| 6. Castor | 13. Batteries |
| 7. Drainage hole |

FUNCTION OF CONTROL PANEL
- Power (on/off) button
- Temperature buttons
- Mode button
- Fan speed adjustment button
- Timer (on/off) button

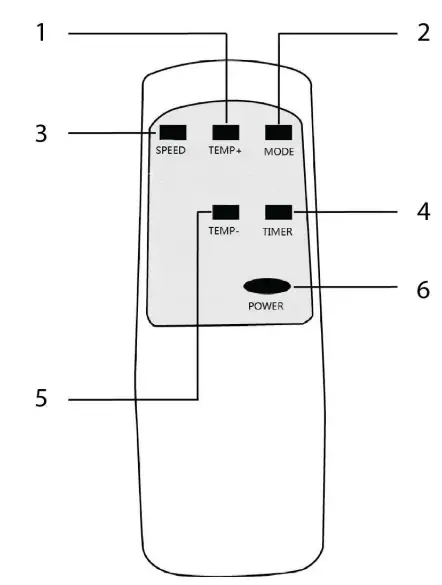
REMOTE CONTROL
- Temperature up button
- Mode button
- Fan speed adjustment button
- Timer (on/off) button
- Temperature down button
- Power (on/off) button
BEFORE THE FIRST USE
Before starting operations in this section:
- Find a place where there is power supply nearby.
- Install the exhaust hose and adjust the window position well.
- The supplied small white clips must be mounted on the window kit.
- Insert the power cord into a grounded AC220-240V~/50Hz socket.
- Press the power button to turn on the air-conditioner.
- Set the temperature range: 16°C-31°C.
- Check whether the exhaust hose has been mounted properly.
- When using functions on cooling and dehumidifying, allow at least 3 minutes between powering off and powering on.
USE
Cooling operation
- Press the “Mode“ button till the “Cool“ icon appears.
- Press the
or
button to select a desired room temperature. - Allow around 5 minutes for the cooling to start.
- Press the “fan speed” button to adjust airflow.
Dehumidifying operation
- Press the “Mode“ button until the “dehumidify indicator lamp“ blinks.
- The temperature will automatically be selected.
- The fan speed will automatically be selected.
Timer operation
Timer ON setting
- When the air-conditioner is OFF, press the “Timer“ button and select a desired ON time and adjust using the temperature buttons.
- The ON time can be adjusted to anytime in 0-24 hours.
Timer OFF setting
- When the air-conditioner ON, press “Timer“ button and select a desired OFF time through the temperature buttons.
- The OFF time can be adjusted to anytime in 0-24 hours.
Drainage
- After a lengthy operation and before storage, you will need to drain the water that has been collected. Please prepare a suitable location or tray to collect the water and remove the rubber stop from the drainage hole at the bottom of the unit. The water will then begin to drain. After this has stopped, you can insert the drain stop.
Internal Tank Water Full Alarm Function
- The inner water tank in the air-conditioner has one water level safety switch that controls the water level. When the water level reaches an anticipated height, the water full indicator lamp lights up. Follow above steps to drain the water.
TABLE
| Information requirements for single and double duct air conditioners | P | ||
| Information to identify the model(s) to which the information relates to: | |||
| Description | Symbol | Value | Unit |
| Rated capacity for cooling | Prated | 2,645 | kW |
| Rated capacity for heating | Prated | N/A | kW |
| Rated power input for cooling | Peer | 1. | kW |
| Rated power input for heating | Pcop | N/A | kW |
| Standby mode power consumption | EERd | 0.5 | W |
| OFF mode power consumption | Poff | N/A | W |
| Crankcase heater mode power consumption | Pck | N/A | |
| Information to identify the model(s) to which the information relates to: | |||
| Description | Symbol | Value | Unit |
| Rated Energy efficiency ratio | EERrated | 2.60 | |
| Rated Coefficient of performance | COPrated | N/A | |
| Electricity consumption of single/double duct appliances (indicate for cooling and heating seperately) | Qsd | SD: 1.017 (Cooling) | kWh/ h |
| Electricity consumption of double ducts appliance | Qdd | N/A | kWh/ h |
| Sound power level | Lwa | 65 | dB(A) |
INSTALLATION
- The air-conditioner should be installed on a flat and stable surface. Do not block the air outlet and allow at least 30cm around the unit.

- Socket wiring should be in accordance with the local electric safety requirements.
Exhaust Hose Installation
- Twist both ends of the hot-air exhaust hose(9) into the hose connector window end(8) and the hose connector air conditioner end(10).
- Insert the hose connector air conditioned end(10) into the openings at the back of the air conditioner.
- Fix the hose connector window end(8) to the nearest windowsill.

Window Slider Kit Installation
- Adjust the width (picture 1) or height (picture 2) of the windows slider(11) to fit the window opening and fixate the position of the windows slider(11) with the fixing plugs.
- Slide the window up to the slider.

CLEANING MAINTENANCE
- Before cleaning, disconnect the unit from any electric supply outlet.
- First clean the surface with a neutral detergent and wet cloth, and then wipe it with a dry cloth.
- Do not use gasoline or other chemicals to clean the unit.
- Do not wash the unit directly.
- Use a vacuum with a brush attachment to clean the coils and take care not to damage the coil fins during this process.
Air filter
- The air filter should be cleaned once every two weeks.
- Open the air inlet grille and take off air filter.
- Clean the air filter with neutral detergent in lukewarm 40°C water and allow to dry (not in direct sunlight).
- Re-install the air filter into the inlet grille.
TROUBLESHOOTING
| Troubles | Possible Causes | Suggested Remedies |
| The unit does not start when pressing power button. | Water full indicator lamp blinks and water tank is full. Room temperature is higher than the setting temperature.(Electric heating mode) Room temperature is lower that the setting temperature. (Cooling mode) | Drain the water out of the water tank. Adjust the temperature. |
| The unit doesn’t cool enough. | The doors or windows are not closed. There are heat sources inside the room. Hot air exhaust hose is not connected or blocked. Temperature setting is too high. Air inlet in blocked. | Make sure all the windows and doors are closed. Remove the heat sources if possible. Connect or clean the hot air exhaust hose. Reset the temperature. Clean the air inlet. |
| Auto Power- Off in heating mode. | Heating protection, when the temperature at the air outlet exceeds 70 degrees, the unit will power off automatically. | Allow room temperature to cool before re-starting the unit. |
| Noisy. | The ground is not level or not flat enough. The sound comes from the flowing of the refrigerant inside the air conditioner. | Place unit on a flat, level ground if possible. |
| E0 Code. | Room temperature sensor failed. | Replace room temperature sensor. |
| E2 Code. | Water tank full | Please empty the water tank. |
THE PRODUCT OR EQUIPMENT CONTAINS FLUORINATED GREENHOUSE GAS.
| Art.nr. | 01.352103.02.001 |
| Coolant: | R290 |
| Quantity in kg: | 0,16 |
| Global Warming Potential: | 3 |
ENVIRONMENT
This appliance should not be put into the domestic garbage at the end of its life, but must be offered at a central point for the recycling of electric and electronic domestic appliances. This symbol on the appliance, instruction manual and packaging puts your attention to this important issue. The materials used in this appliance can be recycled. By recycling of used domestic appliances you contribute an important push to the protection of our environment. Ask your local authorities for information regarding the point of recycling.
EU Address:
Smartwares Europe Jules Vemeweg 87
5015BH Tilburg Netherlands![]()
UK Address:
Smartwares Safety and Lighting Ltd.
Meriden House, 6 Great Cornbow
Halesowen, West Midlands, B63 3AB
United Kingdom


















