LIGHTING
Baseus i-wok Series USB Stepless Dimming Screen Hanging Light
Operation Manual
Please read the instruction manual carefully before using the product and keep it with proper care
Thank you for buying and using this product!
To ensure a better operating experience, please refer to your product manual. Installation instructions
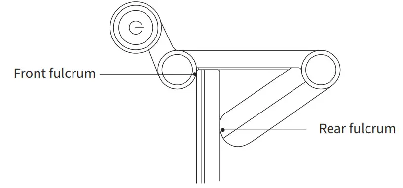
�.As shown in the figure: adjust the angle between the “gravity base” and “bracket”
according to the thickness of the screen that needs to install lamp;
Remarks: It is suitable for screens with a thickness of �mm-��mm (the thinner the screen,
the smaller the required angle; the thicker the screen, the larger the required angle)
Installation instructions
- As shown in the figure: adjust the angle between the “gravity base” and “bracket” according to the thickness of the screen that needs to install lamp; Remarks: It is suitable for screens with a thickness of 5mm-40mm (the thinner the screen, the smaller the required angle; the thicker the screen, the larger the required angle)

- Hang the lamp in the middle position above the screen. Pay special attention to the requirement that the fulcrum at the front end of the bracket must be close to the screen, the end fulcrum of the gravity base needs to be close to the back of the screen to form gravity support, and to complete installing and fixing.

- Plug the USB power cable into the USB port of the lamp body, and connect the other end to the USB output port of the computer or the 5V adapter.

- Turn the lamp body to adjust the angle of lighting and complete installing.

Instructions for use
- Press the switch button to turn on the light, and press and hold for 2 seconds to turn off the light (standby state).
- When turning on for the first time, the default is white light, press for the second time to switch to warm light, press for the third time to switch to mixed light (white light + warm light), press for the fourth time to switch back to white light, and then cycle.
- Stepless dimming: Turn the knob clockwise to turn the light brightness from low to high; turn the knob counterclockwise to turn the light brightness from high to the end; (the maximum rotation stroke is 1.5 turns);
- Memory function: Under USB power supply state, turn on the light after turning off the light, the default is the light state before the light is turned off; Remarks: Unplug the USB or turn on the lamp again after powering off; at this time, there is no memory function, and the default is a white light in the initial state.

List of Parts
USB power cable x1
manual x1
Product parameter
Model: DGIWK-01
Material: Aluminum alloy+PC+ABS
Rated voltage: 5V
Rated power: 5W (Max)
Operating temperature: ﹣20℃~﹢55℃
Color temperature: 2900K-5000k
Number of LEDs: 84
LED color rendering index: >80
Lumen value: 200LM
Product size: 464 x 100 x 38mm
Product weight: 500g
Precautions
- Please use 5V adapter or power supply equipment to supply power to the product, such as: computer, screen USB output port, 5V adapter, power bank, etc.; if you use adapter or power supply equipment above 5V to supply power to the product, it may cause product damage and bring security risks!
- Do not use in unstable places to avoid dumping and damaging the lamp.
- Do not cover flammable materials such as cloth or paper on the lamp to avoid fire accidents.
- Do not use this product in a damp environment.
- Do not plug or unplug the USB power cable with wet hands to avoid electric shock.
- Please clean the product regularly. When cleaning the surface of the product, please unplug the power supply and wipe it with a soft cotton cloth. Do not use liquid, spray cleaner or damp cloth for cleaning.
- Do not touch the hot part of the lamp body when the lamp is on or within 3 minutes after turning off the lamp to avoid burns.
- When not using the lamp for a long time, please pull out or cut off the power of the USB power cable.
- Do not disassemble the product by yourself.
- This product is for indoor use only.

http://weixin.qq.com/r/JnXp8RfE6kqVrVOS9yA0
Made in China
Shenzhen Times Innovation Technology Co.,Ltd.
Address: Room 03, 6/F,Building 3,WINLEAD,Fada Road,
Bantian Street, Longgang District, Shenzhen,China
TEL:+86 755-82433603 Hotline:4000-712-711
























