OVVO V-0930 Connection System User Guide
Releasable Specifications
V-0930 Releasable



V-0930RH



V-0930RC


V-0930PH


- Plunge
- Travel
- Out



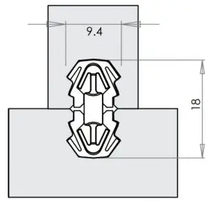
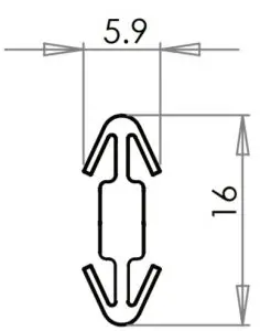
Depth Tolerances:
9.5mm, +/- 0.5mm
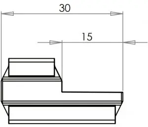
Travel (Centre to Centre): 20.6mm
Out to Out: 30mm
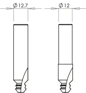
CNC speeds vary with different materials. Maximum cutter rotation: 18,000
How it works
Recommended Minimum Board Depth
Recommended minimum board depth or thickness values for the V-0930 will change depending on both the substrate material used as well as the joint angle.










Minimum recommended measurements shown below are categorized according to two distinct groups of board material which share broadly similar connector retention properties.
| HPL, Composite, Solid Surface, Hardwoods, Birch Plywood | ||
| A | B | |
| Fig 1 | 12mm | 12mm |
| Fig 2 | 12mm | 12mm |
| Fig 3 | 12mm | 12mm |
| Fig 4 | 14mm | 14mm |
| Fig 5 | 12mm | 19mm |
| Fig 6 | 12mm | 12mm |
| Fig 7 | 12mm | 12mm |
| Fig 8 | 12mm | 12mm |
| Fig 9 | 12mm | 12mm |
| Fig 10 | 12mm | 12mm |
| Particle/Chipboard, Softwoods, MDF | ||
| A | B | |
| Fig 1 | 15mm | 15mm |
| Fig 2 | 12mm | 12mm |
| Fig 3 | 16mm | 12mm |
| Fig 4 | 15mm | 15mm |
| Fig 5 | 15mm | 19mm |
| Fig 6 | 15mm | 12mm |
| Fig 7 | 15mm | 15mm |
| Fig 8 | 15mm | 15mm |
| Fig 9 | 15mm | 15mm |
| Fig 10 | 15mm | 15mm |
These are guidelines only and OVVO® recommends trial connections be made before going into full production
Shear & Tensile
![]() | 18mm Chipboard | 18mm MDF | 18mm Plywood | 12mm Plywood | 12mm HPL | |||||
| Permanent | Releasable | Permanent | Releasable | Permanent | Releasable | Permanent | Releasable | Permanent | Releasable | |
|
| 65kg | 52.5kg | 67.5kg | 42.5kg | 140kg | 82.5kg | 75kg | 57.5kg | – |
– |
![]() | 150kg | 130kg | 180kg | 130kg | 475kg | 325kg | 175kg | 110kg |
– |
– |
![]()
| 40kg | 40kg |
– |
– |
– |
– |
– |
– |
– | |
![]() | 85kg | 85kg | – |
– |
– |
– |
– |
– |
– |
– |
![]() | 50kg | 30kg | 50kg | 35kg |
– |
– | 85kg | 45kg | 100kg | 50kg |
![]() | 105kg | 70kg | 137.5kg | 90kg |
– |
– | 170kg | 105kg | 230kg | 140kg |
Releasable Instructions

http://ovvotech.com/help
Milling
- Plunge
- Travel
- Out


Depth Tolerances:
9.5mm, +/- 0.5mm
Travel Centre to Centre: 20.6mm
Rotation Speed: CNC speeds vary with different materials. Maximum cutter rotation: 18,000.
Recommended Spacing
- 35mm to 80mm
- : 100mm to 250mm

Housing
Assembly
Simply push or slide to connect
Release

How it works

Simply push or slide to connect
Permanent Instructions
Milling
- Plunge
- Travel
- Out


Depth Tolerances:
9.5mm, +/- 0.5mm
Travel Centre to Centre: 20.6mm
Rotation Speed: CNC speeds vary with different materials. Maximum cutter rotation: 18,000.
Housing
Assembly – Simply push into place to connect



Important! Set Depth Correctly
IMPORTANT! MAKE A TEST
| RECOMMENDED DEPTH TOLERANCES | |
| V-0930 | 9.5mm, +/- 0.5mm |
Set the depth tolerance to 9.5mm and adjust +/- 0.5mm if required
Less than 9mm will create an open joint

Greater than 10mm connector wing can not lock
Depth Setting Guide
- Make a long cut with your tooling. Approximately 200mm long and 9.5mm depth


- Cut in half

- Insert Connection Set and check depth.









































