CHAMBERLAIN Universal Wireless Keypad

CHAMBERLAIN Universal Wireless Keypad
Thank you for your purchase of the Universal Wireless Keypad
PLEASE DO NOT RETURN TO THE RETAIL STORE. If for any reason you have questions or need help with troubleshooting please call: 1-800-442-1255.
Read instructions thoroughly BEFORE beginning. If using this product with residential door openers, this product must be used only with door openers manufactured after 1993 that utilize photoelectric sensors. The photoelectric sensors are always located on or near the bottom of the door track.
GETTING STARTED
Locate the Learn button on the garage door opener. NOTE: Your garage door opener may look different.
Compatible with Chamberlain, Sears Craftsman, LiftMaster, Master Mechanic, Do It, Genie Intellicode**, Overhead Door, Stanley, Wayne Dalton or Linear garage door openers with Smart/ Learn button.
* For Genie Intellicode and DIP switch programming instructions, visit http://www.chamberlain.com/CatalogResourcesV3/en-us/shared/files/ tucmanuals/114A5072.pdf
PROGRAMMING
- Select and write a 4-digit PIN:
- Determine your opener ID using the list
| ID | Garage door opener brand and manufacturing dates |
| 1 | Linear garage door openers manufactured from 1997 to present. |
| 2 | Chamberlain, Sears Craftsman, LiftMaster, Master Mechanic and Do It garage door openers manufactured from 1997 to 2004 [Orange/Red Button]. |
| 3 | Chamberlain, Sears Craftsman, LiftMaster, Master Mechanic and Do It garage door openers manufactured from 2005 to present [Purple Button]. |
| 4 | Chamberlain, Sears Craftsman, LiftMaster, Master Mechanic and Do It garage door openers manufactured from 1993 to 1996 [Green Button]. |
| 5 | Genie Intellicode and Overhead Door garage door openers manufactured from 2005 to present (315 MHz). |
| 6 | Genie Intellicode and Overhead Door garage door openers manufactured from 1995 to present (390 MHz). |
| 7 | Stanley garage door openers manufactured in 1998 to present. |
| 8 | Chamberlain, Sears Craftsman, and LiftMaster garage door openers manufactured 2011 to present [Yellow Button]. |
| 9 | Wayne Dalton garage door openers manufactured in 1999 to present. |
(Write opener ID here
NSTALLATION
Install out of reach of small children at a minimum height of 5 feet (1.5 m) above floors, landings, steps or any other adjacent walking surface, and away from ALL moving parts of door. Secure keypad to a smooth surface. Mount the keypad out of the path of the moving garage door, but within sight of it (4″ [10 cm] clearance is needed for the cover).
- Remove
- Remove battery cover to expose mounting
- Remove battery and mount keypad using screws
- Reassemble
www.chamberlain.com • 1-800-442-1255
Chamberlain, LiftMaster and Moore-O-Matic are Trademarks of Chamberlain Group. Genie and Intellicode are Trademarks of GMI Holdings, Inc. Overhead Door is a trademark of Overhead Door Corporation. Linear is a Trademark of Linear Corporation. Master Mechanic is a Trademark of TruServ. Sears is a Trademark of Sears & Roebuck. Stanley is a Trademark of The Stanley Works. Wayne Dalton is a trademark of Wayne Dalton Corporation. Do It is a trademark of Do It Best Corporation.
![]()
To prevent possible SERIOUS INJURY or DEATH from a moving gate or garage door:
- Install keypad within sight of garage door, out of reach of small children at a minimum height of 5 feet (1.5 m) above floors, landings, steps or any other adjacent walking surface, and away from ALL moving parts of
- ALWAYS keep remote controls out of reach of NEVER permit children to operate, or play with remote controls.
- Activate gate or door ONLY when it can be seen clearly, is properly adjusted, and there are no obstructions to door
- ALWAYS keep gate or garage door in sight until completely NEVER permit anyone to cross path of moving gate or door.
WARNING: This product can expose you to chemicals including lead, which are known to the State of California to cause cancer or birth defects or other reproductive harm. For more information go to www.P65Warnings.ca.gov
Para Manual en Español ir a: http://www.chamberlain.com/CatalogResourcesV3/en-us/shared/files/ tucmanuals/114A3484SP.pdf
3 .Press and hold the * and # buttons until keypad stops flashing
4 .Enter PIN from step 1, press #.
5. Enter ID from step 2, press #.
6. Press and release the Smart/Learn button on the garage door opener
7. Enter your 4 digit PIN and press the 0 key
NOTE: For Genie and Overhead Door units, press the 0 key twice
8. To test and use, wait until lights turn off, enter your PIN and press the 0 key
CHANGING YOUR 4-DIGIT PIN
Enter existing PIN, press *, enter new PIN and press *.
To test and use, enter your new PIN and press the 0 key. If changing PIN does not work, follow programming steps above.
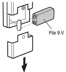
BATTERY
![]()
To prevent possible SERIOUS INJURY or DEATH:
- NEVER allow small children near
- If battery is swallowed, immediately notify doctor
Replace the 9-Volt battery when keypad light becomes dim or does not light up. Slide cover up, remove battery cover, and replace battery. Re-programming may be necessary

NOTICE: To comply with FCC and or Industry Canada (IC) rules, adjustment or modifications of this receiver and/or transmitter are prohibited, except for changing the code setting or replacing the battery. THERE ARE NO OTHER USER SERVICEABLE PARTS.
Tested to Comply with FCC Standards for Home or office use. Operation is subject to the following two conditions: (1) this device may not cause harmful interference, and (2) this device must accept any interference received, including interference that may cause undesired operation.
FAQ’S
The Universal Wireless Keypad will work with most garage door openers manufactured after 1993. If you are unsure of your opener’s manufacturing date, or if it is older than 1993, please call our Technical Support Department at 1-800-442-1255.
No. The Universal Wireless Keypad uses radio frequency technology and does not require line of sight with the photoelectric sensor.
Up to three (3) remotes can be programmed to work with the Universal Wireless Keypad.
The 4-digit PIN number is changed by entering a new 4-digit number and then pressing and holding the Learn button for 5 seconds. Release the Learn button and then enter your new 4-digit PIN number again, followed by pressing and holding the Learn button for another 5 seconds. Release the Learn button and you should see “PIN CHANGED” on the display screen. If you do not see “PIN CHANGED” on the display screen, repeat steps 2 through 4 above until you do see “PIN CHANGED” on the display screen.
Yes, you can use up to four (4) Universal Wireless Keypads in your home as long as they are each paired with a different remote control transmitter.
Yes, you can reprogram another remote control transmitter to work with your Universal Wireless Keypad as long as it is a different remote control transmitter than what was used when programming your Universal Wireless Keypad initially. You must follow step 1 through 6 listed under “Programming Your Remote Control Transmitter” above before pairing your new remote control transmitter with your Universal Wireless Keypad.
It is compatible with nearly every Chamberlain®, LiftMaster®, and Craftsman® garage door opener installed in North America. WARNING: The Wireless Keypad by Chamberlain is intended for use with any Chamberlain residential door openers manufactured after 1993 that use photoelectric sensors
Hold the star and hash tag buttons until the lights on the keypad begin to flash. And then stop flashing do not pause longer than five seconds between keystrokes. While programming.
So, to address the title question, are keypad garage door controls safe, the answer is simply, yes, they are very safe. Although no home security feature is 100% fail proof, the convenience and modern safety features that these keypads bring are well worth it.
Remove the cover from the garage door opener remote control to reveal the switches within. What is this? Press the * and # pound button at the same time followed by red light blinking a couple of times. Once the blinking light stops the password has been reset.
The “Learn” button on your garage door opener is located above the antenna wire that hangs from the motorhead, it may also be under a light cover. The “Learn” button will be either green, red/orange, purple or yellow.
Yes, smart garage door openers can be hacked through the WiFi network that they are connected to. If a hacker gains access to your WiFi network, it can access any devices connected to it, including your smart garage door opener.
VIDEO
www://chamberlain.com/clicker-universal-wireless-keypad/p/KLIK2U-P2MC




















