
MAXWELL
IN-CEILING MANUAL

WELCOME!
Thank you for purchasing our KLH Maxwell In-ceiling speakers. We have constructed these speakers with the finest quality materials to provide many years of outstanding performance.
FOR YOUR SAFETY
Important Safety Instructions!
- READ these instructions.
- KEEP these instructions.
- Heed all warnings.
- FOLLOW all instructions.
- DO NOT use this apparatus near water.
- CLEAN ONLY with a dry cloth.
- DO NOT block any ventilation openings. Install in accordance with the manufacturer’s instructions.
- Do not install near any heat sources such as radiators, heat registers, stoves, or other heat-producing appliances
- ONLY USE attachments/accessories specified by the manufacturer.
- DO NOT expose to excess moisture or liquids, and do not place containers with liquids on top of speakers.
The exclamation point, within an equilateral triangle, is intended to alert the user to the presence of important operating and maintenance (servicing) instructions in the literature accompanying the product.
The lightning flash with an arrowhead symbol within an equilateral triangle is intended to alert the user to the presence of uninsulated “dangerous voltage” within the product’s enclosure that may be of sufficient magnitude to constitute a risk of electrical shock to persons.
CAUTION RISK OF ELECTRIC SHOCK![]() DO NOT OPEN. |
| WARNING: Do Not Open! Risk of Electrical Shock. Voltages in this equipment are hazardous to life. No user-serviceable parts inside. Refer all servicing to qualified service personnel. |
EU COMPLIANCE INFORMATION:
Eligible to bear the CE mark, Conforms to European Union EMC Directive 2004/108/ EC; European Union Restriction of Hazardous Substances Recast (RoHS2) Directive 2011/65/EC; European Union WEEE Directive 2002/96/EC.
WE NOTICE
Note: This mark applies only to countries within the European Union (EU) and Norway.
This appliance is labeled in accordance with European Directive 2002/96/EC concerning waste electrical and electronic equipment (WEEE). This label indicates that this product should not be disposed of with household waste. It should be deposited at an appropriate facility to enable recovery and recycling.
SPEAKER PLACEMENT AND LOCATION

Optimum speaker placement depends on personal listening preference and, when used in home theater applications, follow standard listening recommendations for left,
center, right and surround usage
INSTALLATION
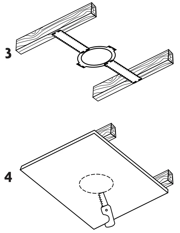
If you are installing in new construction, it is recommended that you use an install kit. These kits are put in place before the installation of drywall. The Install kit adds security and can be used to more accurately cut the hole for final installation (See illustrations 1-7).
Note: It is recommended that install Kit CK-8600 be used for the M-8602-C.
![]() | ![]() | ![]() |
For existing ceilings, make sure the speaker cutout is placed between two joists with plenty of clearance. Use a stud finder to locate joists, and mark locations. Be sure to avoid electrical wires and plumbing when cutting holes for installation. If you encounter electrical wiring or plumbing, you may have to consider another location (See illustration below).

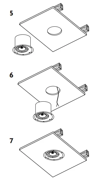
Make sure that grille is removed from the speaker. Connect the wires using the provided Phoenix connector. Insert stripped wire ends and tighten screws, and the wire should be locked into place. Positive and negative leads are marked on the connector. (See illustration top of next column) .

Place the speaker into the hole and press tightly against drywall with one hand, and tighten each of the screws until the speaker is firmly in place. Before placing the grille on the speaker, make sure there are no vibrations when playing. If so, check the installation screws to see if they need further tightening (See illustration below).

PAINTING THE SPEAKER GRILLE
This speaker grille may be painted. To apply spray paint to the grille, follow the manufacturer’s instructions and remember to remove the scrim before finishing. To paint the outer bezel on the press-fit speaker chassis, use the cutout template as a mask, and paint (See illustration below).

SEISMIC TAB
A seismic tab, located on the rear of the speaker, is used as a secondary means to secure the loudspeaker. Some construction codes may require its use. To utilize the seismic tab, run a support wire from a secure point and attach it to the tab. KLH recommends the use of this tab in all installations as a secondary means of support.
MAINTENANCE
These speakers require little maintenance and, if cleaning is needed, you may use a dry cloth. If the speaker is subject to smoke or grease, a mild detergent and moistened cloth may be used. DO NOT use harsh chemicals or abrasives.
LIMITED LIFETIME WARRANTY
This warranty is non-transferable and only applies to the individual that made the original purchase.
For warranty/service issues, please contact your place of purchase.
Please hold on to your original receipt.
The warranty covers any production and material defects of the purchased product.
The following is NOT COVERED by the warranty:
- Accidents, misuse, poor maintenance, electrical overloads such as lightning or voltage.
- No DIY must be installed by a CEDIA-qualified installer. No abuse.
- Incorrect installation of the product.
- Altered serial number.
- Transportation costs for service calls.
The replacement items cannot exceed the cost of the item under warranty.
The supplier is responsible for only repair or replacement.






















