i Safe MOBILE IS360.2 Industrial Smartphone

EX-RELEVANT SAFETY REGULATIONS
Use of this device assumes that the operator observes the conventional safety regulations and has read and understood Operating Manual, Safety Instructions and certificate.
When used in explosion hazardous areas, the following Safety Instructions must also be complied with:
- Inside explosion hazardous areas the covers of all interfaces (USB) must be closed.
- To ensure the IP-protection, it has to be ensured that the all gaskets are present and functional. There must be no large gap between the two halves of the housing and between the battery compartment cover and housing.
- The device may only be charged outside explosion hazardous areas using the Type C USB Cable or other equipment approved by i.safe MOBILE GmbH. The device may only be charged at temperatures between +5 °C to +35 °C.
- Physical connections to to IS360.2 are only allowed outside explosion hazardous areas using the Type C USB Cable or other equipment approved by i.safe MOBILE GmbH.
- The device may not be exposed to any aggressive acids or alkalis.
- The device may only be used in zones 2 or 22.
INFORMATION CONCERNING SAR CERTIFICATION
(SPECIFIC ABSORBATION RATE)
The SAR limit of Europe is 2.0 W/kg for the head and body, 4.0 W/kg for the limbs. The device has been tested against this SAR limit. The highest SAR value reported under this standard during product certification for use at the ear is 0.816 W/kg and when correctly worn on the body is 0.774 W/kg , limbs is 1.453 W/kg.
This device was tested for typical body worn operations with the back of the handset kept 5 mm from the body. The device complies with RF specifications when used at 5 mm from the body. Belt clips, holsters and similar accessories used should not contain metallic components in the assembly. The use of accessories that do not satisfy these requirements may not comply with RF exposure requirements, and should be avoided.
READ AND UNDERSTAND THE INSTRUCTIONS
⚠ PROTECT YOUR LIFE AND READ THE OPERATING MANUAL
This Operating Manual is part of the device IS360.2 (model M360A01). This Operating Manual provides important information for safe use of the device.
- Before using the device, read this Operating Manual carefully and pay particular attention to the “Safety” section and the warnings highlighted with the warning symbol. ⚠
- Also read the Safety Instructions before using the device.
You can find these at www.isafe-mobile.com/en/support/downloads. - Make sure you have access to this Operating Manual when you need it. You can find the current Operating Manual at www.isafe-mobile.com/en/support/downloads.
- Follow all instructions given on the device and on the packaging.
- Follow local safety regulations.
INTENDED USE
The IS360.2 is an Internet-capable communication device for industrial use in explosion hazardous areas of Zone 2/22, in accordance with Directives 2014/34/EU, 2014/53/EU and the IECEx system, among others.
Only use the device as described in this Operating Manual. Any other use is considered improper and can lead to death, severe injuries and damage to the device.
The manufacturer i.safe MOBILE GmbH does not assume any liability for damage caused by improper use. The warranty expires in the event of improper use.
WARRANTY
You can find the warranty conditions at www.isafe-mobile.com/en/support/service.
For any damage caused by computer viruses that you download while using the Internet functions responsibility is at your hand. There is no right of recourse against i.safe MOBILE GmbH.
EU DECLARATION OF CONFORMITY
You will find the EU declaration of conformity at the end of this Operating Manual or at www.isafe-mobile.com/en/support/downloads.
DEVICE OVERVIEW/FUNCTIONS

- 3.5 MM AUDIO JACK: Connect to the 3.5mm headphone or the 3.5mm wired hand microphone.
- FUNCTION KEY: Optional key used by different apps.
- LED INDICARTOR: Indicates charging and notification.
- POWER KEY: A long press switches the device on/off. A short press to turn on/off the display.
- FUNCTION KEY: Optional key used by different apps.
- LOUDNESS CONTROL: Volume up/Volume down.
- CURRENT APPLICATION: Shows all open applications.
- HOME KEY: Switch to the main screen.
- BACK KEY: Go to the previous screen.
- MICROPHONE: Use for calling
- LOUDSPEAKER
- USB INTERFACE: Connection for the Type C USB Cable or for connection to other devices.
- REAR CAMERA.
- MICROPHONE: Noice reduction microphone for hands-free calls
- BELT CLIP
- CHARGING CONTACTS
SAFETY
Read the “Safety” section of this Operating Manual carefully before using the device. If you do not follow these instructions or do not understand them, this could lead to death, severe injuries and damage to the device.
USER
Only trained users who are qualified in the use of Ex devices in explosion hazardous areas and who have read and understood this Operating Manual may use this device.
USE IN EXPLOSION HAZARDOUS AREAS
⚠ DANGER
Improper use can result in death or severe injuries!
- Only use the device in explosion hazardous areas of zones 2/22 or outside of explosion hazardous areas.
- Before entering a explosion hazardous area with the device,
• make sure that only approved accessories are connected to the device, see section “Connecting approved accessories”,
• make sure that no gap can be seen between the two halves of the device,
• make sure the device is not damaged,
• make sure that all the labels on the device are readable,
• make sure the battery is screwed tight. - If you use the device in a explosion hazardous area, read and follow the instructions in the “Possible User Errors” section.
- Switch off the device immediately and leave the explosion hazardous area without delay if
• malfunctions occur on the device,
• you have damaged the housing of the device,
• you have exposed the device to excessive loads,
• the labels on the device are no longer readable.
USE OUTSIDE OF EXPLOSION HAZARDOUS AREAS
⚠ DANGER
Improper use can result in death or severe injuries!
- Do not use the device in places where its use is prohibited.
- Turn off the device in clinics or other medical facilities.
- Always keep a safety distance of at least 15 cm between the device and a pacemaker or hearing aid. The device can affect the functioning of medical devices such as pacemakers and hearing aids.
- Make sure the volume level is not set at an excessive level when connecting earphones and headphones to protect your hearing.

- When using the device while driving a motor vehicle, be sure to comply with applicable national laws.
- Make sure you prevent the user errors described in the section entitled “Possible User Errors”.
- Only charge the device as described in the “Charging” section.
NOTICE
Incorrect use can damage the device.
- Only use accessories approved by i.safe MOBILE, as described in the section on “Connecting approved accessories”.
- Protect the device and the Adapter from strong electrical magnetic fields as for example those emitted by induction cookers or microwave ovens, for example.
- Do not touch the display with sharp objects.
POSSIBLE USER ERRORS
⚠ DANGER
Improper use can result in death or severe injuries! Follow the instructions below:
- Do not modify the device structurally.
- Do not expose the device to high temperatures.
- Do not expose the device to strong UV radiation.
- Do not expose the device to processes with high electrical charges.
- Do not expose the device to aggressive acids or bases.
When working in explosion hazardous areas, please note:
- Do not loosen the screws on the device.
- Do not connect any accessories to the device.
- Do not open any interface cover.
- Do not charge the device.
- Do not open the device.
- Do not damage the device.
SCOPE OF DELIVERY
Your device packaging contains the following:
- 1 x IS360.2
- 1 x Battery
- 1 x Quick Start Manual
- 1 x Safety Instructions
- 1 x Display Protection Foil
- 1 x Type C USB Cable
- 1 x Adapter universal (power supply and various country-specific power adapters)
- 1 x Screwdriver
- 1 x Display cleaning cloth
CELL BROADCAST
The device supports cell broadcast. Cell broadcast is a cellular service for sending messages to all recipients within a cell.
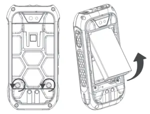
INSTALLING THE BATTERY
⚠ DANGER
Installing the wrong battery in the device, poses a risk of explosion, which could result in death or serious injuries! Only fit the battery supplied or an approved replacement battery in the device outside of explosion hazardous areas. The approved replacement battery can be found on the website www.isafe-mobile.com/en/products.
- Loosen the screws on the battery compartment using the Screwdriver provided.
- Remove the battery compartment cover.

- Place the battery in the battery compartment as shown.
- Check that the battery is seated correctly and securely.
- Reinstall the battery compartment cover and hand-tighten the screws using the Screwdriver provided.
INSERT/REMOVE SIM CARD/MICROSD CARD
⚠ DANGER
An incorrect procedure in explosion hazardous areas poses a risk of death or severe injuries!
Only open the device outside of explosion hazardous areas to insert or remove the SIM card.
NOTICE
Proceeding incorrectly when inserting/removing the SIM card/ SD card can damage the device and the SIM card/SD card. Switch off the device before inserting or removing a SIM card/ SD card. Do not charge the device while inserting or removing a SIM card.
- Loosen the screws on the battery compartment using the Screwdriver provided.
- Remove the battery compartment cover.
- Remove the battery from the battery compartment.
- Insert the SIM card/SD card into the slot. The slot is marked „SIM“ and „Micro SD“.
- Reinstall the battery. See section “Installing the battery”.
CHARGING
⚠ DANGER
An incorrect procedure in explosion hazardous areas poses risk of death or severe injuries!
Only charge the device outside of explosion hazardous areas. Do not charge the device in the vicinity of flammable substances.
NOTICE
Incorrect charging can cause damage to the device. Please note the following when charging:
- Only charge the device using the Type C USB Cable supplied.
- Only charge the device at ambient temperatures between +5 °C to +35 °C (+41 °F to +95 °F).
- Charge the device under dry indoor conditions only.
- Do not charge the device in environments dusty or humid.
Your device package contains a power supply, various country-specific power adapters and an Type C USB Cable.
- Connect the power adapter suitable for your country to the power supply.
- Connect the Type C USB Cable to the power supply.
- Connect the Type C USB Cable to the USB interface of the device.
SWITCHING ON/OFF
- Press and hold the on/off key for about 3 seconds.
- Enter the device or SIM PIN when the input dialog for the device or SIM PIN appears after switching on.
- Select the <Switch off> menu item if the power off menu appears when switching off.
USING THE DEVICE
When turning on the device for the first time, follow the instructions on the screen.
Further information on operating the device can be found at www.isafe-mobile.com/en/support/service under the menu item “FAQ”.
Detailed information on operating the Android operating system can be found at: https://support.google.com/android.
CONNECTING APPROVED ACCESSORIES
Only connect accessories approved by i.safe MOBILE to the device. Accessories approved by i.safe MOBILE can be found at www.isafe-mobile.com/en/products.
Approved accessories can be connected to the USB interface.
USB INTERFACE
⚠ DANGER
Improper use can result in death or severe injuries! Only use USB interface outside of explosion hazardous areas. Under no circumstances should you open the cover of the USB interface in explosion hazardous areas. The USB interface is used for charging and data transfer.
- Connect approved accessories or other devices to the USB interface only by using the Type C USB Cable.
CHANGING THE BATTERY
⚠ WARNING
If you replace the battery with the wrong battery in the device, there is a risk of explosion, which could result in death or serious injuries! Only replace the battery with an approved replacement battery outside of explosion hazardous areas. An approved replacement battery can be found on the website www.isafe-mobile.com/en/products.
- Loosen the screws on the battery compartment using the Screwdriver provided.
- Remove the battery compartment cover.
- Remove the battery from the battery compartment.

- Place the approved replacement battery in the battery compartment.
- Check that the battery is seated correctly and securely.
- Reinstall the battery compartment cover and hand-tighten the screws using the Screwdriver provided.
POSSIBLE DEVICE PROBLEMS
You can find information on possible device problems and how to rectify them at www.isafe-mobile.com/en/support/service under the menu item “FAQ”.
If you have any further questions, please contact the i.safe MOBILE repair service at www.isafe-mobile.com/en/support/service.
MAINTENANCE/REPAIR
The device itself has no serviceable parts.
⚠ WARNING
Incorrect repairs present a risk of explosion or fire, which can result in death or severe injuries! Do not open the device or carry out any repairs yourself.
Contact the i.safe MOBILE repair service at www.isafe-mobile.com/en/support/service if the device is not working normally, if the device needs to be repaired or if a replacement part is required.
RETURN SHIPMENT
Contact the i.safe MOBILE repair service at www.isafe-mobile.com/en/support/service.
DISTRIBUTION PARTNER
You can find the specialist distribution partner responsible for your country at www.isafe-mobile.com/en/contact.
CLEANING
NOTICE
Incorrect cleaning can cause damage to the device. Please note the following when cleaning:
- Turn off the device before cleaning.
- Do not charge the device while cleaning.
- Do not use chemical agents for cleaning.
- Clean the device and the Adapter with a soft, moistened antistatic cloth.
- Clean the display screen regularly with a soft, antistatic cloth.
STORAGE
NOTICE
Incorrect storage can cause damage to the device. Store the device at ambient temperatures between +5 °C to +35 °C (41 °F to +95 °F) and a humidity between 10 % to 60 %.
RECYCLING
NOTICE
Incorrect disposal of electronic products, batteries and packaging material puts the environment at risk. Please note the following when disposing of items:
- DO NOT throw away batteries with household waste.
- Always dispose electronic products, batteries and packaging material at the appropriate collection points. This way, you prevent uncontrolled waste disposal and promote the recycling of material resources.
TRADEMARKS
i.safe MOBILE and the i.safe MOBILE logo are registered trademarks of the i.safe MOBILE GmbH.
EEA Version: Comes with the GoogleTM app and Google Chrome™
Google and Google Play are trademarks of Google LLC.
All other trademarks and copyrights are the properties of their respective owners.
MAXIMUM OUTPUT POWER
| Frequency bands | Maximum output power |
| GSM 850 | 32.00 dBm |
| GSM 900 | 32,72 dBm |
| GSM 1800 | 28,28 dBm |
| GSM 1900 | 29,66 dBm |
| W1 | 21,32 dBm |
| W2 | 21,43 dBm |
| W4 | 21,86 dBm |
| W5 | 22,38 dBm |
| W8 | 22,52 dBm |
| LTE band 1 | 21,51 dBm |
| LTE band 2 | 21,95 dBm |
| LTE band 3 | 22,48 dBm |
| LTE band 4 | 22,48 dBm |
| LTE band 5 | 22,69 dBm |
| LTE band 7 | 21,38 dBm 21.51 fcc |
| LTE band 8 | 22,69 dBm |
| LTE band 20 | 22,88 dBm |
| LTE band 28 | 23,21 dBm |
| LTE band 38 | 22,91 dBm |
| LTE band 40 | 22,92 dBm 22.95 fcc |
| LTE band 41 | 22,82 dBm 22.87 fcc |
| BT | 5.83 (EIRP) dBm |
| WiFi | 17.60 (EIRP) dBm |
| NFC (13.56 MHz) | 54.44 (dBμV/m) |
Restrictions in the 5 GHz band:
According to Article 10 (10) of Directive 2014/53/EU, the packaging shows that this radio equipment will be subject to some restrictions when placed on the market in Belgium (BE),Bulgaria (BG), the Czech Republic (CZ),Denmark (DK), Germany (DE), Estonia (EE), Ireland (IE), Greece (EL), Spain(ES), France (FR), Croatia (HR), Italy (IT), Cyprus (CY), Latvia (LV), Lithuania(LT), Luxembourg (LU), Hungary (HU), Malta (MT), Netherlands (NL), Austria(AT), Poland (PL), Portugal (PT), Romania (RO), Slovenia (SI), Slovakia (SK),Finland (FI), Sweden (SE), the United Kingdom (UK), Turkey (TR), Norway(NO), Switzerland (CH), Iceland (IS), and Liechtenstein (LI). The WLAN function for this device is restricted to indoor use only when operating in the 5150 to 5350 MHz frequency range.
![]() | AT | BE | BG | CH | CY | CZ | DE |
DK | EE | EL | ES | FI | FR | HR | |
| HU | IE | IS | IT | LI | LT | LU | |
LV | MT | NL | PL | PT | RO | SE | |
| SI | SK | TR | UK |
CONTACT/SERVICE CENTER
FOR FURTHER QUESTIONS PLEASE CONTACT OUR SERVICE CENTER:
- i.safe MOBILE GmbH, i_Park Tauberfranken 10, 97922 Lauda Koenigshofen, Germany
- [email protected]
- https://support.isafe-mobile.com
EU DECLARATION OF CONFORMITY
EU – Declaration of Conformity according to directive 2014/34/EU, 2014/53/EU, 2012/19/EU, 2011/65/EU (2015/863/EU)The company i.safe MOBILE GmbH declares under its sole responsibility that the product to which this declaration relates is in accordance with the provisions of the following data, directives and standards:
|
IC Statement for i.safe MOBILE IS360.X (Model M360A01)
This device complies with Industry Canada licence-exempt RSS standard(s)
Operation is subject to the following two conditions:
(1) This device may not cause interference, and
(2) This device must accept any interference, including interference that may cause undesired operation of the device.
This equipment complies with IC radiation exposure limits set forth for an uncontrolled environment. End user must follow the specific operating instructions for satisfying RF exposure compliance. This transmitter must not be co-located or operating in conjunction with any other antenna or transmitter.
These requirements set a SAR limit of 1.6 W/kg averaged over one gram of tissue. The highest SAR value for this model phone when tested for use at the ear is 1.15 W/Kg and when worn on the body is 0.952 W/Kg. The maximum scaled SAR in hotspot mode is 0.952 W/Kg. This device was tested for typical bodyworn operations. To comply with RF exposure requirements, a minimum separation distance of 15 mm must be maintained between the user’s body and the handset, including the antenna. Third-party beltclips, holsters, and similar accessories used by this device should not contain any metallic components.
Body-worn accessories that do not meet these requirements may not comply with RF exposure requirements and should be avoided. Use only the supplied or an approved antenna.
This Operating Manual complies with these standards: IEC 60079, IEC 82079, ANSI Z535.6
Document No. 1057MM01REV00
Version: 2021-08-27
(c) 2021 i.safe MOBILE GmbH
i.safe MOBILE GmbH
i_Park Tauberfranken 10
97922 Lauda-Koenigshofen
Germany
Tel. +49 9343 60148-0
[email protected]
www.isafe-mobile.com
EX MARKINGS
ATEX:
II 3G Ex ic IIC T4 Gc
II 3D Ex ic IIIC T135°C Dc
EU Type Examination Certificate:
EPS 21 ATEX 1 126 X
CE-designation: ![]()
IECEx:
Ex ic IIC T4 Gc
Ex ic IIIC T135°C Dc
IECEx Certificate: IECEx EPS 21.0043X
Temperature range:
-10°C … +60°C (EN/IEC 60079-0)
-10°C … +50°C (EN/IEC 62368-1)
Manufactured by: i.safe MOBILE GmbH
i_Park Tauberfranken 10
97922 Lauda-Koenigshofen
Germany

























