ENPULY M6 Series M6 Plus Water Flosser

When using electrical products, safety precautions should be strictly followed, especially when children are present.
To reduce the risk of electrocution:
- USB cord should always be handled with dry hands and kept in dry surroundings.
- Check the charging unit for damage before the first use and during the life of the product.
WARNINGS:
- Do not plug this device into a voltage system that is different from the voltage system specified on the charger.
- Warranty is VOID if product is disassembled for ANY reason.
- Do not direct water under the tongue, into the ear, nose or other delicate areas.
- Use this product only as indicated in these instructions or as recommended by your dental professional.
- Only use tips and accessories that are recommended by manufacturer.
- Keep the charging unit away from heat-ed surfaces.
- Do not drop or insert any foreign object into any opening on the product.
- Remove any oral jewelry prior to use of this product.
- Do not use if you have an open wound on your tongue or in your mouth.
- Supervise children 10 years and above and individuals with special needs in the proper use of this product.
- There are no consumer serviceable parts in this appliance.
- It does not require maintenance.
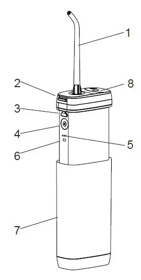
PRODUCT DESCRIPTION

- Tip
- Tip eject button
- Type-C charging port
- Power/mode button
- LED power/mode indicator
- Battery charge indicator
- Reservoir
- Reservoir fill door/tip storage door
Tips
A. Classic Tip General Use
B. Orthodontic Tip Braces/General Use
C. Periodontal Tip Periodontal Pockets/ Furcations
D. Tongue Cleaner Fresher Breath
*not all tips are included in all models
GETTING STARTED
*No need to charge prior to first use. Try and get refreshed as soon as you get the
ΣnPULY® Water Flosserette. Every full charge takes about 4 hours and lasts up to 30 days. You can charge your Water Flosserette with the charger provided or on your PC or lap-top.
Choose a tip that fits your need, insert tip into the tip port at the top of the Water Flosserette. To remove the tip, press the eject button and pull tip from the device.
WARNING: Do not press tip eject button while unit is running.
Rotate the reservoir door to open, pull the reservoir to a full stretch, and fill with water of temperature of your liking.
Start the device by short pressing the power/mode button.
Adjust modes by long-pressing the power/mode button. Start with the soft mode and increase to your liking.
When finished
Turn the unit off and empty any liquid left in the reservoir. Push back the reservoir. Keep your classic tip in the tip storage and floss whenever you need to.
MAINTENANCE
Cleaning
The water reservoir is removable for easy cleaning. It is recommended that the reservoir is removed and cleaned weekly. The water reservoir is not dishwasher safe.
Removing hard water deposits
Hard water deposits may build up in your unit. To clean internal parts: add 1 tablespoon of white vinegar to a full reservoir of warm water. Point the tip into sink. Turn unit ON and run until reservoir is empty. Rinse by repeating with a full reservoir of clean warm water. This process is recommended to be done every 1 to 3 months.
Battery care and disposal
If the device is to be stored for six months or more, be sure to fully charge it prior to storage. At the end of the battery life, please recycle the unit at your nearest recycle center per local requirements. The battery is not replaceable.
LIMITED 2-YEAR WARRANTY
ΣnPULY® Water Flossers have no consumer serviceable electrical items and do not require routine service maintenance.
For all your warranty and accessory needs, please email [email protected].
In the FAQ video section on our website www.enpuly.com you will find answers to most of your questions.
ΣnPULY® warrants to the original purchaser/ owner of this product that it is free from defects in materials and workmanship for two years from date of purchase. Save your re-ceipt as your proof of purchase date. ΣnPULY® reserves the right to request the product to be returned for analysis to confirm the claim falls within our warranty policy. We will replace the product provided the product has not been abused, misused, altered, or damaged after purchase and was used according to these instructions. For repair or replacement services provided for by the guarantee, please contact, via email, Hello@ Enpuly.com. Upon request of the consumer, copy of the guarantee will be provided by email or mail. This limited warranty excludes accessories or consumable parts such as tips, brush heads, etc.



















