HSS501
Owner’s manual

Enjoy it.
Hair Straightener

IMPORTANT NOTES
- Before using this device read the instruction manual and follow the instructions inside.The manufacturer is not liable for any damages caused by the misuse of this device due to inappropriate handling. Please keep this manual for future reference.
- This device is for domestic use only. Do not use for any other purposes.
- The device should only be connected to an earthed socket with values corresponding to the values on the rating label.
- It is necessary to check, if total current consumption of all devices plugged into the wall outlet does not exceed the fuse in the circuit.
- If you are using an extension cord, make sure that the total power consumption of the equipment plugged into the extension cord does not exceed the extension cord power rating. Extension cords should be arranged in such a way as to avoid tripping hazards. Do not let cord hang over edge of counter, or touch any hot surface.
- The device is not designed to be controlled via an external timer, separate remote control, or other equipment that can turn the device on automatically.
- Before maintenance work always disconnect the unit from the power supply.
- When unplugging the power cord from electrical outlet, hold it by the plug only and remove the plug carefully. Never pull the cable as it may cause damage to the plug or power cord. Damage to the power cord or plug can lead to an electrocution hazard.
- Never leave the product connected to the power source without supervision.
- Never put the power cable, the plug or the whole device into the water or any other liquids.
- The device should be cleaned regularly complying with the recommendations described in the section on cleaning and maintenance.
- Do not place the device near sources of heat, flame, an electric heating element or a hot oven. Do not place on any other device.
- This equipment can be used by children aged 8 years and over under as long as supervision is provided. People with reduced physical or mental capabilities, as well as people with no previous experience of using this equipment must be supervised and made aware of the risks. The instruction manual should be used as a reference for the safe use of this equipment. Children should not play with the equipment. Children without ensured supervision should not be allowed to perform the cleaning and maintenance of equipment.
- Additional precautions should be taken when using this device in the presence of children or pets. Do not allow children to play with the device.
- Never use the product close to combustibles.
- Never expose the product to atmospheric conditions such as direct sun light or rain, etc… Never use the product in humid conditions (like bathroom or camping house).
- The power cable should be periodically checked for damage. If the power cable is damaged the product should be taken to a professional service location to be fixed or replaced to prevent any hazards from arising.
- Never use the product with a damaged power cable or if it was dropped or damaged in any other way or if it does not work properly. Do not try to repair the defected product by yourself as it can lead to electric shock. Always return the damaged device to a professional service in order to repair it. All the repairs should only be performed by authorized service professionals. Any attempted unauthorised repairs performed can be a hazard to the user.
- Only Original accessories should be used, as well as accessories recommended by the manufacturer. Using accessories which are not recommended by the manufacturer may result in damage of the device and may render the device unsafe for use.
Warning! Do not use this equipment close to baths, showers, sinks, swimming pools and similar water sources.- In order to provide additional protection, it is recommended to install residue current device (RCD) in the power circuit, with residual current rating no more than 30 mA. Contact professional electrician in this matter.
- Do not immerse the unit in water and do not allow device to get wet. In case of falling down into water unplug immediately. Do not put hands into water if device is plugged in. Before next use, the appliance should be checked by qualified electrician.
- Do not touch the appliance with wet hands.
- Do not wrap the cord around the appliance.
- Some components get very hot. Avoid direct contact of the hot surface with the skin, especially the eyes, ears, face and neck.
- A device should be placed on the surfaces resistant to heat during operation, or when it cools down.
- Make sure that the device cool down completely before storing.
Device is compliant with EU directives:
– Low voltage directive (LVD)
– Electromagnetic compatibility (EMC)
Device marked CE mark on rating label
When this crossed-out wheeled bin symbol is attached to a product it means that the product is covered by the European Directive 2012/19/EU. Please inform yourself about the local separate collection system for electrical and electronic products. Used appliance should be delivered to the dedicated collecting points due to hazardous components, which may affect the environment. Do not dispose this appliance In the common waste bin.
Environmental information
All unnecessary packaging has been omitted. We have tried to make the packaging easy to separate into three materials: cardboard (box), polystyrene foam (buffer) and poly ethylene (bags, protective foam sheet).Your system consists of material which can be recycled and reused if disassembled by a specialized company. Please observe the local regulations regarding the disposal of packaging materials, exhausted batteries and old equipment.
Your products is designed a manufactured with high quality materials and components, which can be recycled and reused.
TECHNICAL DATA
Power: 58W
Power supply: 100-240V~50/60Hz
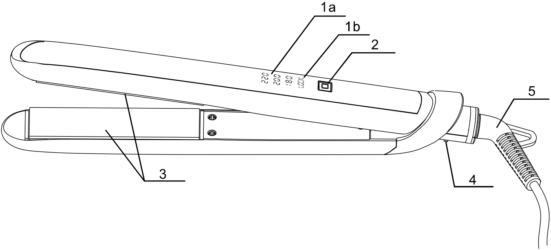
1. LED display
1 a. Temperature information
1 b. Key lock indicator
2. On/off switch with temperature setting
3. Floating tourmaline plates
4. Travel lock
5. Power cord
USING THE HAIR STRAIGHTENER
- Plug power cord into the mains. When you press the on/off button the temperature setting changes gradually from 180°C, 200°C to 220°C.The subsequent press will switch off the device.
- Double quick pressing of the on/off button locks the switch. Key lock indicator will then illuminate. In order to unlock on/off switch, press the on/off button twice quickly.
- The hair straightener heats up very fast. While heating up the selected temperature setting blinks repeatedly on the display. When the desired temperature is reached, then the display shows the temperature steadily. Usually, the selected temperature can be reached within one minute approximately.
- Make sure the hair is clean, well combed and dry. Seperate hair into relatively small sections, not wider than 2-4 cm. Place a small hair section between the plates, starting from the roots. Clamp hair between the plates and slide the straightener slowly down the entire hair strand, from root to tip. Repeat the process if necessary until the desired look is achieved.
- WARNING! During hair straightening the steam may come from the appliance’s working area. This may occur while hair is wet or the hair was earlier treated with liquids or sprays like hairspray.
- WARNING! After 60 minutes the straigtener automatically shuts off. In order to resume operation, press the on/off button and switch it on again.
- After finished usage turn the straightner off and unplug it.
- It is recommended not to comb or brush hair shortly after finished styling. When hair cools down the styling effect will be stronger and long-lasting.
CLEANING AND MAINTENANCE
Regularly check and clean the straightener from the remaining hairs or any styling products. Wipe the plates with a damp cloth and then wipe them with a dry cloth. Do not use any sharp cleaning utensils for cleaning the plates. Never immerse the appliance in water or any other liquid.
Enjoy it.
Competence Center
2N-Everpol Sp. z o.o.
ul. Putawska 403A
02-801 Warsaw, Poland
phone: +48 22 331 99 59
e-mail: [email protected]
www.blaupunkt.com
In case of questions or problems please contact our service.
Tel. 00 48 22 331 99 54
E-mail: [email protected]
All rights reserved. All brand names are registered trademarks of their respective owners. Specifications are subject to change without prior notice.
Warning! Do not use this equipment close to baths, showers, sinks, swimming pools and similar water sources.

















