Massagun S1
Massage Device Instructions
V 1.0

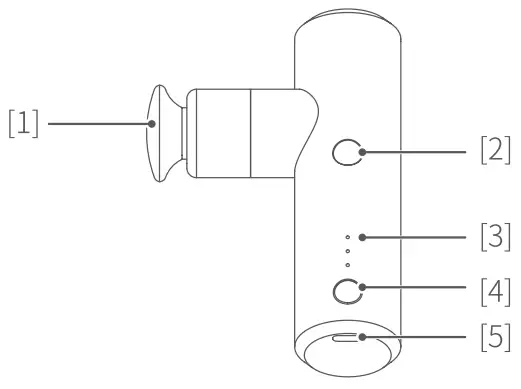
Overview
- Flat Head (Non-removable)
- Shortcut Button (Single tap to pause / Start)
- Charging / Gear indicator
- Power Button (Selecting gears / Power switch)
- Charging Port

| Flat Head: Massage flat major muscle groups on the back. | |
| Spherical Head: Relax soft tissues and sensitive muscles. | |
| Cone Head: Percuss deep tissues like meridians and acupoint, etc. | |
| U-shaped Head: Massage neck (not cervical vertebrae) and tendon. |
Start to Use
Massage Head Combination
The device can be used directly with the built-in massage head (flat head) on it, or combine with another one depending on your needs. See complete combination as below.
Power ON / OFF
Power on: Long press the power button. Power off: Long press the power button.
Selecting Gears
Single tap power button to switch gears cyclically after powering on.
| Gears | Rated rotate speed (rpm) |
| First gear | About 2000 |
| Second gear | About 2400 |
| Third gear | About 3000 |
| Fourth gear | Auto change |
| Standby mode | 0 |
| Gears | First gear | Second gear | Third gear | Fourth gear |
| Gears indicator |
Locked Motor Protection
If the rotating is blocked , the product will enter standby mode automatically (indicators remain).Users can restart it (return to the previous gear) by single tap the shortcut button in 15 seconds. If no operation in 15 seconds, the product will power off automatically.
Do not press the massage head firmly to block the motor rotation while using, otherwise it will reduce the service life of the product!
Intelligent Protection
This product has intelligent protection function. In order to prevent muscle injury caused by massaging for a long time, it will enter standby mode (indicators remain) after working for 10 minutes continuously. Single tap the shortcut button in 5 seconds to restart and return to the previous gear and re-timing. If there is no operation within 5 seconds, it will power off automatically.
Battery Indicator
| Indicator while using | Description |
| Indicator light keeps on | Fully charged |
| Indicator light flashes | Need recharging |
| Turn off after indicator light flashes | Low power, will auto power off |
| Indicator while charging | Description |
| Charging completed | |
![]() | High level of battery |
![]() | Medium level of battery |
![]() | Low power |
Charging
Do not use it while charging. 
Specifications
Product Name: Massagun S1
Product Model: Sport-M310
Input: 5V =
Power: 10W
Operating Voltage Range: 6.6V-8.4V
Operating Temperature Range:0°C -+40°C
Charging Temperature Range: 0°C -+40°C
Battery Capacity: 1100mAh
Charging Time: About 2Hours
Weight: About 220g
Size: 79 x 33 x 116.5mm
Theoretical Battery Life: About 4 Hours (Test in lab environment under the first gear with flat head)
List
- Main Body (including flat head) …………….X 1
- Spherical Head ……………………..X 1
- Cone Head …………………………….. X 1
- U-shaped Head …………………………X 1
- USB-C Cable……………………………..X 1
- Manual …………………………………. X 1
WARNING - This appliance is not intended for use by persons (including children) with reduced physicaksensory or mental capabilities, or lack of experience and knowledge, unless they have been given supervision or instruction concerning use of the appliance by a person responsible for their safety.
- Children should be supervised to ensure that they do not play with the appliance.
- It must only be supplied at safety ettra low voltage corresponding to the marking on the appliance.
- This appliance contains batteries that are only replaceable by skilled persons.
- This appliance contains batteries that are non-replaceable.
Contraindications
- Cancers
- Metal bone anastomosis (do not use the device directly in the fracture area)
- Osteoporosis
- Vein thrombosis and pulsation
- Hypertension
- Pregnant woman
- Varicose veins
- Acute inflammation
- Do not massage the bony area
- Do not massage surgical site
- Do not massage the cervical vertebrae and spine
- Kidney stones (do not use the device near the kidneys)
- Do not massage one episode for more than 5 minutes
Safety Instruction
- It is recommend to massage your body after wearing dry clothes or placing a clean and dry towel on massage part, then gently press and move the device.
- High-speed and high-pressure massage can only be used to soft tissues without feeling pain or maladjustments. Do not massage head and any skeletal sites with high speed and high pressure.
- Massage the same part of the body with high speed and high pressure for a long time will.
- Please keep your fingers, hair or, any other body hair away from the extendable part of the device to prevent pinching and clipping.
- Do not discard or misuse this device.
- Do not modify this device by yourself without permission.
- Do not operate or charge the device when nobody was around.
- This device is for adults only.
- People with contraindicated symptoms should use this device with doctor’s permission.
Notice
- Make sure the massage head is not blocked by external force when the device is power on. If it is blocked, it will pause for a while and try to restart.
- DO NOT contact the product with water or other liquid for the massage device is not waterproof.
- DO NOT disassemble the product except marked detachable. It need send to after-sales or authorized service center to fix it if you accidentally disassemble it and cause abnormal work. The relevant costs are borne by users.
- Prolonged continuous operation may cause the motor surface temperature to rise, please operate carefully.
- DO NOT drop or strike the product. If the product is abnormal, contact After-sales support.
Storage and Maintenance
- Keep the product out of the reach of children and pets.
- DO NOT leave the product near heat sources such as a furnace or heater. DO NOT leave the product inside of a vehicle on hot days.
- Please storage the product in a dry environment.
- DO NOT overcharge or overuse the battery, otherwise, it will cause damage to the battery core.
- Never use the product when the temperature is too high or too low.
Precautions when discarding the product
The lithium ion battery used by the product is a recyclable and renewable valuable resource.
When discarding it, please have it handled by a professional agency that can recycle chargeable batteries. Before discarding the product, power it off and take the lithium ion battery out from it following the steps below. The battery is to be disposed of safely.
- Disassemble the top housing with help of a professional tool.
- Pull out the batter terminals from the PCBA.
- Use a professional cutter to cut off the bottom housing and then take out the battery.
FCC regulatory conformance:
This device complies with Part 15 of the FCC Rules. Operation is subject to the following two conditions:
- This device may not cause harmful interference.
- This device must accept any interference received, including interference that may cause undesired operation.
NOTE: This equipment has been tested and found to comply with the limits for a Class B digital device, pursuant to part 15 of the FCC Rules. These limits are designed to provide reasonable protection against harmful interference in a residential installation. This equipment generates uses and can radiate radio frequency energy and, if not installed and used in accordance with the instructions, may cause harmful interference to radio communications. However, there is no guarantee that interference will not occur in a particular installation. If this equipment does cause harmful interference to radio or television reception, which can be determined by turning the equipment off and on, the user is encouraged to try to correct the interference by one or more of the following measures:
- Reorient or relocate the receiving antenna.
- Increase the separation between the equipment and receiver.
- Connect the equipment into an outlet on a circuit different from that to which the receiver is connected.
- Consult the dealer or an experienced radio/TV technician for help.
NOTE: The manufacturer is not responsible for any radio or TV interference caused by unauthorized modifications to this equipment. Such modifications could void the user’s authority to operate the equipment.
This document is subject to change without notice.
To read or download the instruction manual, please access the product page by scanning the QR code below or visiting our official website via the following link. https://www.breoeu.com
APEX CE SPECIALISTS LIMITED UNIT 3D NORTH POINT HOUSE, NORTH POINT BUSINESS PARK, NEW MALLOW ROAD, CORK, T23 AT2P,
IRELAND Email: [email protected]
https://www.breoeu.com/
Shenzhen Breo Technology Co., LTD
19/F, Hisense Southern Building,
No.1777 Chuangye Road,Yuehai Street,
Nanshan District, Shenzhen 518054,
China Web: www.breo.com
Email: [email protected]
![]()



WARNING


















