UNITECK UNIFIX Reclining Arch Mounting Bracket

Dear customer, thank you for purchasing one of our Uniteck products. Please read all the instructions carefully and thoroughly before using the product.
DESCRIPTION
The Unifix 100.1 WP, 150.1 WP, 200.1 WP and 300.1 WP mounting brackets were specially designed to fix Unisun photovoltaic panels from 50 to 150W, for installations up to 300W.

They can be fixed on tubes with a diameter from 20 to 45mm (minimum length of 100mm). With their galvanized steel structure and corrosion-resistant stainless-steel screws, they are perfectly suited for marine usage. Equipped with a multi-position tilting system, the Unifix mounting brackets optimize your electrical performances according to the chosen orientation.

| Electrical performances according to panel tilt and orientation angle | |||||
| 0° | 30° | 60° | 90° | ||
| East | 93% | 90% | 78% | 55% | |
| South-East | 93% | 96% | 88% | 66% | |
| South | 93% | 100% | 91% | 68% | |
| South-West | 93% | 96% | 88% | 66% | |
| West | 93% | 90% | 78% | 55% | |
Avoid shaded areas or objects that may cast shadow on the panels The Unifix 200.1WP and 300.1WP mounting brackets are respectively made with two Unifix 100.1WP and Unifix 150.1WP systems, fixed to each other thanks to connecting pieces.
RECOMMENDATIONS
Mount Unifix mounting brackets only on tubes with a sufficient loading capacity. Take into account the additional weight with panel :
| Mounting brackets | Compatible UNISUN panels | ||||||||
| Unisun 50.12 M | Unisun 50.24 M | Unisun 55.12 BC | Unisun 80.12 M | Unisun 100.12 M | Unisun 100.24 M | Unisun 110.12 BC | |||
| Unifix 100.1 WP = 4,2 Kg | x 1 4,1 Kg | x 1 4,1 Kg | x 1 4,1 Kg | x 1 6,3 Kg | x 1 7,0 Kg | x 1 7,5 Kg | x 1 7,0 Kg | ||
| Unifix 200.1 WP = 9,8 Kg | x 2 4,1 Kg | x 2 4,1 Kg | x 2 4,1 Kg | x 2 6,3 Kg | x 2 7,0 Kg | x 2 7,5 Kg | x 2 7,0 Kg | ||
| Mounting brackets | Compatible UNISUN panels | ||||||||
| Unisun 150.12 M | Unisun 150.24 M | Unisun 150.12 BC | |||||||
| Unifix 150.1 WP = 7,4 Kg | x 1 9,8 Kg | x 1 10,8 Kg | x 1 4,1 Kg | ||||||
| Unifix 300.1 WP = 15,9 Kg | x 2 9,8 Kg | Not compatible | x 2 4,1 Kg | ||||||
SAFETY INSTRUCTIONS
- Take appropriate measures to prevent accidents during your mounting session.
- If the mounting brackets are exposed to sunrays for a long period of time, there is a risk of getting burnt. Protect yourself accordingly.
- When finished, check and make sure that all of your brackets and panels are fixed properly.
INSTALLATION – FIXING
Provided elements for all models

Provided elements (following)

Pieces n°2 are removable and sliding. During assembly, be careful in order to avoid that some pieces fall overboard.
Recommended tightening torque
- Nb. Average friction coefficient µ=0,20 / Tightening at 50% of the elastic limit.
| Screw | Torque |
| M5 | 5,10 Nm |
| M 6 | 8,80 Nm |
| M 8 | 21,50 Nm |
| M 10 | 44,00 Nm |
Fix the rotating basis on your tube of a diameter from 20 to 45mm (handrail, arch…)
According to the diameter, use the 4 corresponding U-bolts.

Fix both rotating pieces N°4 on the rotating basis N°1.

Fix the plate N°3

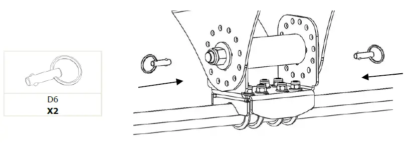
Fix your solar panel and the 2 rings N°5.

TILTING SETTINGS
The UNIFIX mounting brackets are provided with 2 fixing rings, in order to adapt the tilt thanks to a rope system.

It is also possible to adapt the tilt settings thanks to a pole.

The angle can be maintained thanks to 2 ball pins and/or a rope system.

WINTERING

During wintering, it is possible to keep the angle of your Unifix thanks to the M6 screws provided.
UNIFIX 200.1 WP AND 300.1 WP

Connect both solar panels thanks to the connecting pieces N°7 and N°8 according to the models (Unifix 200.1WP and Unifix 300.1WP).

WARRANTY
The warranty covers any defect, manufacturing flaws for 2 years from the date of its purchase (pieces and workforce).
Warranty does not cover:
- normal wear of parts
- falty mounting of bracket
In case of failure, return the product to your distributor by attaching:
- the dated proof of purchase (receipt, bill…)
- explanatory note of the failure
Caution: Our after-sales service does not accept carriage forward/ collected returns. After the warranty, our after-sales service ensures repairs after acceptance of a quotation.
After-sales service contact : Uniteck- 1 Avenue de Rome Zae Via Europa – bâtiment Cassis 34350 Vendres -France
E-mail: [email protected]
Fax: +33 (0)4 88 04 72 20


















