BD7A
ORIGINAL INSTRUCTIONS
CROSS LINE LASER

Notes regarding the instructions
Symbols
Warning of electrical voltage
This symbol indicates dangers to the life and health of persons due to electrical voltage.
Warning of laser radiation
This symbol indicates dangers to the health of persons due to laser radiation.
Warning
This signal word indicates a hazard with an average risk level which, if not avoided, can result in serious injury or death.
Caution
This signal word indicates a hazard with a low risk level which, if not avoided, can result in minor or moderate injury.
Note
This signal word indicates important information (e.g. material damage), but does not indicate hazards.
Info
Information marked with this symbol helps you to carry out your tasks quickly and safely.
Follow the manual
Information marked with this symbol indicates that the instructions must be observed.
You can download the current version of the instructions and the EU declaration of conformity via the following link:

https://hub.trotec.com/?id=42892
Safety
Read this manual carefully before starting or using the device. Always store the manual in the immediate vicinity of the device or its site of use.
Warning
Read all safety warnings and all instructions.
Failure to follow the warnings and instructions may result in electric shock, fire and/or serious injury. Save all warnings and instructions for future reference.
- Do not use the device in potentially explosive rooms or areas and do not install it there.
- Do not use the device in aggressive atmosphere.
- Do not immerse the device in water. Do not allow liquids to penetrate into the device.
- The device may only be used in dry surroundings and must not be used in the rain or at a relative humidity exceeding the operating conditions.
- Protect the device from permanent direct sunlight.
- Do not remove any safety signs, stickers or labels from the device. Keep all safety signs, stickers and labels in legible condition.
- Do not open the device.
- Avoid looking directly into the laser beam.
- Never point the laser beam at people or animals.
- Only use the device, if sufficient safety precautions were taken at the surveyed location (e.g. when performing measurements along public roads, on building sites etc.). Otherwise do not use the device.
- Observe the storage and operating conditions (see Technical data).
Intended use
Only use the device BD7A for the projection on non-reflective surfaces as an aid to determine and check horizontal, vertical and / or parallel lines. Observe and comply with the technical data.
To use the device for its intended use, only use accessories and spare parts which have been approved by Trotec.
Foreseeable misuse
Do not use the device BD7A in potentially explosive atmospheres or in liquids. Never point it at people or animals.
Trotec accepts no liability for damages resulting from improper use. In such a case, any warranty claims will be voided.
Any unauthorised modifications, alterations or structural changes to the device are forbidden.
Personnel qualifications
People who use this device must:
- be aware of the dangers that occur when working with laser measuring devices.
- have read and understood the instructions, especially the Safety chapter.
Residual risks
Warning of electrical voltage
There is a risk of a short-circuit due to liquids penetrating the housing!
Do not immerse the device and the accessories in water. Make sure that no water or other liquids can enter the housing.
Warning of electrical voltage
Work on the electrical components must only be carried out by an authorised specialist company!
Warning of explosive substances
Do not expose the batteries to temperatures above 60 °C! Do not let the batteries come into contact with water or fire! Avoid direct sunlight and moisture. There is a risk of explosion!
Warning of laser radiation
Laser class 2, P max.: < 1 mW, λ: 400-700 nm,
EN 60825-1:2014
Do not look directly into the laser beam or the opening from which it emerges.
Never point the laser beam at people, animals or reflective surfaces. Even brief eye contact can lead to eye damage.
Examining the laser output aperture by use of optical instruments (e.g. magnifying glass, magnifiers and the like) entails the risk of eye damage.
When working with a laser of class 2, observe the national regulations on wearing eye protection.
Warning
Risk of suffocation!
Do not leave the packaging lying around. Children may use it as a dangerous toy.
Warning
The device is not a toy and does not belong in the hands of children.
Warning
Dangers can occur at the device when it is used by untrained people in an unprofessional or improper way! Observe the personnel qualifications!
Caution
Lithium-ion batteries might catch fire in case of overheating or damage. Ensure a sufficient distance to heat sources, do not subject lithium-ion batteries to direct sunlight and make sure not to damage the casing. Do not overcharge lithium-ion batteries. If the battery is not permanently installed in the device, only use smart chargers that switch off automatically when the battery is fully charged. Charge lithium-ion batteries in due time before they are discharged completely.
Caution
Keep a sufficient distance from heat sources.
Note
To prevent damages to the device, do not expose it to extreme temperatures, extreme humidity or moisture.
Note
Do not use abrasive cleaners or solvents to clean the device.
Information about the device
Device description
The cross line laser BD7A projects laser lines on surfaces, e.g.
to drill holes in a straight line – similar to using a spirit level.
The device comes with the following features:
- Projects light-intense laser lines up to a distance of 10 m
- Self-levelling up to an inclination of 3°
- Laser projection either as cross line, individual vertical line or horizontal 360° line
- Self-levelling function can be deactivated
- Battery-powered
- Integrated ¼ inch tripod connection
Device depiction

| No. | Designation |
| 1 | 360° laser outlet opening |
| 2 | Operating elements |
| 3 | Vertical laser outlet opening |
| 4 | 1/4 inch tripod connection |
| 5 | Micro USB charging port |
Operating elements

| No. | Operating element |
| 6 | ON / OFF / operating mode button |
| 7 | ON / OFF / lock switch |
| 8 | Levelling indicator “Level” (green LED) |
| 9 | Levelling indicator “NO Level” (red LED) |
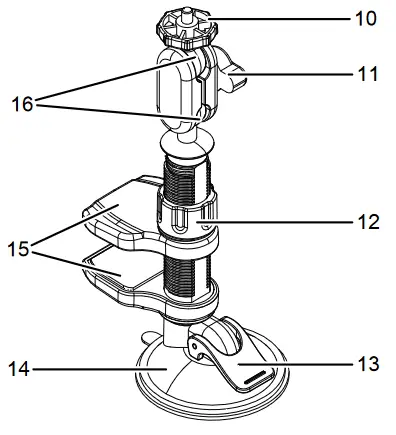
Multifunctional mount

| No. | Designation |
| 10 | Screw (for tripod connection) |
| 11 | Wing nut (for ball joints) |
| 12 | Locking screw (for retainer with jaws) |
| 13 | Lever (for suction cup) |
| 14 | Suction cup |
| 15 | Retainer with jaws |
| 16 | Ball joint |
Technical data
| Parameter | Value |
| Model | BD7A |
| Device dimensions (length x width x height) | 60 x 60 x 115 mm |
| Device weight | 280 g |
| Multifunctional mount dimensions (length x width x height) | 125 x 81 x 220 mm |
| Multifunctional mount weight | 189 g |
| Interfaces | Micro USB port for charger |
| Range | 10 m |
| Operating temperature | -20 °C to 50 °C |
| Storage temperature | -20 °C to 50 °C |
| Levelling duration | < 6 $ |
| Laser output | < 1 mW (650 nm) |
| Laser accuracy | at 0°: ±0.8 mm/m at s 3°: ±1 mm/m |
| Laser class | 2 |
| Energy | |
| Battery | Li-ion |
| Capacity | 1000 midi |
| Charging time | 3 to 4 hours |
| Nominal voltage | 3,7 V |
| Operating time | approx. 5 hours of continuous operation |
| Automatic switch-off | When the battery is low, the levelling indicator “NO Level” (9) flashes for one minute before the device turns off automatically. |
Scope of delivery
- 1 x Cross line laser BD7A
- 1 x Multifunctional mount
- 1 x USB cable
- 1 x Manual
Transport and storage
Note
If you store or transport the device improperly, the device may be damaged.
Note the information regarding transport and storage of the device.
Transport
When transporting the device, ensure dry conditions and and protect the device from external influences e.g. by using a suitable bag.
The supplied Li-ion batteries are subjects to the requirements of dangerous goods legislation.
Observe the following when transporting or shipping Li-ion batteries:
- The user may transport the batteries by road without any additional requirements.
- If transport is carried out by third parties (e.g. air transport or forwarding company), special requirements as to packaging and labelling must be observed. This includes
consulting a dangerous goods specialist when preparing the package.
– Only ship batteries if their housing is undamaged.
– Please also observe any other national regulations.
Storage
When the device is not being used, observe the following storage conditions:
- dry and protected from frost and heat
- protected from dust and direct sunlight
- the storage temperature complies with the values specified in the Technical data
Operation
Charging the battery
The battery is partially charged upon delivery to avoid damage to the battery caused by a deep discharge.
Info
Upon delivery, the battery is only slightly charged.
Therefore, please charge the battery for at least 5 hours before using the device for the first time.
Warning of laser radiation
Laser class 2, P max.: < 1 mW, λ: 400-700 nm,
EN 60825-1:2014
Do not look directly into the laser beam or the opening from which it emerges.
Never point the laser beam at people, animals or reflective surfaces. Even brief eye contact can lead to eye damage.
Examining the laser output aperture by use of optical instruments (e.g. magnifying glass, magnifiers and the like) entails the risk of eye damage.
When working with a laser of class 2, observe the national regulations on wearing eye protection.
Warning of electrical voltage
Before each use of the charger or power cable, check for damages. If you notice damages, stop using the charger or power cable!
Note
The battery can be damaged in case of improper charging.
Never charge the battery at ambient temperatures below 10 °C or above 40 °C.
The battery should be charged prior to initial start-up and when the battery is low. To do so, please proceed as follows:
- Unscrew the device from the multifunctional mount.
- Plug the charger into a properly fused mains socket.
- Connect the charging cable to the device’s micro USB port.

- During charging, the levelling indicator “NO Level” (9) is illuminated in red.
- When the battery is fully charged, the levelling indicator “Level” (8) lights up in green.
Switching the device on
The device has two different modes of operation. On the one hand, you can use the device with the automatic self-levelling function, on the other, it is possible to set the laser to a fix position.
Self-levelling function of the laser
- Place the device on a horizontal, solid surface or secure it to the multifunctional mount.
- Slide the on/off switch (7) to
to switch the device on.
⇒ Both the vertical laser and the horizontal 360° laser switch on.
⇒ The device automatically compensates for unevenness within the self-levelling range of ± 3°. During levelling, the laser lines move.
⇒ When levelling is completed, the levelling indicator “Level” (8) lights up in green.
Info
When exceeding the permissible inclination range of 3°, the lasers begin to flash and the levelling indicator “NO Level” (9) will be illuminated in red. If so, self- levelling will not function properly. This may be due to the fact that the surface structure is not even enough or covered with dirt, so the device is positioned too obliquely to be able to self-level within the possible angle of 3°. Check the surface, and reposition the device if required. - Press the operating mode button (6) to activate the vertical laser only or the horizontal 360° laser only.

- Slide the on/off switch (7) back to
to switch the device off.
Using the multifunctional mount
Proceed as follows to use the multifunctional mount with the device:
- Screw the mount into the tripod connection at the device.
By means of the suction cup you can affix the mount to smooth surfaces such as tiles or glass.
Alternatively, the clamping jaws can be used to fasten it to a shelf or the edge of a table.
Swivelling the device
- Loosen the wing nut (11).

- Swivel the device on the ball joints to move it into the desired position.
- Retighten the wing nut (11).
Application example for the universal clamp
- Loosen the locking screw (12) and push the clamping jaws (15) apart until they fit onto the carrier (here: shelf).

- Tighten the screw (12) until the jaws (15) of the universal clamp are firmly attached to the carrier and the mount can no longer be moved to and fro.
- To unfasten the clamping jaws (15), loosen the screw (12) until the retainer can be removed from the carrier without difficulty.

Application example for the suction cup
- Make sure that the surface is smooth and clean.
- Disengage the lever (13) at the suction cup (14).

- Press the suction cup (14) against the surface (here: tiles).
- Engage the lever (13) until it locks in place.

- Check the suction cup (14) for tight fit.
- In order to remove the suction cup (14) again, release the lever (13), then pull at the lug of the suction cup.

Maintenance and repair
Charging the battery
The battery should be charged prior to initial start-up and when the battery is low. To do so, please follow the instructions in the chapter Operation.
Cleaning
Clean the device with a soft, damp and lint-free cloth. Make sure that no moisture enters the housing. Do not use any sprays, solvents, alcohol-based cleaning agents or abrasive cleaners, but only clean water to moisten the cloth.
Repair
Do not modify the device or install any spare parts. For repairs or device testing, contact the manufacturer.
Errors and faults
The device has been checked for proper functioning several times during production. If malfunctions occur nonetheless, check the device according to the following list.
Self-levelling is not possible:
- Check whether the lock switch (7) is released and the laser can move freely. If the laser is not able to move back and forth freely within the 3° angle despite the lock switch being released, please contact the customer service.
- Check the surface on which the device is placed. If necessary, remove coarse dirt.
Laser lines are not properly horizontal/vertical:
- Check the laser for freedom of movement in self-levelling mode. If the laser is not able to move back and forth freely within the 3° angle despite the lock switch being released, please contact the customer service.
Horizontal laser lines are partially interrupted:
- The lateral struts of the protective cover accommodating the laser cause interruptions in the horizontal 360° laser line at defined points. This cannot be avoided. Should you detect interruptions at other points, please check the glass covers of the protective cover for scratches or dirt, which may be the cause of the laser beam interruptions. Remove external dirt with a damp cloth. Do not use any aggressive cleaning agents (see chapter Cleaning)! If you detect dirt underneath the glass covers or scratches, please contact the customer service.
Laser is weak:
- Check the battery status and recharge the battery if necessary.
Disposal
Always dispose of packing materials in an environmentally friendly manner and in accordance with the applicable local disposal regulations.
The icon with the crossed-out waste bin on waste electrical or electronic equipment is taken from Directive 2012/19/EU. It states that this device must not be disposed of with the household waste at the end of its life. You will find collection points for free return of waste electrical and electronic equipment in your vicinity. The addresses can be obtained from your municipality or local administration. You can also find out about other return options that apply for many EU countries on the website https://hub.trotec.com/?id=45090. Otherwise, please contact an official recycling centre for electronic and electrical equipment authorised for your country.
The separate collection of waste electrical and electronic equipment aims to enable the re-use, recycling and other forms of recovery of waste equipment as well as to prevent negative effects for the environment and human health caused by the disposal of hazardous substances potentially contained in the equipment.
In the European Union, batteries and accumulators must not be treated as domestic waste, but must be disposed of professionally in accordance with Directive 2006/66/EC of the European Parliament and of the Council of 6 September 2006 on batteries and accumulators. Please dispose of batteries and accumulators according to the relevant legal requirements.
Only for United Kingdom
According to Waste Electrical and Electronic Equipment Regulations 2013 (SI 2013/3113) (as amended) and the Waste Batteries and Accumulators Regulations 2009 (SI 2009/890) (as amended), devices that are no longer usable must be collected separately and disposed of in an environmentally friendly manner.
Trotec GmbH
Grebbener Str. 7
D-52525 Heinsberg
+49 2452 962-400
+49 2452 962-200
[email protected]
www.trotec.com



















