TLX HIGH HEAD
2-1/2″ – 4″ DISCHARGE
LIFT-OUT GUIDE RAIL SYSTEM
INSTALLATION AND SERVICE MANUAL
For use with FM approved Class I, Division 1, Groups C & D Motors.
NOTE! To the installer: Please make sure you provide this manual to the owner of the equip ment or to the responsible party who maintains the system.
General Information
Thank you for purchasing your Hydromatic® product. To help ensure years of trouble-free op er a tion, please read the following manual carefully.
WARNING: Only qualified personnel shall install or service this product.
Before Operation:
Read the following in structions care ful ly. Reasonable care and safe meth ods should be practiced.
Check the local codes and requirements before installation.
Attention:
This manual contains important information for the safe use of this product. Read this manual completely before using this product and refer to it often for con tin ued safe product use.
DO NOT THROW AWAY THIS MAN U AL. Keep it in a safe place so that you may refer to it often.
WARNING: Before handling this lift-out system, always disconnect the power first.
Do not smoke or use sparkable electrical devices or flames in a septic (gaseous) or possible septic sump.
Cautions and Warnings
- CAUTION: To reduce risk of electrical shock, pull plug before servicing this pump.
- WARNING: Risk of electrical shock–this pump has not been investigated for use in swimming pool areas.
- WARNING: See installation and service manual for proper installation.
- WARNING: To reduce risk of electrical shock, pump is provided with grounding wire. Be certain that it is connected to ground.
- WARNING: Hazardous moving parts. To reduce the risk of injury, disconnect power before servicing pump.
- CAUTION: To reduce the risk of electrical shock, DO NOT remove cord or strain relief. DO NOT connect conduit to pump. Electrical installations shall be in accordance with the National Electrical Code and all applicable local codes and ordinances.
- For use with maximum 140°F water
- Septic tank should be vented in accordance with local plumbing codes and should not be installed in locations classified as hazardous, in accordance with the National Electrical Code, ANSI/NFPA70-1999.
- CAUTION: Risk of electrical shock. Do not remove cord and strain relief. Do not connect conduit to pump.
- WARNING: Severe injury may result from accidental contact with moving cutters. Keep clothing, hands and feet away from cutters any time power is connected to the pump.
- CAUTION: Never work on pump with power on. Make sure that the ground wire is securely connected and that the unit is properly grounded in accordance with local codes.
CALIFORNIA PROPOSITION 65 WARNING:
This product and related accessories contain chemicals known to the State of California to cause cancer, birth defects or other reproductive harm.
IMPORTANT: Hydromatic is not responsible for losses, injury or death resulting from a failure to observe these safety precautions, misuse or abuse of pumps or equipment.
Lift-Out System
General Construction:
The base and pump guide plate on all the models are made of ASTM A536 ductile iron (see Fig. 1). The mounting flange on all of the models is made of ASTM A48 Class 30 cast iron. The locating pins and all fasteners are made of 300 series stainless steel. Gaskets are constructed of neoprene rubber material. The elbows are constructed of ASTM A48 Class 125 cast iron. The hazardous location/nonsparking models have 260 yellow brass sleeved onto the locating pins and have a cast brass mounting plate to meet the nonsparking requirements.
Lift-Out Chain:
Hydromatic offers lift-out chain packages for each pump we manufacture. Packages vary depending on the pump design and requirements. Each lift-out chain package is designed to mount to the top of the pump and allow the pump to be safely hoisted up the guide rail.
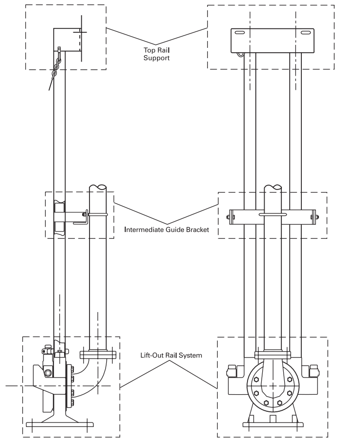
Rail Support Brackets:
The TLX lift-outs are designed to use 2″ standard pipe for guide rails. A top rail support bracket is available to be mounted tothe hatch frame. Intermediatebrackets are available for deep basins. It is recommended that if the rail length is over 21′, that an intermediate bracket be installed.
After every additional 20′ of rail, another intermediate bracketshould be used for proper rail support.
Basin Covers:
Hydromatic has several types of basin covers available for usewith either fiberglass or concrete basins. Basin hatch type covers are available in either steel or aluminum construction. The basin cover frame is designed to allow for mounting of rail support brackets.
Basin Bottom:
All cement pipe basins must have a smooth level troweled bottom for level mounting of discharge casting.
Junction Boxes:
If a junction box is used in a hazardous location, it must be an hazardous location approved type with hazardous location cord connectors. Wires from the junction box must pass through an hazardous location seal connector.
Level Sensing Controls:
Intrinsically safe type float controls are recommended for all applications and required for hazardous location/nonsparking service. An intrinsically safe control panel relay will limit the current and voltage to the level controls. A Hydromatic control panel can be supplied with this type circuitry.
The float level controls maintain the basin sewage water level by controlling pump turn-on and turn-off levels.
- The lower turn-off control should be set so that the pump stops at approximately the top of the pump. Consult the factory for any settings below this point.
- The upper turn-on control should be set above the lower turn-off control. The exact height between the two controls is determined by the number of pump starts desired and the depth of basin. A maximum of 10 starts per hour should not be exceeded.
- The override control is set at a specified height above the upper turn-on control.
- The alarm control is set about 6″ – 12″ above the override control. 5. No control should be set above the inlet invert.
Valves:
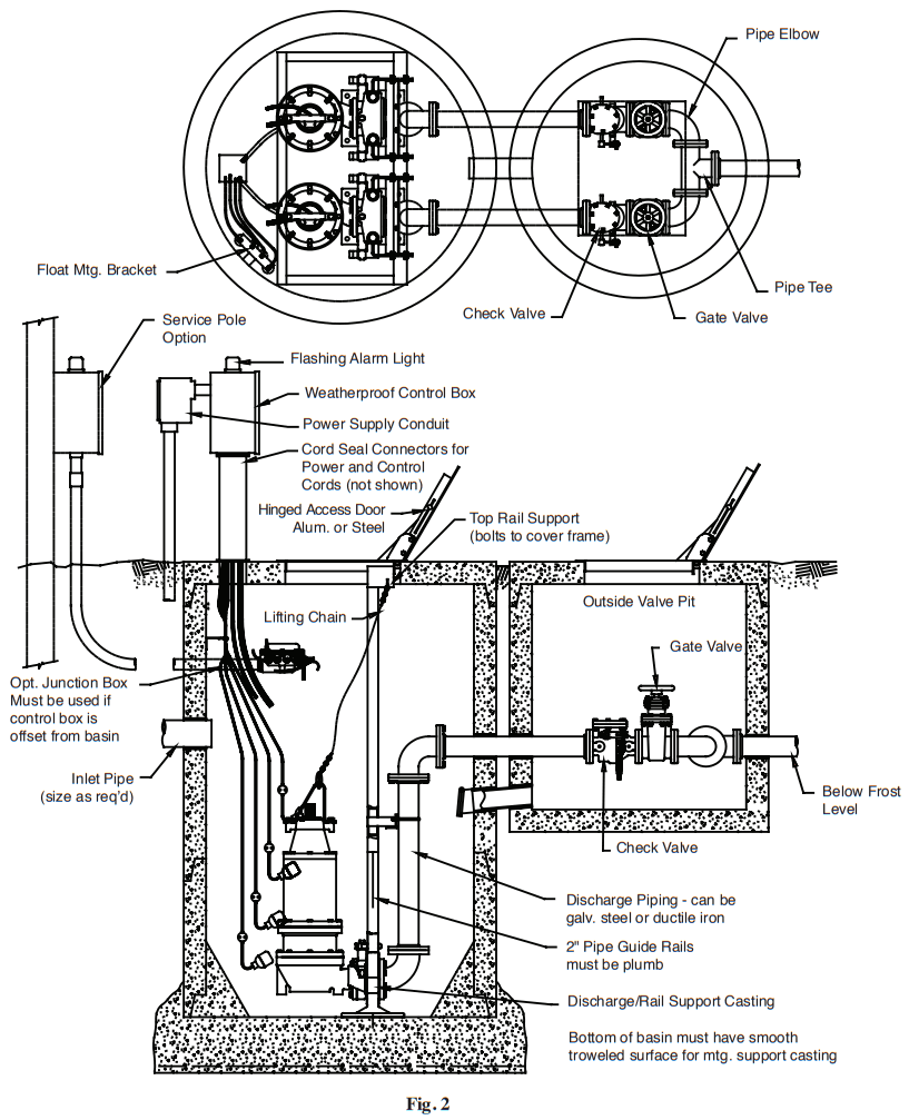
It is recommended that all check valves and shut-off valves be mounted outside the sump in a valve box. (See typical drawing detail, Fig. 1.) Shut-off valves should be of the water works approved type with resilient rubber disk seat.
CAUTION: After the pump is installed and sewage has entered the basin there is danger. Sewage water gives off methane and hydrogen sulfide gases, which are poisonous. Never enter a wetwell unless proper confined space entry procedures are followed.
Installing Rail System Parts
(Fig. 3)
Mounting Cover, Discharge Base and Rails:
- Set concrete cover with hatch opening in position.
- Bolt top rail support plates (Fig. 4) to hatch frame. The plate has slots so the two plates in a duplex system can be adjusted to obtain required center-to-center distance between pumps.
- Lower the base or base/elbow assembly into the basin.
- Position the base elbow assembly by dropping a plumb line from center of pipe supports, located on top rail support plate, to center of tapered pins protruding from the top of the base elbow assembly. Level the elbow flange in two directions, 90° to each other. Shims may be required under the base in order to obtain this level condition. Mark the position of the base hold-down bolts through the holes in the base.
- Move the base aside to allow drilling of the concrete for 3/4″ expansion bolts, 2-1/2″ long. Move the base over the bolt holes and recheck with level and plumb line. Install expansion bolts.
- Cut the pipe guide rails to the proper length and install them between the pipe supports at the top of the basin and pins on the base. Guide rails are Schedule 40, galvanized or stainless steel.
- Install discharge pipe as required by the particular job specifications.
IMPORTANT: Dischargepipe and guide rails must be parallel if intermediate guide bracket is used. - If the top rail support plate cannot be attached to the hatch cover frame, a special rail bracket (Fig. 5) can be furnished for mounting directly to a pipe cemented in the basin wall. This bracket is set and aligned with discharge base the same as described for the rail guide plate attached to the frame.
Installing Intermediate Guide Bracket
(Fig. 6)
| 21 Ft. or less | 0 |
| 21 Ft. to 40 Ft. | 1 |
| Over 40 Ft. | 2 |
- Remove guide rails (Fig. 3), and cut a piece from each one. These pipes must be exactly the same length and of a length that will permit installing the intermediate guide bracket in the desired location.
- Place the cut pieces of pipe over the guide rail pins located in the base.
- Set the intermediate guide bracket in position with tapered guides into pipes. Put U-bolt around discharge pipe and tighten lightly.
- Measure from joint on tapered plug on intermediate guide bracket to joint of tapered plug on top rail support and cut two rails to this length. Put rails in place and tighten screws in top rail support.
Holes are slotted to adjust for any error in rail pipe length. - Recheck rails; they must be straight and plumb. Move intermediate guide bracket if necessary to perfectly align rails. After alignment is secured, tighten nuts on U-bolt.
- If a second intermediate guide bracket is used, the above procedure is followed for installation.
Attaching Mounting Plate to Pump
- 1. Attach the mounting plate with the supplied bolts. (See Parts List, page 5.)
The mounting plate should be turned so that the two locating pins are horizontal when attached to the pump discharge. - Mount the guide plate to the mounting plate using the two set screws provided.
Installing Pump and Mounting Plate
- Attach the lifting chain to the pump. This is done by installing two eye bolts.
WARNING: Do not exceed working load limit of chains and other lifting devices.
Do not use chains or lifting devices where failure could result in loss of life. Examinechains and lifting devices for deformation or damage before and after each lift. - A hook is located on the top rail support (Fig. 3) to hold
TLX Lift-Out Rail System Parts List

| Ref No. | Part Description | No. Req’d | TLX23HH-LE | TLX23HH | TLX33HH-LE | TLX33HH | TLX34HH | TLX44HH-LE | TLX44HH | TLX46HH | TLX48HH |
| 1 | Base L/O; CI Head Grinder | 1 | 25068D001 | 25068D001 | 25068D003 | 25068D003 | RTF | 25068D002 | 25068D002 | 25068D002 | RTF |
| 2 | Plate; Mounting | 1 | 25069D013 | 25069D013 | 25069D017 | 25069D017 | 25069D016 | 25069D016 | 25069D016 | ||
| 3 | Pin, Locating | 2 | 25074A000 | 25074A000 | 25074A000 | 25074A000 | 25074A000 | 25074A000 | 25074A000 | ||
| 4 | Pin, Plate, Guide to Plate, Mounting | 1 | 25073A001 | 25073A001 | 25073A001 | 25073A001 | 25073A001 | 25073A001 | 25073A001 | ||
| 5 | Plate, Guide | 1 | 25072C001 | 25072C001 | 25072C001 | 25072C001 | 25072C001 | 25072C001 | 25072C001 | ||
| 7 | Stud | 4 | 05659A103 | 05659A103 | 05659A103 | 05659A103 | 05659A103* | 05659A103* | 05659A103* | ||
| 9 | Gasket, Elbow Side | 1 | 05231A077 | 05231A077 | 05231A081 | 05231A081 | 05863A019 | 05863A019 | 05863A019 | ||
| 9A | Gasket, Pump Side | 1 | 05231A081 | 05231A081 | |||||||
| 10 | Elbow, Pipe Flanged | 1 | – | 23497A103 | – | 23497A103 | – | 23497A101 | 25046A101 | ||
| 11 | Nut, Hex | 4 | 19109A082 | 19109A082 | 19109A082 | 19109A082 | 19109A082* | 19109A082* | 19109A082* | ||
| 12 | Screw, Cap Hex | 4 | 19105A033 | 19105A033 | 19105A033 | 19105A033 | 19105A038* | 19105A038* | 19105A038* | ||
| 13 | Screw, Set Hdls Hex | 2 | 06024A010 | 06024A010 | 06024A010 | 06024A010 | 06024A010 | 06024A010 | 06024A010 |
* (double the No. Required)
| Part Number | Model | Pump Discharge | System Discharge | Base Part Number | Flange Part Number | Elbow Part Number |
| Elbow Size | ||||||
| 52773-060-7 | TLX23HH-LE | N/A | N/A | 25068D001 | 25069D013 | N/A |
| 52773-061-7 | TLX23HH | 2.5 | 3 | 25068D001 | 25069D013 | 23497A103 |
| 52773-056-7 | TLX33HH-LE | N/A | N/A | 25068D003 | 25069D017 | N/A |
| 52773-055-7 | TLX33HH | 3 | 3 | 25068D003 | 25069D017 | 23497A103 |
| 52773-057-7 | TLX34HH | 3 | 4 | RTF | ||
| 52773-077-7 | TLX44HH-LE | N/A | N/A | 25068D002 | 25069D016 | N/A |
| 52773-074-7 | TLX44HH | 4 | 4 | 25068D002 | 25069D016 | 23497A101 |
| 52773-075-7 | TLX46HH | 4 | 6 | 25068D002 | 25069D016 | 25046A101 |
| 52773-076-7 | TLX48HH | 4 | 8 | RTF | ||
TYPICAL INSTALLATION FOR DUPLEX
Discharge Pipe and Outside Valve Pit Concrete Basin – All Pump Types
INSTALLATION FOR RAIL SYSTEM
NOTE: Metric Dimensions in [mm]

| Elbow Size | “A” | “B” |
| 2.5 x 3 | 7 (178) | 14 (356) |
| 3 x 3 | 7 (178) | 14 (356) |
| 4 x 4 | 8 (203) | 15 (381) |
| 6 x 4 | 9-1/2 (241) | 16-1/2 (419) |
* Standard parts are cast iron.
Hazardous location parts are non-sparking brass.
TOP RAIL SUPPORT
INTERMEDIATE GUIDE BRACKET
| U-Bolt | Part No. |
| IGB-2-3 | 24966D009 |
| IGB-2-4 | 24966D010 |
| IGB-2-6 | 24966D011 |
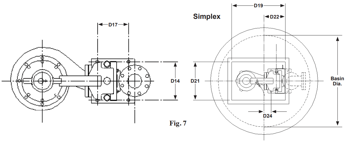
TYPICAL DIMENSIONS FOR BASIN HATCH WHEN MOUNTING IN CONCRETE

| Duplex | |||||||||||
| Pumps | Basin Dia. | Pump Discharge | System Discharge | D19 | D21 | D22 | D14 | D17 | D24 | D30 | D31 |
| HPGB30/HPGB50 HPGBX30/HPGBX50 HPGB30H/HPGB50H/HPGB75H HPGBX30H/HPGBX50H/HPGBX75H HPGB75HH/HPGB100H/HPGB150H HPGBX75HH/HPGBX100/HPGBX150H | 60 | 2.5 | 3 | 24 | 42 | 14 | 10 | 11.5 | 7 | 11 | 6 |
| S3H/S3HX S3HR/S3HRX | 60 | 3 | 3 | 24 | 42 | 14 | 10 | 11.5 | 7 | 11 | 6 |
| 4 | 24 | 42 | 14 | 10 | 11.5 | 7 | 13 | 8 | |||
| S4HRC/S4HRCX S4HRC/S4HRCX-M2 | 60 | 4 | 4 | 28 | 48 | 12 | 10 | 11.5 | 1.63 | 13 | 8 |
| 6 | 28 | 48 | 12 | 10 | 11.5 | 1.63 | 16 | 11 | |||
| 8 | RTF | RTF | RTF | RTF | RTF | RTF | RTF | RTF | |||
| S4M/S4MX H4H_H4HX-1PH H4H_H4HX-3PH S4LRC/S4LRCX-M2 | 60 | 4 | 4 | 30 | 48 | 12 | 10 | 11.5 | 1.63 | 13 | 8 |
| 6 | 30 | 48 | 12 | 10 | 11.5 | 1.63 | 16 | 11 | |||
| 8 | RTF | RTF | RTF | RTF | RTF | RTF | RTF | RTF | |||
| S4NRC/S4NRCX SH/SHX | 60 | 4 | 4 | 28 | 48 | 12 | 10 | 11.5 | 5.69 | 13 | 8 |
| 6 | 28 | 48 | 12 | 10 | 11.5 | 5.69 | 16 | 11 | |||
| 8 | RTF | RTF | RTF | RTF | RTF | RTF | RTF | RTF | |||
| S4P/S4PX S4LRC/S4LRCX S4L/S4LX | 72 | 4 | 4 | 36 | 48 | 18 | 10 | 11.5 | 7.63 | 13 | 8 |
| 6 | 36 | 48 | 18 | 10 | 11.5 | 7.63 | 16 | 11 | |||
| 8 | RTF | RTF | RTF | RTF | RTF | RTF | RTF | RTF | |||
| H4Q/H4QX S4L/S4LX | 72 | 4 | 4 | 36 | 54 | 18 | 10 | 11.5 | 7.63 | 13 | 8 |
| 6 | 36 | 54 | 18 | 10 | 11.5 | 7.63 | 16 | 11 | |||
| 8 | RTF | RTF | RTF | RTF | RTF | RTF | RTF | RTF | |||
TYPICAL DIMENSIONS FOR BASIN HATCH WHEN MOUNTING IN CONCRETE

Simplex
| Pumps | Basin Dia. | D4/Pump Disc. | System Discharge | D19 | D21 | D22 | D14 | D17 | D24 | D30 | D31 |
| HPGB30/HPGB50 HPGBX30/HPGBX50 HPGB30H/HPGB50H/HPGB75H HPGBX30H/HPGBX50H/HPGBX75H HPGB75HH/HPGB100H/HPGB150H HPGBX75HH/HPGBX100/HPGBX150H | 48 | 2.5 | 3 | 24 | 18 | 14 | 10 | 11.5 | 7 | – | – |
| S3H/S3HX S3HR/S3HRX | 48 | 3 | 3 | 24 | 18 | 14 | 10 | 11.5 | 7 | – | – |
| 4 | 24 | 18 | 14 | 10 | 11.5 | 7 | – | – | |||
| S4HRC/S4HRCX S4HRC/S4HRCX-M2 | 48 | 4 | 4 | 28 | 24 | 10 | 10 | 11.5 | 0.38 | – | – |
| 6 | 28 | 24 | 10 | 10 | 11.5 | 0.38 | – | – | |||
| 8 | RTF | RTF | RTF | RTF | RTF | RTF | – | – | |||
| S4M/S4MX H4H_H4HX-1PH H4H_H4HX-3PH S4LRC/S4LRCX-M2 | 48 | 4 | 4 | 30 | 24 | 10 | 10 | 11.5 | 0.38 | – | – |
| 6 | 30 | 24 | 10 | 10 | 11.5 | 0.38 | – | – | |||
| 8 | RTF | RTF | RTF | RTF | RTF | RTF | – | – | |||
| S4NRC/S4NRCX SH/SHX | 48 | 4 | 4 | 28 | 20 | 12 | 10 | 11.5 | 5.69 | – | – |
| 6 | 28 | 20 | 12 | 10 | 11.5 | 5.69 | – | – | |||
| 8 | RTF | RTF | RTF | RTF | RTF | RTF | – | – | |||
| S4P/S4PX S4LRC/S4LRCX S4L/S4LX H4Q/H4QX | 60 | 4 | 4 | 36 | 24 | 15 | 10 | 11.5 | 4.63 | – | – |
| 6 | 36 | 24 | 15 | 10 | 11.5 | 4.63 | – | – | |||
| 8 | RTF | RTF | RTF | RTF | RTF | RTF | – | – | |||
| S4L/S4LX | 60 | 4 | 4 | 36 | 26 | 15 | 10 | 11.5 | 4.63 | – | – |
| 6 | 36 | 26 | 15 | 10 | 11.5 | 4.63 | – | – | |||
| 8 | RTF | RTF | RTF | RTF | RTF | RTF | – | – |

| Valve Box Dimensions | ||||||
| Valve Box Dia. | D | Valve Size | 90˚ Elbow (2 Req’d) | Tee (1 Req’d) | A & B Hatch | C Hatch Offset |
| 48 | 11 | 3 | 3 x 3 | 3 x 3 x 3 | 24 x 30 | 15 |
| 48 | 13 | 3 | 4 x 3 | 4 x 4 x 4 | 24 x 36 | 16 |
STANDARD LIMITED WARRANTY
Pentair Hydromatic® warrants its products against defects in material and workmanship for a period of 12 months from the date of shipment from Pentair Hydromatic or 18 months from the manufacturing date, whichever occurs first – provided that such products are used in compliance with the requirements of the Pentair Hydromatic catalog and technical manuals for use in pumping raw sewage, municipal wastewater or similar, abrasive-free, noncorrosive liquids.
during the warranty period and subject to the conditions set forth, Pentair Hydromatic, at its discretion, will repair or replace to the original user, the parts that prove defective in materials and workmanship. Pentair Hydromatic reserves the right to change or improve its products or any portions thereof without being obligated to provide such a change or improvement for prior sold and/or shipped units.
Start-up reports and electrical schematics may be required to support warranty claims. Submit at the time of start up through the Pentair Hydromatic website: http://forms.pentairliterature.com/startupform/startupform.asp?type=h. Warranty is effective only if Pentair Hydromatic authorized control panels are used. All seal fail and heat sensing devices must be hooked up, functional and monitored or this warranty will be void. Pentair Hydromatic will cover only the lower seal and labor thereof for all dual seal pumps. under no circumstance will Pentair Hydromatic be responsible for the cost of field labor, travel expenses, rented equipment, removal/reinstallation costs or freight expenses to and from the factory or an authorized Pentair Hydromatic service facility.
This limited warranty will not apply: (a) to defects or malfunctions resulting from failure to properly install, operate or maintain the unit in accordance with the printed instructions provided; (b) to failures resulting from abuse, accident or negligence; (c) to normal maintenance services and parts used in connection with such service; (d) to units that are not installed in accordance with applicable local codes, ordinances and good trade practices; (e) if the unit is moved from its original installation location; (f) if unit is used for purposes other than for what it is designed and manufactured; (g) to any unit that has been repaired or altered by anyone other than Pentair Hydromatic or an authorized Pentair Hydromatic service provider; (h) to any unit that has been repaired using non factory specified/ oEM parts.
Warranty Exclusions: PENTAIR HYDROMATIC MAKES NO EXPRESS OR IMPLIED WARRANTIES THAT EXTEND BEYOND THE DESCRIPTION ON THE FACE HEREOF. PENTAIR HYDROMATIC SPECIFICALLY DISCLAIMS THE IMPLIED WARRANTIES OF MERCHANTABILITY AND FITNESS FOR ANY PARTICULAR PURPOSE.
Liability Limitation: IN NO EVENT SHALL PENTAIR HYDROMATIC BE LIABLE OR RESPONSIBLE FOR CONSEQUENTIAL, INCIDENTAL OR SPECIAL DAMAGES RESULTING FROM OR RELATED IN ANY MANNER TO ANY PENTAIR HYDROMATIC PRODUCT OR PARTS THEREOF. PERSONAL INJURY AND/OR PROPERTY DAMAGE MAY RESULT FROM IMPROPER INSTALLATION. PENTAIR HYDROMATIC DISCLAIMS ALL LIABILITY, INCLUDING LIABILITY UNDER THIS WARRANTY, FOR IMPROPER INSTALLATION. PENTAIR HYDROMATIC RECOMMENDS INSTALLATION BY PROFESSIONALS.
Some states do not permit some or all of the above warranty limitations or the exclusion or limitation of incidental or consequential damages and therefore such limitations may not apply to you. no warranties or representations at any time made by any representatives of Pentair Hydromatic shall vary or expand the provision hereof.
740 EAST 9TH STREET
ASHLAnd, oHio, uSA 44805 419-289-1144
WWW.HYdRoMATiC.CoM
Warranty Rev. 12/13
490 PinEbuSH RoAd, uniT #4
CAMbRidGE, onTARio, CAnAdA n1T 0A5
800-363-PuMP


















