Installation Instructions
Hyundai Santa Fe
Kia Sorento
Part Numbers:
36511, 90212, 06133

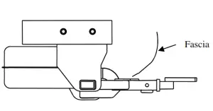
Hitch Shown In Proper Position
Equipment Required:
Fastener Kit: 36511F
Wrenches: 16mm
Drill Bits: None
(Sold separately)
Drawbar must be used in the
Rise position only.
Drawbar Kit: 36051
Do Not Exceed Lower of Towing Vehicle
Manufacturer’s Rating or
3500 Lb. (1589 kg) Max Gross Trailer Weight
350 Lb. (159 kg) Max Tongue Weight
Wiring Access Location: Santa Fe: SUV3, SUV4
Sorento: SUV7

Fasteners Typical
Both Sides
Qty. (4) Hex Bolt – M10 x 1.25 x 30mm CL10.9
Qty. (4) Conical Toothed Washer – 7/16”
- Raise the car on ramps, hoists, or jack stands.
- Raise hitch into position, installing fasteners as shown into existing weld nuts in the vehicle frame.
Tighten all M10 x 1.25 CL10.9 fasteners with a torque wrench to 59 Lb.-Ft. (80 N*M)
Note: check hitch frequently, making sure all fasteners and balls are properly tightened. If the hitch is removed, plug all holes in the trunk pan or other body panels to prevent the entry of water and exhaust fumes. A hitch or ball which has been damaged should be removed and replaced. Observe safety precautions when working beneath a vehicle and wear eye protection. Do not cut access or attachment holes with a torch.
This product complies with safety specifications and requirements for connecting devices and towing systems of the state of New York, V.E.S.C. Regulation V-5 and SAE J684.
2011,2015 Cequent Performance Products – Printed in México
Sheet 1 of 3
36511N
10-13-15
Rev. B



















