00 205234
CATV Amplifier, adjustable 25 dB
Instruction Manual
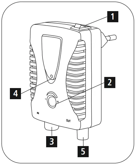
Controls and Displays
- On / Off
- Attenuator
- Input
- Power LED
- TV
Safety Notes
- Use the product for its intended purpose only.
- Do not operate the product outside the power limits given in the specifications.
- Protect the product from dirt, moisture and overheating, and only use it in a dry environment.
- Do not use the product in moist environments and avoid splashes.
- Only connect the product to a socket that has been approved for the device. The socket must be installed close to the product and easily accessible.
- Do not continue to operate the device if it becomes visibly damaged.
- Do not drop the product and do not expose it to any major shocks.
- Keep this product, as all electrical products, out of the reach of children!
- Dispose of packaging material immediately according to locally applicable regulations.
- Do not modify the product in any way. Doing so voids the warranty.
Notes
Turn after using the product of.
Technical Data
| Cable fit | |
| Amplification | 25 dB |
| max. permissible input level | 75 dBµV |
| frequency range | 40 – 862 MHz |
| integrated power supply | 230 V~ / 50 Hz / 3W |
| Built attenuator to adjust the amplification | |
| with on / off switch | |
Hama GmbH & Co KG
86652 Monheim / Germany
Service & Support
www.hama.com
+49 9091 502-0![]()
All listed brands are trademarks of the corresponding companies. Errors and
omissions excepted, and subject to technical changes. Our general terms of delivery and payment are applied.


















