
BJ-L0118 18v Cordless Biscuit Joiner
User Manual
BJ-L0118 18v Cordless Biscuit Joiner

PRODUCT SPECIFICATION
| Voltage: | 18V |
| Speed: | 7,000rpm |
| Blade Diameter: | 100mm |
| Cutter: | 100 x 4 x 22mm |
| Groove Width: | 4mm (5/32in) |
| Groove Depth Max: | 18mm (1/2in) |
| Weight: | 2.7kg |
GENERAL POWER TOOL SAFETY WARNINGS
Read all safety warnings and instructions. Failure to heed warnings and follow instructions may result in electric shock, fire and/or serious injury.
Keep safety warnings and instructions for future reference.
The term “power tool” in the safety warnings refers to your mains operated (corded) power tool or battery- operated (cordless) power tool.
2.1 WORKING AREA
- Keep working area clean and well lit. Untidy and dark areas can lead to accidents.
- Do not operate power tools in potentially explosive surroundings, for example, in the presence of inflammable liquids, gases or dust. Power tools create sparks which may ignite the dust or fumes.
- Keep children and bystanders at a distance when operating a power tool. Distractions can cause you to lose control of it.
2.2 ELECTRICAL SAFETY
- Always check that the power supply corresponds to the voltage on the rating plate.
- Power tool plugs must match the outlet. Never modify the plug in any way. Do not use adapter plugs with earthed power tools. Unmodified plugs and matching outlets will reduce the risk of an electric shock.
- Avoid body contact with earthed surfaces such as pipes, radiators, kitchen ranges and refrigerators. There is an increased risk of an electric shock if your body is earthed.
- Do not expose power tools to rain or wet conditions. If water gets inside a power tool, it will increase the risk of an electric shock.
- Do not damage the cord. Never use the cord for carrying, pulling or unplugging the power tool. Keep the cord away from heat, oil, sharp edges or moving parts. Damaged or entangled cords increase the risk of an electric shock.
- When operating a power tool outdoors, use an extension cable suitable for outdoor use. Using a cord suitable for outdoor use reduces the risk of an electric shock.
- If operating a power tool in a damp location is unavoidable, use a power supply protected by a residual current device (RCD). Using an RCD reduces the risk of an electric shock.
2.3 PERSONAL SAFETY
- Stay alert, watch what you are doing and use common sense when operating a power tool. Do not use a power tool when you are tired or under the influence of drugs, alcohol or medication. A moment of inattention when operating a power tool may result in serious personal injury.
- Use safety equipment. Always wear eye protection. Using safety equipment such as a dust mask, non-skid safety shoes, a hard hat, or hearing protection whenever it is needed will reduce the risk of personal injury.
- Avoid accidental starts. Ensure the switch is in the off position before inserting the plug. Carrying power tools with your finger on the switch or plugging in power tools when the switch is in the on position makes accidents more likely.
- Remove any adjusting keys or spanners before turning on the power tool. A spanner or key left attached to a rotating part of the power tool may result in personal injury.
- Do not reach out too far. Keep your feet firmly on the ground at all times. This will enable you retain control over the power tool in unexpected situations.
- Dress properly. Do not wear loose clothing or jewellery. Keep your hair, clothing and gloves away from the power tool. Loose clothes, jewellery or long hair can become entangled in the moving parts..
- If there are devices for connecting dust extraction and collection facilities, please ensure that they are attached and used correctly. Using such devices can reduce dust-related hazards.
2.4 POWER TOOL USE AND CARE
- Do not expect the power tool to do more than it can. Use the correct power tool for what you want to do. A power tool will achieve better results and be safer if used in the context for which it was designed.
- Do not use the power tool if the switch cannot turn it on and off. A power tool with a broken switch is dangerous and must be repaired.
- Disconnect the plug from the power source before making adjustments, changing accessories, or storing power tools. Such preventive safety measures reduce the risk of starting the power tool accidentally.
- Store power tools, when not in use, out of the reach of children and do not allow people who are not familiar with the power tool or these instructions to operate it. Power tools are potentially dangerous in the hands of untrained users.
- Maintain power tools. Check for misalignment or jammed moving parts, breakages or any other feature that might ffect the operation of the power tool. If it is damaged, the power tool must be repaired. Many accidents are caused by using poorly maintained power tools.
- Keep cutting tools sharp and clean. Properly maintained cutting tools with sharp cutting edges are less likely to jam and are easier to control.
- Use the power tool, accessories and cutting tools, etc., in accordance with these instructions and in the manner intended for the particular type of power tool, taking into account the working conditions and the work which needs to be done. Using a power tool in ways for which it was not intended can lead to potentially hazardous situations.
2.5 SERVICE
Your power tool should be serviced by a qualified specialist using only standard spare parts. This will ensure that it meets the required safety standards. Special safety instructions for Joiners
- Disc cutters must be rated for at least the speed marked on the tool. Disc cutters running over rated speed can fly apart and cause injury.
- Always use the guard. The guard protects the operator from broken disc cutter fragments and unintentional contact with the disc cutter.
- Hold power tool by insulated gripping surfaces, because the cutter may contact its own cord. Cutting a “live” wire may make exposed metal parts of the power tool “live” and could give the operator an electric shock.
ADDITIONAL SAFETY INSTRUCTIONS FOR BATTERIES AND CHARGERS
Use only batteries and chargers applicable for this machine.
4.1 BATTERIES
- Never attempt to open for any reason.
- Do not store in locations where the temperature may exceed 40 °C.
- Charge only at ambient temperatures between 4 °C and 40 °C.
- When disposing of batteries, follow the instructions given in the section “Protecting the environment”.
- Do not cause short circuits. If connection is made between the positive (+) and negative (-) terminal directly or via accidental contact with metallic objects, the battery is short circuited and an intense current will flow causing heat generation which may lead to casing rupture or fire.
- Do not heat. If batteries are heated to above 100 °C, sealing and insulating separators and other polymer components may be damaged resulting in electrolyte leakage and/or internal short circuiting leading to heat generation causing rupture or file. Moreover do not dispose of the batteries in fire, explosion and/or intense burning may result.
- Under extreme conditions, battery leakage may occur. When you notice liquid on the battery, proceed as follows:
- Carefully wipe the liquid off using a cloth. Avoid skin contact.
- In case of skin or eye contact, follow the instructions below:
- Immediately rinse with water. Neutralize with a mild acid such as lemon juice or vinegar.
- In case of eye contact, rinse abundantly with clean water for at least 10 minutes.
- Consult a physician.
Fire hazard! Avoid short-circuiting the contacts of a detached battery. Do not incinerate the battery.
4.2 CHARGERS
- Never attempt to charge non-rechargeable batteries.
- Have defective cords replaced immediately.
- Do not expose to water.
- Do not open the charger.
- Do not probe the charger.
- The charger is intended for indoor use only.
SYMBOLS
In this manual and/or on the machine the following symbols are used:
![]() | Denotes risk of personal injury or damage to the tool. |
| Read manual before use | |
| Wear eye protection | |
| Wear ear protection | |
| Wear safety gloves | |
| Wear respiratory protection | |
![]() | In accordance with essential requirements of the European directive(s) |
![]() | Class II – The machine is double insulated; Earthing wire is therefore not necessary (only for charger) |
| Ambient temperature 40°C max. (only for battery) | |
| Do not expose charger and battery pack to water | |
| Use battery and charger only in closed rooms | |
| Do not incinerate battery pack or charger |
Operating Feature 
| 1. ON/OFF switch | 10. Base plate |
| 2. Handle | 11. Dust extraction hole |
| 3. Drive motor | 12. Dust extraction system |
| 4. Additional handle | 13. Dust bag |
| 5. Spindle catch | 14. Face spanner |
| 6. Locking wheel for angle | 15. Midline |
| 7. Angle fence | 16. Height fence |
| 8. Height locking wheel | 17. Battery pack |
| 9. Setting wheel for cutting depth | 18. Battery unlocking button |
OPERATION
Setting the cutting depth
- Set the required cutting depth with the setting wheel (9).
- The designations on the setting wheel reflect the various sizes of biscuit dowels.
- You can adjust the cutting depth setting using the screw.
Setting the cutting height
- Undo the locking wheel (8).
- The set height is indicated by the arrow.
- Set the required height on the scale.
- Retighten the locking wheel (8).
Setting the cutting angle
- Undo the angle locking wheel (6) by turning anticlockwise.
- The set angle is indicated by the arrow.
- Set the required angle on the scale.
- Retighten the angle locking wheel (6) .
| Possibilities: | Change: |
| 1,Step Memory System | 1 mm / grid |
| 2,Stop square | 1° / grid |
| 3,Thickness biscuit dowels | 4 mm |
| 4,Combination | Optional |
The setting of the vertical position of the jointer is important above all for mitre joining or combined with varying material thick-nesses (workpiece thickness).
ON/OFF switch
- To switch on, slide button (1) forwards and let it engage. The appliance will now run continuously until you switch it off.
- To switch off , simply press the rear part of button (1) it jumps back into its “Off’position .

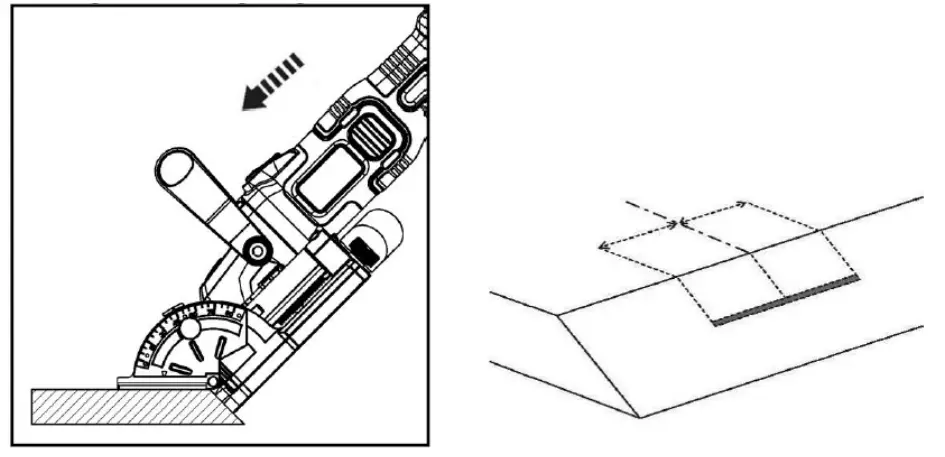
Cutting operation
- Mark the cutting line and its centre on the workpiece.
- Clamp the workpiece on a flat surface to ensure it will not move during operation.
- Adjust the moving fence, cutting depth and cutting angle according to your needs.
- Place your product on the workpiece, the marking on the workpiece facing the marking on the moving fence (if applicable). Make sure that the disc cutter does not yet touch the surface.
- Switch the product on and wait until it runs at full speed before cutting into the workpiece.
- Push the product slowly forward at an even speed until the desired depth is reached.
- Pull the product backward from the workpiece before switching it off.
Only apply as much pressure as necessary to keep the product flat on the workpiece. Higher pressure will not increase but lower the performance of the product and leads to uneven results.
Changing the cutter
Danger of injury !
Never adjust the appliance when the mains plug is in the socket.
- Loosen the screws of the base plate and remove them.
- Press spindle catch (5) in and keep it pressed. At the same time insert two-sprong spanner (14) into flange A and loosen the router disc by turning the flange anticlockwise. 3. Remove the router disc. In doing so, ensure that flange B does not become misplaced.
- Insert the new routing disc and reassemble the appliance by reversing the above steps. When doing so, tighten flange A firmly.
- Fit base plate and securely tighten the screws.
Dust extraction system
- Attach the Dust extraction system (12) onto the baseplate (11) all the way to the stop.
- Dust extraction system can joninter dust bag or dust collector.

CLEANING AND MAINTENANCE
9.1 CLEANING
- Keep the ventilation slots of the machine clean to prevent overheating of the engine.
- Regularly clean the machine housing with a soft cloth, preferably after each use.
- If the dirt does not come off use a soft cloth moistened with soapy water.
- Never use solvents such as petrol, alcohol, ammonia water, etc. These solvents may damage the plastic parts.
9.2 MAINTENANCE
Our machines have been designed to operate over a long period of time with a minimum of maintenance.
Continuous satisfactory operation depends upon proper machine care and regular cleaning.
REPAIR
Only use accessories and spare parts recommended by the manufacturer.
If the device is damaged after a few days, despite our quality control and your maintenance, only an authorized electrician can repair it.
ENVIRONMENT
Should your appliance need replacement after extended use, do not dispose of it with the household refuse, but in an environmentally safe way.
Waste produced by electrical machine items should not be handled like normal household rubbish. Please recycle where recycle facilities exist. Check you’re your Local Authority or retailer for recycling advice.























