WATER CREATION EMPIRE60 72 Wide Double Wash Stand

Recommended Tools
- Drill
- Level
- Hammer
- Pencil
- Silicone
- Phillips head screwdriver
- Safety Glasses
BEFORE YOU BEGIN
IMPORTANT

- Professional installation by two-person crew is required for this fixture
- Assemble this fixture on a soft blanket is highly recommended
- We do recommend installing wood blocking inside your wall to add support to your stand. You will need to use heavy duty anchors (such as steel or toggles) if you choose not to install wood blocking
- Gently slide the joint onto support bar to avoid scratch
PARTS

INSTALLATION STEP
- Assemble the back support as shown. Tighten set screws on the escutcheons and 3-way joints.
- Assemble support legs as shown. Use a level to ensure the top escutcheons are straight. Tighten set screws on the 3-way joints, 4-way joints, 5-way joint and all escutcheons.

- After assembling both sides support legs and central support leg, attach front bars to join legs together and tighten set screws.
- With one person on either side of the assembled stand, carefully position the washstand in desired location. Use a pencil mark position of wall escutcheon screw holes on wall as well as the perimeter of the location of foot flanges on floor.

- Thread the floor screws with foot flanges and screw it into floor.
- Drill holes on wall for wall escutcheons and push anchors flush with wall.
- Insert the support legs into foot flanges and fasten wash stand to wall with mounting screws.
- Apply a thin coat of silicone on the top flanges to secure the counter top to the stand.
- (If counter top need slight leveling adjustment, place attached sponge pads on escutcheons as necessary to stabilize.)

- (If counter top need slight leveling adjustment, place attached sponge pads on escutcheons as necessary to stabilize.)
MARBLE TOP INSTALLATION
Storage

- Keep marble top in it’s box until installation
- Store box vertically in a place safe from being hit or knocked over
- Do not stack anything on top of the box
Opening Box

- Before unpacking please make sure you have installation requirement present:
- A professional two man crew
- Tools and materials required:
- Flat, non-abrasive work surface, such as a soft blanket
- Carpenter’s level
- Sealant
- Carefully, without allowing any free fall, rotate the box from vertical to flat.
- (This is the only time the box placed horizontally.)
Installation

- Always use a two man crew, a single person crew is much more likley to cause damage
- Apply sealant to secure marble top on washstand.
TOOLS

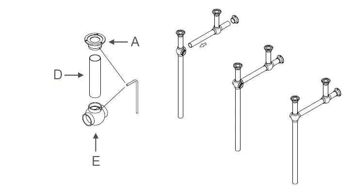
STOP VALVE AND SUPPLY TUBE INSTALLATION

- Apply Teflon tape to thread of the pipe (2) and screw it with the stop valve (3).
- Slide the escutcheon (1) onto the pipe and apply the Teflon tape to thread.
- Screw stop valve to main water supply on wall. Use wrench to turn the valve and let the outlet go up. (Don’t over turn the stop valve, it may damage the valve or pipe.)
- Close the stop valve and briefly turn on the main water supply to check for leaks.
- Loosen the nut (5) and compression ring (4) from stop valve, take the supply tube (6) and measure the length from stop valve to faucet valve, if necessary to cut the extra length of tube.
- Slide the nut (7) onto the supply tube and set the cone washer (8) at top.
- Slide the nut (5) and compression ring (4) from bottom of supply tube.
- Attach the supply tube with faucet valve and stop valve. Tighten both nuts with wrench. (This copper supply tube can be bent slightly for installation )
- Close the faucet valve and turn on the stop valve to check for leaks.
P TRAP INSTALLATION GUIDE

- Remove horizontal pipe (2) and slip joint nut (3) from bo le trap (5).
- Apply Teflon tape to all exposed threads.
- Slide the slip joint nut (3) and escutcheon (1) onto horizontal pipe. Then insert the pipe into wall waste opening.
- Remove slip joint nut (7) and washer (6) from bo le trap, to install it onto drain tail piece.
- Atach bo le trap to drain tail piece and hand ghten slip joint nut.
- Align bo le trap with horizontal pipe and drain tail piece, at this point it may be necessary to cut part of tail piece or part of horizontal pipe to obtain proper alignment.
- Aer all components have been properly aligned, connect the bo le trap and horizontal pipe with slip joint nut, making sure to set the washer (4) before ghten the nut.
- Check for leaks by opening faucet and le ng water run for at least one minute.





















