Johnson Controls M130 Rotary Actuator

General information
Manufacturer
HORA
Subject to alterations
The regulations, directives, standards etc. are compliant with the current state of information at the time of development and are not subject to modification service. They must be applied by the operator at his own responsibility in their latest valid version. Concerning all data, information, and illustrations in this manual we reserve the right of technical modifications and improvements. No claims can be considered for alteration or rework of already delivered rotary actuators.
Type designation

Validity of these operating instruction
These operating instructions are only valid for Type M 130 rotary actuator. Regulations, guidelines, standards etc. listed in these operating instructions correspond to the level of information available at the time of preparation and are not subject to an updating service. They must be applied by the user on his own responsibility in their latest valid version. We reserve the right to implement improvements and technical modifications to all the data, information and diagrams in these instructions at any time. No claims will be accepted for modification or improvement of rotary actuators already delivered. The copyright in these operating instructions and all the rights occurring in the event of a patent being granted or a utility modul being registered remain with the manufacturer! For the sake of clarity these operating instructions do not include all the detailed information about every design and equipment variant of the rotary actuators, nor can it cover all possible case of installation (assembly), operation or maintenance. If you require any further information, or if specific problems occur which are not dealt with in sufficient detail in the operating instructions, you can request the information you need directly from the supplier/manufacturer. Furthermore we emphasize that the contents of these operation instructions do not constitute part of a previously existing agreement, undertaking or legal relationship, nor is it intended to modify the latter. All obligations of the supplier/manufacturer are derived from the contract of sale which also contains the complete and solely valid warranty terms
Safety
Please carefully read this operating manual and in particular the following safety notes prior to installation and operation.
Meaning of the symbols
Danger:
Immediately threatening risk which will result in death or serious injuries of the body.
Attention:
Potentially dangerous situation where the product or an object may be damaged in its environment.
Safety instructions and regulations
- The user is responsible for observing the applicable occupational safety and accident prevention regulation and DIN VDE specifications when installing, operating and maintaining the rotary actuators!
- Persons who are entrusted with implementing any of the measures described in these operating instructions must have read and understood these instructions!
- Assembly, operating and maintenance staff must employ safe working methods for all measures taken and must refrain from working jeopardizing the safety of persons or damaging the rotary actuators or any material assets in any way.
- The rotary actuators must be safely disconnected by qualified personnel and according to DIN VDE before commencing maintenance and/or repair work!.
Danger
When electrical equipment is operated certain (uninsulated) parts necessarily carry dangerous voltage. Therefore failure to observe the warning instructions may cause death, serious or bodily injury or damage to property. Only qualified personnel (see 1.5.3) may work on or near these rotary actuators. These persons must be thoroughly familiar with all the warning, installation and maintenance measures described in these operation instructions. For trouble-free and safe operation of these rotary actuators it is essential to ensur proper transportation, storage, installation and assembly as well as careful, safety-oriented operation and maintenance. The instructions above and the following warning do not take into account possible additional regional, local or in-plant safty regulations. The user is therefore responsible for supplementing them where necessary!
Qualified personnel
Only qualified personnel shall work at or near these rotary actuators. Qualified persons are deemed persons who are familiar with the installation, erection, startup and operation and/or maintenance of the rotary actuators or have been qualified appropriately for their work. The necessary and prescribed qualifications include:
- Training / instruction or authorization to turn on /off circuits and appliances /systems according to EN 60204 (DIN VDE 0100 / 0113) and the standards of safety technology.
- Training or instruction according to the standards of the safety technology concerning care and use of adequate safety and work protection equipment.
- First Aid training. Work safely and refrain from any mode of working which might in any way endanger the safety of persons or the rotary actuator and/or other assets.
Warranty
The scope and period of a warranty are stated in the manufacturer´s “Standard Terms of Delivery”. The latest issue valid at the time of delivery applies.
Among other things, no liability is accepted for damage to the rotary actuators which result from one or more of the following causes:
- Ignorance of these operating instructions or failure to comply with the instructions it contains.
- Inadequately qualified assembly, operating or maintenance personnal.
- Natural wear
- Incorrect or negligent tretment of the rotary actuators.
- Chemical, electrochemical and/or electrical influences.
Furthermore the manufacturer gives no warranty and accepts no liability in the following cases:
- Failure to observe the industrial safety, accident prevention, DIN VDE and /or other safety regulations
- Modifications or conversations tot he rotary actuator which are carried out improperly or without the manufacturer´s prior approval.
- Defective assembly, electrical connection errors, incorrect commissioning and non-permissible operation.
- Unsuitable or improper use and for other than the intended purpose or during other than the agreed operating conditions.
If the above limitations are violated the user alone bears the risk in the event of bodily injury and /or damage to property!
Product Specification
Component parts
Type M130 The reversible motor receives its operating voltage via a suitable switching element (controller, relay or switch). The rotary motion of the motor is, geared down by spur wheel gear, transferred to the driving shaft and thus serves to move the coupled armature. Installed, travel-dependent end position switches (WE) switch off the motor as soon as the adjustment switching point of the travel-dependent end position switch (WE) has been reached.
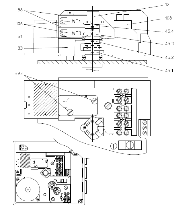
Sectional drawing

| position | name | position | name | |
| 8 | Position indication | 180 | Potentiometer-attachment set | |
| 15 | Gear with shaft | 200 | Bonnet | |
| 16 | Gear housing | 230 | Cable inlet with traction relief | |
| 33 | Cover | Pg 13,5 | ||
| 34 | Turning button | 231 | Penetration diaphragm for | |
| 45 | Cam disk | Cable inlet Pg 11 | ||
| 61 | Clamp strap | 242 | RD sealing ring (O-Ring) | |
| 101 | Motor | 360 | Screw | |
| 102 | Capacitor | 480 | Nameplate | |
| 105 | Potentiometer as P1 | 481 | Circuit diagram in the bonnet | |
| 106 | Limit switch | |||
| 108 | KTerminal strip | |||
| 110 | Main plate |
Proper use
Rotary actuators of the series described here serve to adjuyt final control elements, e.g. mixers, btterfly valves, ball valves etc.
The technical data of the rotary actuators and the requirements of the supply net apply as listed on the nameplate. Each use other than the use established and stipulated above, deviating tasks, as well as operation within the admissible mains conditions, is considered to be improper use; the user alone bears the risk for man and equipment as well as other material assets. Proper use also includes compliance with the accident prevention regulation, DIN VDE regulations and safety-oriented working method for all measures described in these operating instructions, taking the usual technical rules into account.
Limits of use and design structure oft he rotary actuators
The rotary actuators correspond tot he latest state-of-the-art and are functional when used their intended purpose as well as during operations with the technical data agreed on the nameplate. Function ability can be impaired causing danger to people or material damage if:
- Assembly, adjustment and/or commissioning are not carried out properly in accordance with the guidelines contained in these operating instructions.
- The supply voltage (mains conditions) on the rotary actuators does not comply with the rules of the energy supply company and/or are not with in the permissible toerances as specified by DIN VDE!
- Ambient conditions are extremely above/below the customary values (atmospheric temperature, humidity, moisture, dust etc.).
- When suitable or defective accessories or replacement parts are used.
- Only use original accessories and spare parts!
- For the structure oft he rotary actuators with motor, gear housing and driving shaft, please refer to Fig.2
| TYPE | M130 |
| Voltage V AC | 230 -10% +6% |
| Frequency HZ | 50 oder 60 +/-5% |
| Protection type | IP 54 |
| Ambiente temperature °C | 0…+50 |
| Weight kg | 1,2 |
Special accessories
Special assessories (option) are only included in the scope of delivery of the rotary actuators if expressly ordered (order specification)! The rotary actuators are prepared for retrofitting with the following:
- Potential-free limit switches max.2pcs.
- Potentiometer attachment setP1
Assembly instructions for these special accessories are available separately and are supplied together with the above-mentioned components.
Assembly
Danger
To ensure safe operation oft he rotary actuators they must be properly assembled and commissioned by qualified personnel observing the warning instructions contained in these operating instructions. In particular the general installation and safety rules for heating-ventilation-air conditioning and pipeline installation must be observed, as well as correct use of tools, welding equipment and personal protection as well as other safety equipment. Failure to observe the above instruction may cause death, serious bodily injury or major material damage!
Points to observe before assembly and installation into the pipeline!
- Store rotary actuators and/or complete final control elements in dry place until assembly!
- Transportation and storage temperature: -20 to +65°C.
- Rotary actuators/final control elements must be protected against external forces (impact, vibration, etc.)
- At mounting location: take clearance into account to remove the bonnet (200) height 160 mm min.
- Immediately before installation remove protective covers from the final control elements!
Installation
- Clean pipeline thoroughly (rinse) before final control element is assembled. Dirt/foreign substances, welding residue, rust, assembly waste etc. may cause functional disturbances, possible damage to the final control elements!
- Provide dirt catchers/filters in front of the final control elements
- Mechanical stress (forces and moments) of the final control elements, e.g. caused by pipelines expansion at operating temperature, are not permitted.
Provide compensators! - Connect pipelines free of tension; there must be no offset of the angle, center or length of the final control element connections!
- Only use precisely fitting gaskets. Insert flange gaskets with inside diameter ≥DN centrically!
- After the installation of the rotary actuators/final control elememts has been completed, cover them to protect against moisture and dirt until commissioning!
Mounting position:
Rotary actuators are not allowed to be arranged in a suspended manner

Assembly/Disassembly possibilities of the rotary actuators
In case of separate delivery of the rotary actuators and final control element the assembly can be imple-mented acc. to the relevant attachment set.
The direction of the rotation scale in the position indication can be assigned to respective end position of the final control element by twisting out and turning by 180°.

Removal oft he bonnet
- In existing plants the rotary actuator must be disconnected before carrying out any kind of work!
- In case of new plants check if the power supply is safely disconnected from the mains before starting work!
- The bonnet (200) protects the rotary actuator and provides personal safety for the operating and maintenance staff!
- The bonnet may only be removed temporarily!
- Operation without bonnet is not permitted and endangers your safety!
Removal oft he bonnet (200):
To adjust the motor electronics or subsequent retrofitting of special accessories, please proceed as follows: After loosening the screws (360), grip the bonnet (200) and pull it off. To replace the bonnet proceed in reverse sequence. At every assembly make sure that the bonnet has got a perfect seat (is leak-proof).

Electrical connection
Danger!
Connecting these rotary actuators to the mains and commissioning them demands expertise in the erection of high voltage current systems EN 60204 (DIN VDE 0100/0113), knowledge of the accident prevention regulations and the special commissioning conditions for these rotary actuators. This work may only be carried out by qualified personal, as described. Failure to observe the above instructions may cause death, serious bodily injury or major material damage!
- Always disconnect the voltage supply before connecting to mains!
- The DIN VDE regulations and stipulations of the local energy supply company must be observed when laying electrical lines and making the connection.
- Check that the mains/connection voltage agrees with the specifications on the nameplate of the rotay actuator!
- The cable cross-section must always be laid out acc. To the actuator output and the necessary line length.
In adequate cable cross-section is the frequent cause of “operating disturbances”! - Lead the line through the cable entry in the gear housing to the terminal strip, as shown in the circuit diagram, and tighten the screw connections.
It´s essential to connect the PE grounding to the identified terminal! - A circuit diagram is provided in the bonnet (200)
- Caution: The rotary actuators M130 whose electrical supply comes from the same signal transmitters must have the same mass potential!
Important:
Always lay the main lines (voltage >48V) separately from the signal and control lines (voltage >48V)!If all lines are laid into a common cable duct, sheathed cables must be used for the control lines! - If the required tolerance of the supply voltage cannot be maintained with a mains transformer, an alternating voltage stabilizer must be provided!

Caution:
Connection of several actuators via one output contact is not permitted! One coupling relay must be provided for each actuator.
Setting the limit end position switch WE1 and WE2
The limit end position switches, WE1 and WE2 in circuit diagrams shut off the motor travel-dependently.
- The factory setting may not be adjusted at delivery of the actuator with final control element.
- In case of separate delivery of actuator and final control element the limit end position switches WE1 and WE2 must be adjusted.
Setting special accessories
- Special accessories are only included in the scope of supply of the rotary actuators if expressly ordered (order specification)!
- The warning instructions in these operating instructions and safety regulations must be absolutely observed when carrying out any kind of work!
- Assembly instructions for special accessories are separately available and are supplied together with the respective components.
Setting of limit end position switches and potential free limit switches
The cam disks on the driving shaft can be set, independent of each other, as follows: The cam disk are assigned in their height to the respective limit switch.
- Adjust the cam disks 45.1 and 45.2 for the limit end position switches WE1 and WE2.
- Adjust the cam disks 45.3 and 45.4 for the potential-free limit switches WE3 and WE4
Cam disk:
- Move actuator manually (via manual operation, Page 34) or electrically into the desired position.
- Switch off motor and twist the respectige cam disk with the aid of a screwdriver, which is inserted into the groove of the cam disk, on the driving shaft until the limit switch switches.
Setting a potentiometer
After the rotary actuator has been mounted on the final control element, the potentiometer (105) as P1 must be set as follows:
- Electrically move the actuator into the end position, with closed final control element.
- When doing so, keep an eye on the direction of rotation of potentiometer axle P1.
- Carefully furn potentiometer axle P1 into the established direction by means of a screwdriver up to the stop.


Operation and commissioning
The following describes the operation and commissioning oft he rotary actuators. Assembly, installation and balancing (setting) must have been fully completed!
If readjustment is required, please refer to Section 3!
Selection of the mode of operation
Manual adjustment is possible in connection with the respective attachment set. The attachment set can also be supplied by the manufacturer/supplier or must be made available on site.
Manual adjustment
Rotary button in position
MAN (manual adjustment) must be turned until a stop can be noticed. Subsequently the final control element can be adjusted by means of a hand lever. Any excessive force (greater than usual) will cause material damage and must be avoided!
Automatic operation
For automatic operation turn the rotary button to the following position AUTO (automatic mode) until a stop can be noticed.
Commissioning
Caution: Before each commissioning of a new system, after conversion work and repairs, it is essential that:
- Proper completion of all installation/ assembly work must be assured!
- Switching can be carried out without any danger to persons or equipment or the system must be assured!
- The actuator/ actuator bonnet must be closed and secured!
- The system must have been rinsed, filled and bled!
- The final control element seals and pipeline connections must have been chacked for leakage!
- For automatic operation the rotary button must be in AUTO position and the gear must be latched!
- Check to be sure that the motor switches off in the end positions (limit end position switch)!
- Check the output signal of the respective controller and the rotary actuators sense of action. If necessary, correct as described.
Operational monitoring of the rotary actuator is not required!

Care and maintenance
The rotary actuators are low in maintenance; routine or periodic maintenance is not necessary! The rotary actuators should be wiped clean with dry rag at operation-dependent regulation intervals. When cleaning (the system):
- Do not use water/steam jet to clean electrical appliances. Danger of short-circuit!
- Do not use aggressive or highly inflammable solvents or cleaning agents, those are harmful to health!
Possible operational disturbances
In the event of unsatisfactory or abnormal operating behavior, first ensure that the assembly and setting have been carried out correctly without any mistakes. To detect the fault, proceed step-by-step and pay attention to the safety regulations!
- Please understand that detection and elimination of faults by the supplier/manufacturer cannot be free of charge if possible disturbances are not attributable tot he rotary actuator!
- Disturbances caused by improper handling, a faulty electrical connection or use other than the intended one are not covered by any warranty; the user alone bears the risk!
Repair
If the rotary actuator does not work properly follow the sequence of operations described below in order to remedy the fault:
- Check whether the rotary actuator was correctly assembled.
- Check the settings for the rotary actuator against the specifications on the type plate.
- Remedy the fault by following the check list.
- Check list for breakdown
- If you are unable to remedy the fault contact the manufacturer.
- For all queries at the manufacturer’s and when sending back the device please quote the following :
- SN (serial number = order number)
- Type denomination
- Supply voltage and frequency
- Accessory equipment
- Error report
- If you are unable to remedy the fault despite inquiry you can send the device to the manufacturer.
Check list for operational disturbances
| Disturbance | Possible cause | Debugging |
| 1. Rotary actuator does not work properly
| – Rotary button (34) is in MAN position instead of AUTO.
– Power failure.
– Blown fuse.
– Rotary actuator connected erroneously.
– Short-circuit caused by: moisture wrong connection
– Motor has got winding damage (burn out), e.g. due to excessive voltage. | – Put rotary button in AUTO position latch gear
– Locate and eliminate the cause.
– Locate and eliminate the cause. Change the fuse.
– Connect correctly as per circuit diagram (in the bonnet 200).
– Precisely establish the cause, – dry rotary actuator, if necessary, replace screw connections and/or attach protective bonnet –correct connection, see above.
– Determine the cause, measure the current data, compare with nameplate and Table. Exchange motor, possible dismount rotary actuator and send in for repair. |
| 2. Rotary actuator runs unstably, that means, it oscillates between the clockwise and conterclockwise run. | – Voltage drop because power leads too long and/or cross-section too small
– Mains fluctuations higher than the premissible tolerance | – Measure current data on the rotary actuator, if necessary recalculate line length and replace! – Iprove main conditions. |
| 3. Rotary actuator cuts out intermittently. | – Supply line has got a loose contact.. | – Examinate and tighten connections |
| 4. Rotery actuator does not move into the end positions. Final control element does not close/open. | – Limit switches mis adjusted – Motor´s operating capacitor defective. – System pressure too high – Foreign matter in final control element | – Newty adjust end position switch. – Exchange main plate. – Correct the system pressure. – Remove foreign matter and clean final control element. |
Explanation
- V AC = Mains voltage
- Hz = Mains frequency
- W = Motor rated capacity
- mA = Signal current
- IP… = Protection type
- ED = Switch on period
- s/…° = Travel time…° angle of rotation
- Nm = Torque
- F.-Nr. = Manufacturing no. and manufacturing date





















